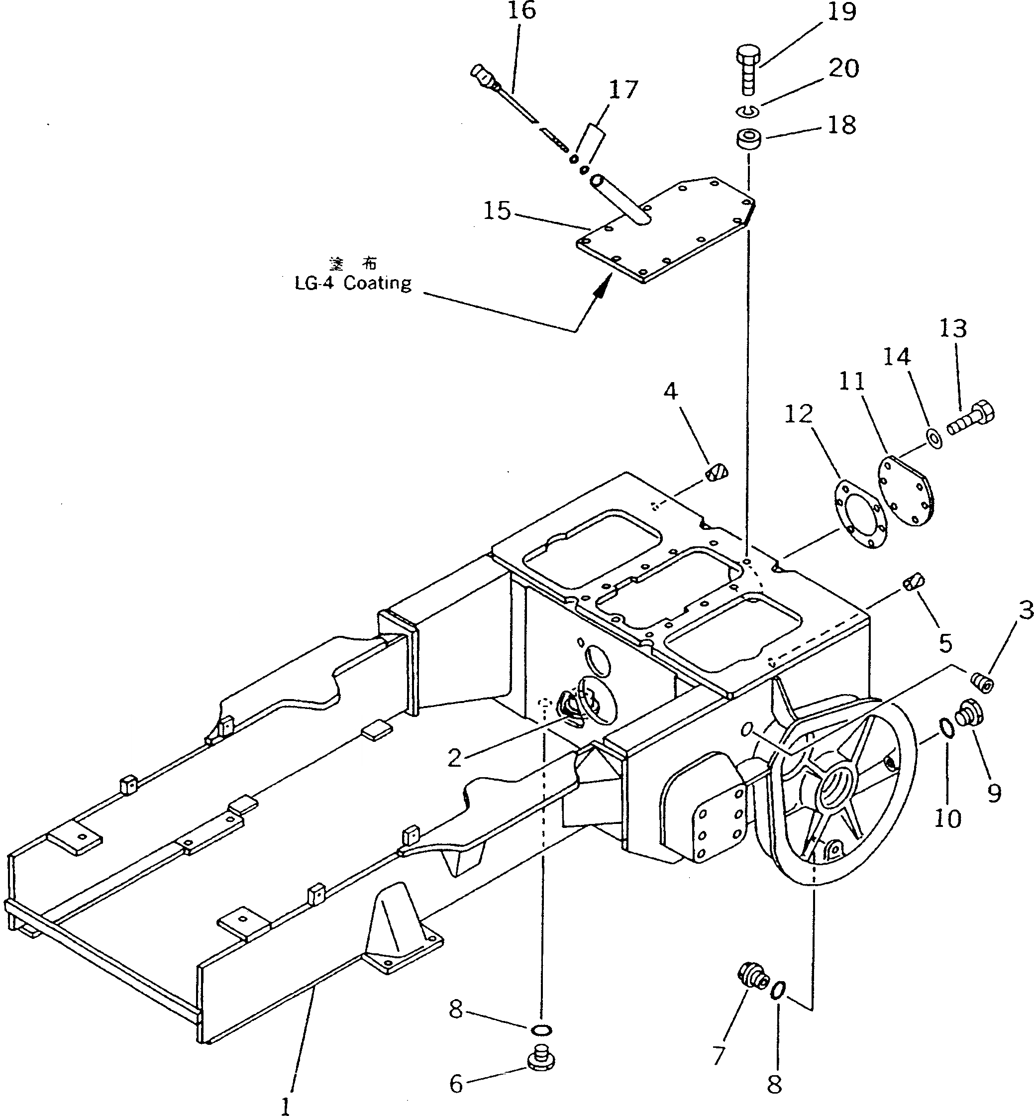
Запчасти Komatsu D21Q-6 КОРПУС БЛОКА УПРАВЛЕНИЯ ПОВОРОТОМ И ОСНОВНАЯ РАМА ОСНОВН. МУФТА¤ТРАНСМИССИЯ¤ РУЛЕВ. УПРАВЛЕНИЕ И КОНЕЧНАЯ ПЕРЕДАЧА

Схема запчастей Komatsu D21Q-6 - КОРПУС БЛОКА УПРАВЛЕНИЯ ПОВОРОТОМ И ОСНОВНАЯ РАМА ОСНОВН. МУФТА¤ТРАНСМИССИЯ¤ РУЛЕВ. УПРАВЛЕНИЕ И КОНЕЧНАЯ ПЕРЕДАЧА
FIT
1:1
100%

Артикул

Название

Примечание

Количество

|1

103-21-00111

MAIN FRAME ASS'Y

SN: 60001-UP

1шт.

|1

0

MAIN FRAME ASS'Y

SN: (60001-60406)

1шт.

1

0

FRAME

SN: 60407-UP

1шт.

|1

0

FRAME

SN: 60001-60406

1шт.

2

103-21-21181

BOSS (WELDED)

SN: 60001-UP

2шт.

3

07043-01019

PLUG

SN: 60001-UP

2шт.

4

07049-01822

PLUG

SN: 60001-UP

16шт.

5

07049-01012

PLUG

SN: 60001-UP

4шт.

6

07040-12414

PLUG

SN: 60001-UP

2шт.

7

07044-12412

PLUG

SN: 60001-UP

3шт.

8

07002-02434

O-RING

SN: 60001-UP

5шт.

9

07040-13016

PLUG

SN: 60001-UP

2шт.

10

07002-03034

O-RING

SN: 60001-UP

2шт.

11

101-21-11170

PLATE

SN: 60001-UP

1шт.

12

101-21-11160

GASKET

SN: 60001-UP

1шт.

13

01010-51020

BOLT

SN: 60001-UP

6шт.

14

01643-31032

WASHER

SN: 60001-UP

6шт.

15

103-21-31211

COVER

SN: 60001-UP

1шт.

16

103-21-21231

GAUGE

SN: 60001-UP

1шт.

17

07002-02434

O-RING

SN: 60001-UP

2шт.

18

103-21-31260

BOSS

SN: 60001-UP

11шт.

19

01010-51045

BOLT

SN: 60001-UP

11шт.

20

01602-21030

WASHER,SPRING

SN: 60001-UP

11шт.

Выбрано товаров: 23