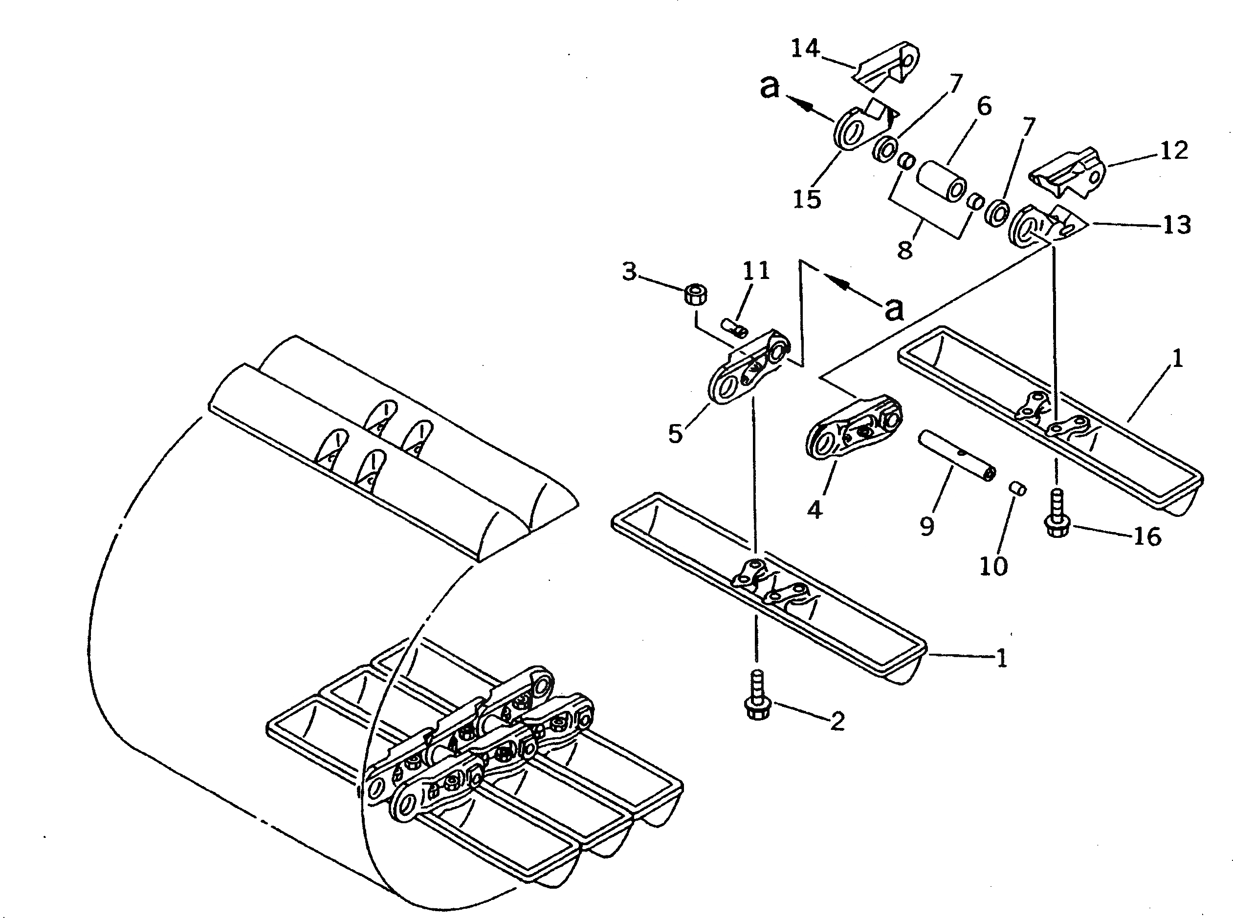
Запчасти Komatsu D21Q-6 ГУСЕНИЦЫ (СМАЗЫВ. ТИПА) (БОЛОТН.) ГУСЕНИЦЫ

Схема запчастей Komatsu D21Q-6 - ГУСЕНИЦЫ (СМАЗЫВ. ТИПА) (БОЛОТН.) ГУСЕНИЦЫ
FIT
1:1
100%

Артикул

Название

Примечание

Количество

|$$1

510MM WIDE

-1шт.

|1

10G-32-02201

TRACK SHOE ASS'Y

SN: 60611-UP

1шт.

|1

0

TRACK SHOE ASS'Y

SN: 60001-60610

1шт.

1

10G-32-11110

SHOE,TRACK

SN: 60001-UP

74шт.

2

10G-32-11212

BOLT¤ SHOE (KIT)

SN: 60611-UP

288шт.

|2

10G-32-11210

BOLT¤ SHOE (KIT)

SN: 60001-60610

288шт.

3

201-32-11220

NUT¤ SHOE (KIT)

SN: 60611-UP

288шт.

|3

01803-01218

NUT¤ SHOE (KIT)

SN: 60001-60610

288шт.

|4

102-32-00110

TRACK LINK ASS'Y

SN: 60001-UP

1шт.

4

101-32-11121

LINK,TRACK¤ L.H.

SN: 60001-UP

72шт.

5

101-32-11131

LINK,TRACK¤ R.H.

SN: 60001-UP

72шт.

6

101-32-14140

BUSHING

SN: 60001-UP

74шт.

7

101-32-14160

SEAL ASS'Y

SN: 60001-UP

148шт.

8

101-32-14190

SPACER

SN: 60001-UP

148шт.

9

101-32-14150

PIN

SN: 60001-UP

74шт.

10

07059-11222

PLUG,LARGE

SN: 60001-UP

74шт.

11

07059-20721

PLUG,SMALL

SN: 60001-UP

74шт.

12

101-32-21220

LINK,MASTER¤ L.H.¤ PIN SIDE

SN: 60001-UP

2шт.

13

101-32-21230

LINK,MASTER¤ L.H.¤ BUSHING SIDE

SN: 60001-UP

2шт.

14

101-32-21320

LINK,MASTER¤ R.H.¤ PIN SIDE

SN: 60001-UP

2шт.

15

101-32-21330

LINK,MASTER¤ R.H.¤ BUSHING SIDE

SN: 60001-UP

2шт.

16

101-32-21260

BOLT,MASTER

SN: 60001-UP

8шт.

|$$23

SERVICE KIT

-1шт.

|1

10G-32-05001

SHOE BOLT AND NUT K.

SN: 60611-UP

1шт.

|1

0

SHOE BOLT AND NUT K.

SN: 60001-60610

1шт.

1

10G-32-11212

BOLT¤ SHOE

SN: 60611-UP

50шт.

|1

10G-32-11210

BOLT¤ SHOE

SN: 60001-60610

50шт.

2

201-32-11220

NUT¤ SHOE

SN: 60611-UP

50шт.

|2

01803-01218

NUT¤ SHOE

SN: 60001-60610

50шт.

|$$30

OVERSIZE PARTS

-1шт.

|$$31

SELECT AS REQUIRED NOT NECESSARY TO USE ALL OF THE OVERSIZE PARTS.

-1шт.

|$$32

0.10MM OVERSIZE

-1шт.

6

101-98-09210

BUSHING

SN: 60001-UP

-2шт.

9

101-98-09070

PIN

SN: 60001-UP

-2шт.

|$$35

0.18MM OVERSIZE

-1шт.

6

101-98-09220

BUSHING

SN: 60001-UP

-2шт.

9

101-98-09080

PIN

SN: 60001-UP

-2шт.

Выбрано товаров: 37