Запчасти Komatsu D21Q-6 ПОГРУЗ. РАМА И ПОЛ КАБИНЫ (КАБИНА ROPS) (ДЛЯ ОБОГРЕВАТЕЛЬ.) ЧАСТИ КОРПУСА

Схема запчастей Komatsu D21Q-6 - ПОГРУЗ. РАМА И ПОЛ КАБИНЫ (КАБИНА ROPS) (ДЛЯ ОБОГРЕВАТЕЛЬ.) ЧАСТИ КОРПУСА
FIT
1:1
100%

Артикул

Название

Примечание

Количество

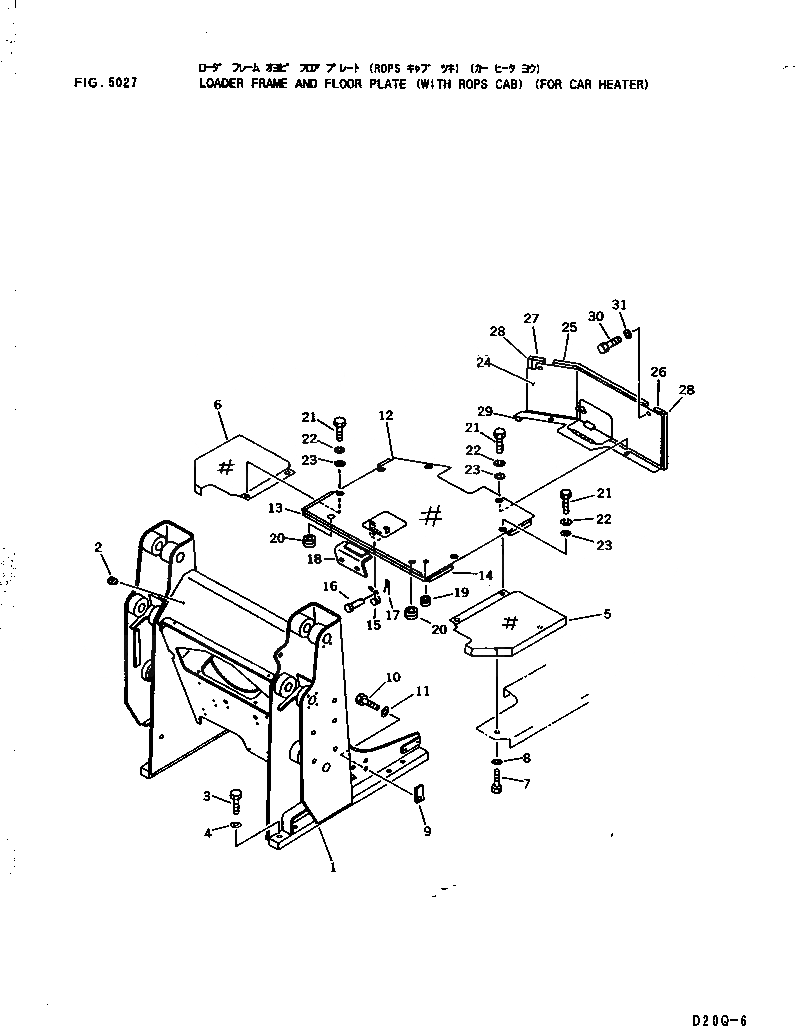
1

103-70-33110

FRAME,LOADER

SN: 60001-UP

1шт.

2

07049-01418

PLUG

SN: 60001-UP

2шт.

3

01010-51655

BOLT

SN: 60001-UP

12шт.

4

01643-31645

WASHER

SN: 60001-UP

12шт.

5

103-54-33120

FENDER,L.H.

SN: 60001-UP

1шт.

6

103-54-33130

FENDER,R.H.

SN: 60001-UP

1шт.

7

01010-51025

BOLT

SN: 60001-UP

4шт.

8

01602-21030

WASHER,SPRING

SN: 60001-UP

4шт.

9

103-54-23160

PLATE

SN: 60001-UP

2шт.

10

01010-51030

BOLT

SN: 60001-UP

2шт.

11

01643-31032

WASHER

SN: 60001-UP

2шт.

12

103-54-39550

PLATE,FLOOR

SN: 60001-UP

1шт.

13

103-B62-1930

SEAL

SN: 60001-UP

1шт.

14

103-B62-1940

SEAL

SN: 60001-UP

2шт.

15

09463-00006

SPRING

SN: 60001-UP

1шт.

16

04205-10618

PIN

SN: 60001-UP

2шт.

17

04050-01610

PIN,COTTER

SN: 60001-UP

2шт.

18

103-54-33210

BRACKET

SN: 60001-UP

1шт.

19

08037-01008

GROMMET

SN: 60001-UP

1шт.

20

08037-02512

GROMMET

SN: 60001-UP

2шт.

21

01010-51025

BOLT

SN: 60001-UP

6шт.

22

01602-21030

WASHER,SPRING

SN: 60001-UP

6шт.

23

01643-31032

WASHER

SN: 60001-UP

6шт.

24

103-B62-1910

COVER

SN: 60001-UP

1шт.

25

103-B62-1920

SEAL

SN: 60001-UP

1шт.

26

103-B62-1860

SEAL

SN: 60001-UP

1шт.

27

103-B62-1890

SEAL

SN: 60001-UP

1шт.

28

103-A62-1811

SEAL

SN: 60001-UP

2шт.

29

103-A62-1860

SEAL

SN: 60001-UP

1шт.

30

01010-51025

BOLT

SN: 60001-UP

2шт.

31

01602-21030

WASHER,SPRING

SN: 60001-UP

2шт.

Выбрано товаров: 31