Запчасти Komatsu D21Q-7-M КОВШ РАБОЧЕЕ ОБОРУДОВАНИЕ

Схема запчастей Komatsu D21Q-7-M - КОВШ РАБОЧЕЕ ОБОРУДОВАНИЕ
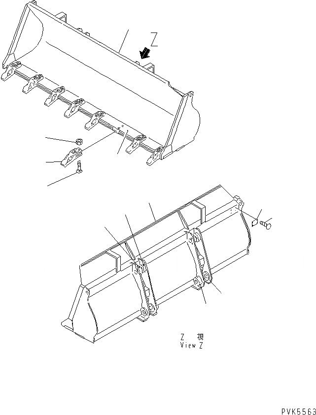
1
1
2
3
4
5
6
7
8
9
10
11
FIT
1:1
100%

Артикул

Название

Примечание

Количество

1

10K-70-21310

BUCKET

SN: 61132-UP

1шт.

2

10K-70-11120

EDGE (WELDED)

SN: 61132-UP

1шт.

3

103-70-22150

BOSS (WELDED)

SN: 61132-UP

2шт.

4

103-70-22160

BOSS (WELDED)

SN: 61132-UP

2шт.

5

103-70-32210

PLATE (WELDED)

SN: 61132-UP

2шт.

6

103-70-32220

PLATE (WELDED)

SN: 61132-UP

2шт.

7

103-70-22140

TOOTH

SN: 61132-UP

8шт.

8

113-70-22160

BOLT

SN: 61132-UP

16шт.

9

113-70-22280

NUT

SN: 61132-UP

16шт.

10

09601-00835

PLATE¤ NAME

SN: 61132-UP

1шт.

11

04418-13060

SCREW

SN: 61132-UP

4шт.

Выбрано товаров: 11