Запчасти Komatsu D21Q-7 ЗАДН. КРЫШКА И ГИДР. БАК. ЧАСТИ КОРПУСА

Схема запчастей Komatsu D21Q-7 - ЗАДН. КРЫШКА И ГИДР. БАК. ЧАСТИ КОРПУСА
FIT
1:1
100%

Артикул

Название

Примечание

Количество

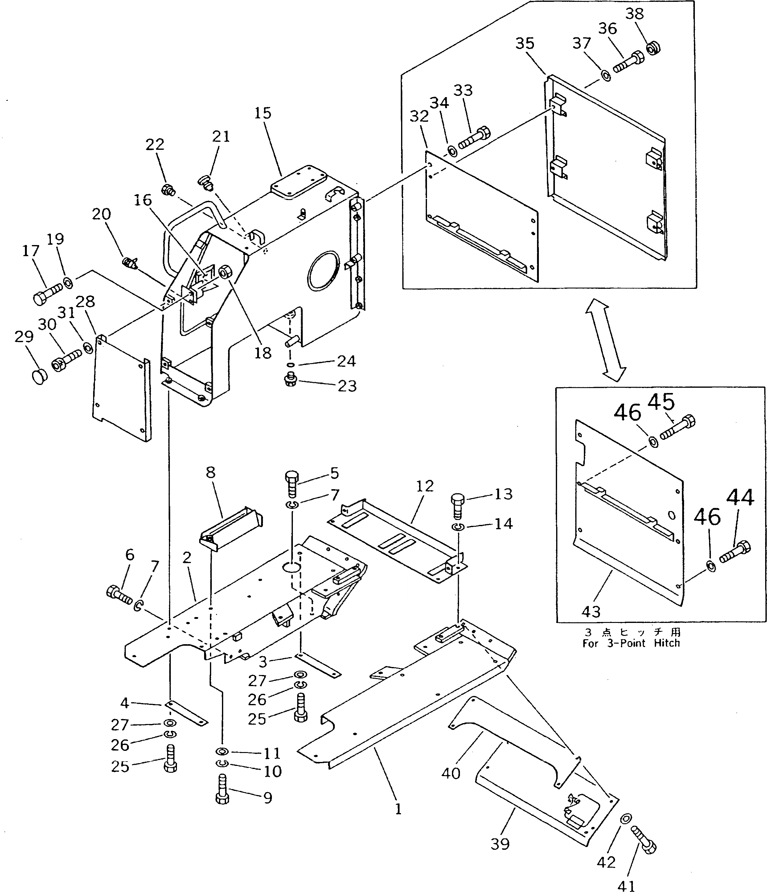
1

104-54-34410

FENDER,L.H.

SN: 61001-@

1шт.

2

103-54-34421

FENDER,R.H.

SN: 61001-@

1шт.

3

103-54-34450

PLATE

SN: 61001-@

1шт.

4

103-54-34460

PLATE

SN: 61001-@

1шт.

5

01010-51435

BOLT

SN: 61001-@

8шт.

6

01010-51440

BOLT

SN: 61001-@

4шт.

7

01602-21442

WASHER,SPRING

SN: 61001-@

12шт.

8

103-54-34440

BOX

SN: 61001-@

1шт.

9

01010-50820

BOLT

SN: 61001-@

3шт.

10

01602-20825

WASHER,SPRING

SN: 61001-@

3шт.

11

01643-30823

WASHER

SN: 61001-@

3шт.

12

103-54-34430

PLATE

SN: 61001-61131

1шт.

|12

103-54-39510

PLATE,(FOR ADDITIONAL FUEL STRAINER)

SN: 61001-61131

1шт.

13

01010-51020

BOLT

SN: 61001-@

4шт.

14

01602-21030

WASHER,SPRING

SN: 61001-@

4шт.

15

104-54-34311

CASE

SN: 61001-61131

1шт.

|15

104-54-39420

CASE,(FOR 3-POINT HITCH)

SN: 61001-61131

1шт.

|15

104-54-39420

CASE,(FOR BACK-UP ALARM)

SN: 61001-61131

1шт.

16

09461-00020

LEVER ASS'Y (WELDED)

SN: 61001-@

1шт.

17

01010-51025

BOLT

SN: 61001-@

2шт.

18

01580-01008

NUT

SN: 61001-@

2шт.

19

01643-31032

WASHER

SN: 61001-@

2шт.

20

205-60-71220

LOCK ASS'Y

SN: 61001-@

1шт.

21

10E-03-11130

CAP

SN: 61001-@

1шт.

22

20N-60-11142

GAUGE

SN: 61076-@

1шт.

|22

0

GAUGE

SN: 61001-61075

1шт.

|22

20N-60-11181

GASKET

SN: 61076-@

1шт.

|22

0

GASKET

SN: 61001-61075

1шт.

23

07044-12412

PLUG

SN: 61001-@

1шт.

24

07002-02434

O-RING

SN: 61001-@

1шт.

25

01010-51240

BOLT

SN: 61001-@

4шт.

26

01602-21236

WASHER,SPRING

SN: 61001-@

4шт.

27

01643-31232

WASHER

SN: 61001-@

4шт.

28

104-54-34340

COVER,R.H.

SN: 61001-@

1шт.

29

114-54-43260

PLUG

SN: 61001-@

4шт.

30

01252-30825

BOLT

SN: 61001-@

4шт.

31

01643-30823

WASHER

SN: 61001-@

4шт.

32

104-54-34150

COVER

SN: 61001-61131

1шт.

33

01010-51445

BOLT

SN: 61001-@

4шт.

34

01643-31445

WASHER

SN: 61001-@

4шт.

35

104-54-34160

COVER

SN: 61001-@

1шт.

36

01010-51030

BOLT

SN: 61001-@

4шт.

37

01643-31032

WASHER

SN: 61001-@

4шт.

38

09415-02512

CAP

SN: 61001-@

4шт.

39

103-54-34151

COVER

SN: 61001-61131

1шт.

40

103-54-34160

BRACKET

SN: 61001-61131

1шт.

41

01010-51435

BOLT

SN: 61001-@

4шт.

42

01643-31445

WASHER

SN: 61001-@

4шт.

43

104-54-34190

COVER,(FOR 3-POINT HITCH)

SN: 61001-61131

1шт.

44

01010-51430

BOLT

SN: 61001-@

2шт.

45

01010-51450

BOLT

SN: 61001-@

4шт.

46

01643-31445

WASHER

SN: 61001-@

6шт.

Выбрано товаров: 52