Запчасти Komatsu D21S-5 МАРКИРОВКА (ПОРТУГАЛ.) (СПЕЦ-Я TBG)(№78-) ОПЦИОННЫЕ КОМПОНЕНТЫ (СПЕЦ. APPLICATION ЧАСТИ)

Схема запчастей Komatsu D21S-5 - МАРКИРОВКА (ПОРТУГАЛ.) (СПЕЦ-Я TBG)(№78-) ОПЦИОННЫЕ КОМПОНЕНТЫ (СПЕЦ. APPLICATION ЧАСТИ)
FIT
1:1
100%

Артикул

Название

Примечание

Количество

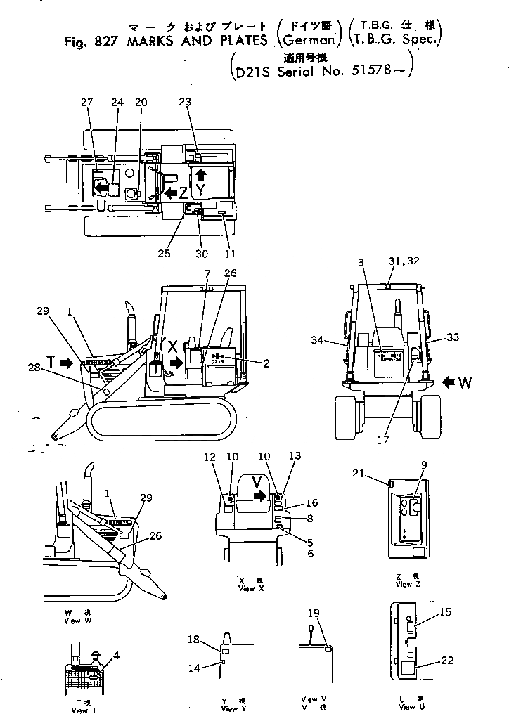
1

09690-00355

PLATE, MARK,KOMATSU

SN: 51578-UP

2шт.

2

09691-02213

PLATE, MARK,D21S

SN: 51578-UP

2шт.

3

09692-02213

PLATE, MARK,KOMATSU D21S

SN: 51578-UP

1шт.

4

10E-54-23110

PLATE, MARK,SYMBOL

SN: 51578-UP

1шт.

5

09601-20835

PLATE, NAME

SN: 51578-UP

1шт.

6

04418-13060

SCREW

SN: 51578-UP

4шт.

7

103-98-21950

CHART, OIL,OIL

SN: 51578-UP

1шт.

8

09656-21080

PLATE, INSTRUCTION,FUEL TANK STRAINER

SN: 51578-UP

1шт.

9

09683-21060

PLATE, OPERATING,STARTING SWITCH

SN: 51578-UP

1шт.

10

09685-00002

PLATE, OPERATING,TRANSMISSION AND BUCKET LOCK

SN: 51578-UP

2шт.

11

09652-21101

PLATE, CAUTION,FUEL TANK WATER DRAIN

SN: 51578-UP

1шт.

12

103-98-21550

PLATE, CAUTION,OIL FILTER

SN: 51578-UP

1шт.

13

09649-02001

PLATE, INSTRUCTION,ENGINE STOP

SN: 51578-UP

1шт.

14

09685-00001

PLATE, OPERATING,PARKING BRAKE LEVER CONTROL

SN: 51578-UP

1шт.

15

09668-02000

PLATE, SAFETY,RADEATOR CAP

SN: 51578-UP

1шт.

16

09657-02011

PLATE, SAFETY,TRACK SHOE ADJUSTING

SN: 51578-UP

1шт.

17

09653-02000

PLATE, SAFETY,HYDRAULIC TANK

SN: 51578-UP

1шт.

18

09654-02000

PLATE, SAFETY,STARTING AND PARKING

SN: 51578-UP

1шт.

19

09173-02000

PLATE, SAFETY,INSPECTION AND MAINTENANCE

SN: 51578-UP

1шт.

20

09663-02000

PLATE, SAFETY,ENGINE INSPECTION

SN: 51578-UP

1шт.

21

09651-02000

PLATE, SAFETY,BEFORE OPERATING

SN: 51578-UP

1шт.

22

09650-21103

PLATE, INSTRUCTION,RADIATOR

SN: 51578-UP

1шт.

23

09674-00001

PLATE, OPERATING,BUCKET LEVER CONTROL

SN: 15178-UP

1шт.

24

09637-81161

PLATE, INSTRUCTION,AIR CLEANER

SN: 51578-UP

1шт.

25

09679-02002

PLATE, OPERATING,HORN

SN: 51578-UP

1шт.

26

20T-98-22240

PLATE, SAFETY,KEEP OUT

SN: 51578-UP

2шт.

27

20T-98-22330

PLATE, SAFETY,ENGINE HOOD OPEN

SN: 51578-UP

1шт.

28

113-98-31531

PLATE, SAFETY,WORK EQUIPMENT LOCK

SN: 51578-UP

1шт.

29

154-98-13330

PLATE, CAUTION,ENGINE SIDE COVER OPEN

SN: 51578-UP

2шт.

30

362-54-17320

PLATE, OPERATING,ACCELERATOR

SN: 51578-UP

1шт.

31

09620-20200

PLATE, NAME

SN: 51578-UP

1шт.

32

04418-13060

SCREW

SN: 51578-UP

4шт.

33

205-00-63790

MARK,ZEBRA

SN: 51578-UP

1шт.

34

205-00-63810

MARK,ZEBRA

SN: 51578-UP

1шт.

Выбрано товаров: 34