Запчасти Komatsu D21S-5 ПАНЕЛЬ ПРИБОРОВ КОМПОНЕНТЫ ДВИГАТЕЛЯ И ЭЛЕКТРИКА

Схема запчастей Komatsu D21S-5 - ПАНЕЛЬ ПРИБОРОВ КОМПОНЕНТЫ ДВИГАТЕЛЯ И ЭЛЕКТРИКА
FIT
1:1
100%

Артикул

Название

Примечание

Количество

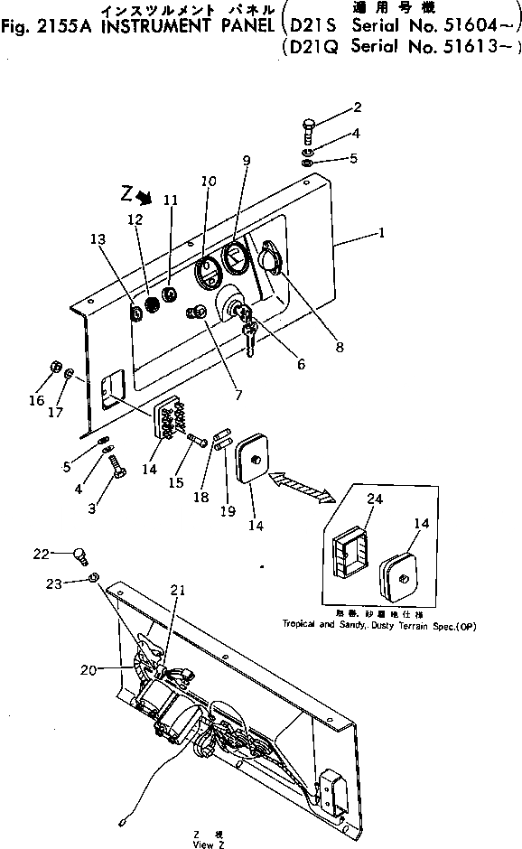
1

103-54-22110

DASHBOARD

SN: 45003-UP

1шт.

2

01010-31025

BOLT

SN: 45003-UP

3шт.

3

01010-31035

BOLT

SN: 45003-UP

3шт.

4

01602-01030

WASHER,SPRING

SN: 45003-UP

6шт.

5

01643-31032

WASHER

SN: 45003-UP

6шт.

6

08086-10000

SWITCH,STARTING

SN: 47464-UP

1шт.

7

08061-60010

SWITCH,LAMP

SN: 45003-UP

1шт.

8

113-06-22120

LAMP,PANEL

SN: 45003-UP

1шт.

9

203-06-21131

GAUGE,WATER TEMPERATURE

SN: 51604-UP

1шт.

10

103-06-22130

METER,SERVICE

SN: 51604-UP

1шт.

11

600-815-1361

SIGNAL,HEATER

SN: 45003-UP

1шт.

12

125-06-22210

LAMP,PRESSURE

SN: 45003-UP

1шт.

13

125-06-22220

LAMP,CHARGE

SN: 45003-UP

1шт.

14

125-06-21110

BOX,FUSE

SN: 45003-UP

1шт.

14

130-06-62160

BOX,FUSE(TROPICAL AND SANDY SPEC.)

SN: 48190-UP

1шт.

15

01220-40520

SCREW

SN: 45003-UP

2шт.

16

01580-00504

NUT

SN: 45003-UP

2шт.

17

01601-00513

WASHER,SPRING

SN: 45003-UP

2шт.

18

08040-01000

FUSE, 10A

SN: 45003-UP

2шт.

19

08040-02000

FUSE, 20A

SN: 45003-UP

1шт.

20

103-06-22111

WIRE ASS'Y

SN: 51604-UP

1шт.

21

08036-01414

CLIP

SN: 45003-UP

1шт.

22

01010-31016

BOLT

SN: 51604-UP

1шт.

23

01602-01030

WASHER,SPRING

SN: 51604-UP

1шт.

24

113-06-22310

COVER,DUST(TROPICAL AND SANDY SPEC.)

SN: 48190-UP

1шт.

Выбрано товаров: 25