Запчасти Komatsu D21S-5 ГУСЕНИЧНАЯ РАМА ГУСЕНИЦЫ

Схема запчастей Komatsu D21S-5 - ГУСЕНИЧНАЯ РАМА ГУСЕНИЦЫ
FIT
1:1
100%

Артикул

Название

Примечание

Количество

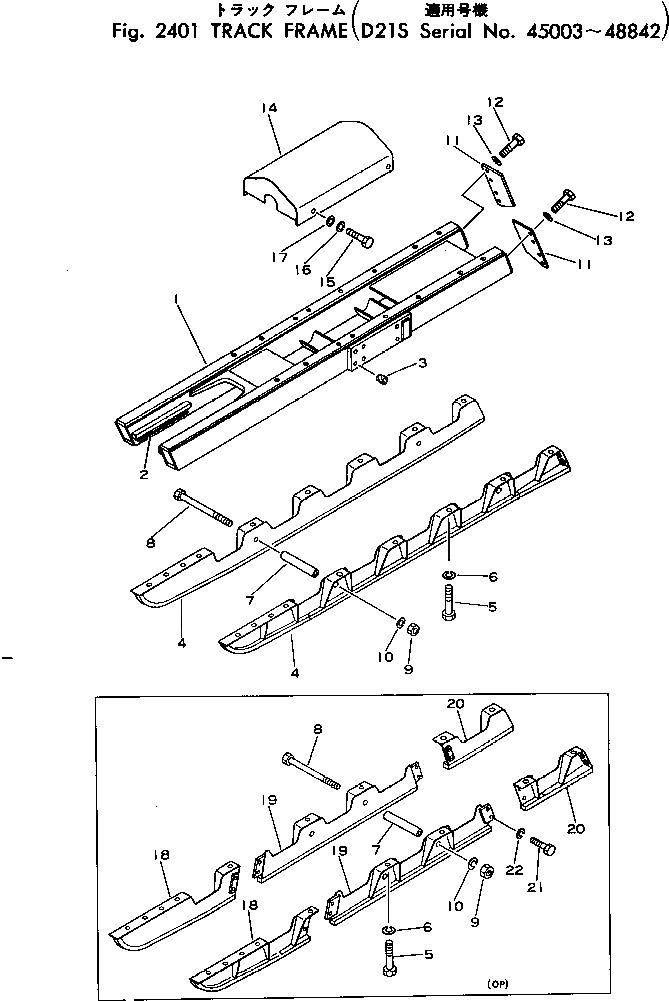
1

103-30-21110

FRAME,TRACK, L.H.

SN: 45003-@

1шт.

1

103-30-21120

FRAME,TRACK, R.H.

SN: 45003-@

1шт.

2

103-30-21130

PLATE

SN: 45003-@

2шт.

3

07049-01418

PLUG

SN: 45003-@

12шт.

4

103-30-22110

GUARD,OUTER, L.H. AND INNER, R.H.

SN: 45003-@

2шт.

4

103-30-22120

GUARD,INNER, L.H. AND OUTER, R.H.

SN: 45003-@

2шт.

5

01010-31425

BOLT

SN: 45003-@

36шт.

6

01602-01442

WASHER,SPRING

SN: 45003-@

36шт.

7

102-30-21161

COLLAR

SN: 45003-@

4шт.

8

01011-31485

BOLT

SN: 45003-@

4шт.

9

01580-01411

NUT

SN: 45003-@

4шт.

10

01602-01442

WASHER,SPRING

SN: 45003-@

4шт.

11

103-30-22130

GUARD

SN: 45003-@

4шт.

12

01010-31025

BOLT

SN: 45003-@

16шт.

13

01602-01030

WASHER,SPRING

SN: 45003-@

16шт.

14

103-30-27111

COVER

SN: 45003-@

2шт.

15

01010-31025

BOLT

SN: 45003-@

8шт.

16

01602-01030

WASHER,SPRING

SN: 45003-@

8шт.

17

01643-31032

WASHER

SN: 45003-@

8шт.

18

0

GUARD,OUTER, L.H. AND INNER, R.H.

SN: 45003-48842

2шт.

|$$21

(104-30-22111,104-30-22121,

-1шт.

|$$22

104-30-22131,104-30-22141)

-1шт.

18

0

GUARD,INNER, L.H. AND OUTER, R.H.

SN: 45003-48842

2шт.

|$$24

(104-30-22121,104-30-22111,

-1шт.

|$$25

104-30-22131,104-30-22141)

-1шт.

19

104-30-22150

GUARD,INNER, L.H. AND OUTER, R.H.

SN: 45003-48842

2шт.

19

104-30-22160

GUARD,INNER, L.H. AND OUTER, R.H.

SN: 45003-48842

2шт.

20

0

GUARD,OUTER, L.H. AND INNER, R.H.

SN: 45003-48842

2шт.

|$$29

(104-30-22131,104-30-22141,

-1шт.

|$$30

104-30-22111,104-30-22121)

-1шт.

20

0

GUARD,OUTER, L.H. AND INNER, R.H.

SN: 45003-48842

2шт.

|$$32

(104-30-22141,104-30-22131,

-1шт.

|$$33

104-30-22111,104-30-22121)

-1шт.

21

01010-31020

BOLT

SN: 45003-48842

16шт.

22

01602-01030

WASHER,SPRING

SN: 45003-48842

16шт.

Выбрано товаров: 0