Запчасти Komatsu D21S-5 РАДИАТОР И ТРУБЫ КОМПОНЕНТЫ ДВИГАТЕЛЯ И ЭЛЕКТРИКА

Схема запчастей Komatsu D21S-5 - РАДИАТОР И ТРУБЫ КОМПОНЕНТЫ ДВИГАТЕЛЯ И ЭЛЕКТРИКА
FIT
1:1
100%

Артикул

Название

Примечание

Количество

|$0

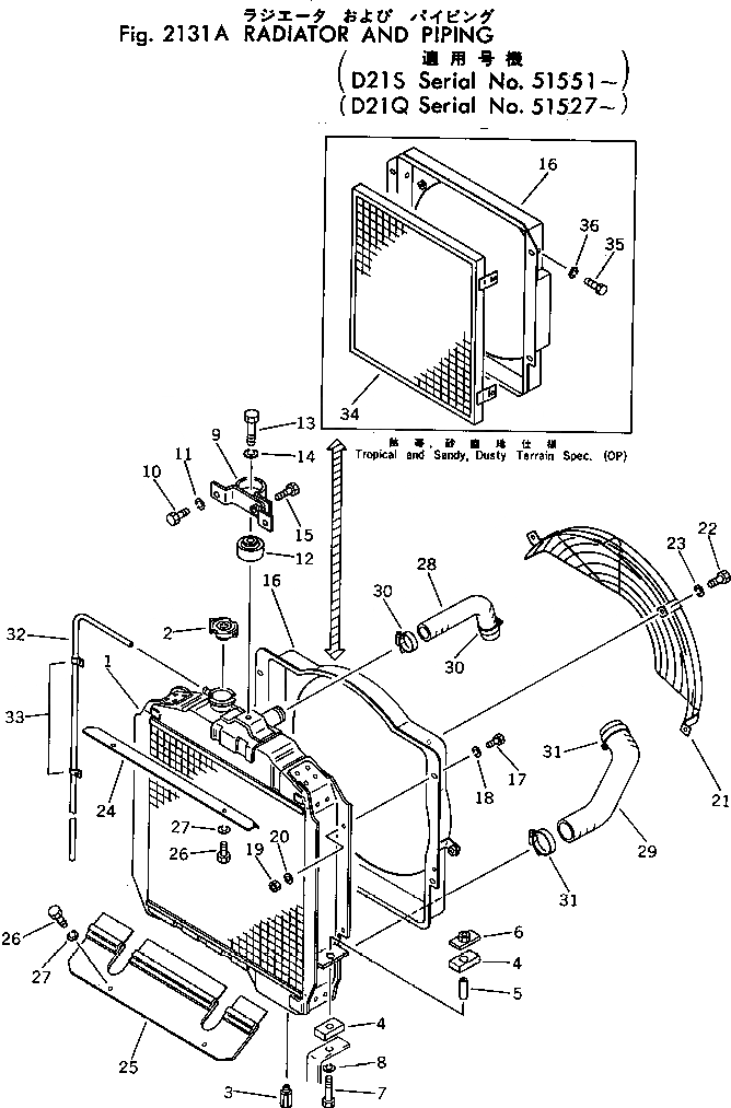
103-03-00021

RADIATOR ASS'Y

SN: 48190-UP

1шт.

|$1

103-03-00031

RADIATOR ASS'Y,(LARGE CAPACITY TYPE)

SN: 48190-UP

1шт.

1

0

CORE

SN: 48190-UP

1шт.

1

0

CORE,(LARGE CAPACITY TYPE)

SN: 48190-UP

1шт.

2

10E-03-11130

CAP

SN: 45003-UP

1шт.

3

07730-10003

VALVE

SN: 45003-UP

1шт.

4

100-03-12140

SEAT

SN: 45003-UP

4шт.

5

20T-03-11130

SPACER

SN: 45003-UP

2шт.

6

103-03-21160

PLATE

SN: 45003-UP

2шт.

7

01010-31060

BOLT

SN: 45003-UP

2шт.

8

01602-01030

WASHER,SPRING

SN: 45003-UP

2шт.

9

103-03-21192

BRACKET

SN: 45003-UP

1шт.

10

01010-31020

BOLT

SN: 45003-UP

2шт.

11

01602-01030

WASHER,SPRING

SN: 45003-UP

2шт.

12

135-03-12110

DAMPER

SN: 45003-UP

1шт.

13

01010-31460

BOLT

SN: 45003-UP

1шт.

14

01602-01442

WASHER,SPRING

SN: 45003-UP

1шт.

15

01010-31030

BOLT

SN: 45003-UP

1шт.

16

103-03-21121

SHROUD

SN: 51551-UP

1шт.

16

103-03-21342

SHROUD,(LARGE CAPACITY TYPE)

SN: 51551-UP

1шт.

16

103-03-29111

SHROUD,(SANDY, DUSTY TERRAIN SPEC.)

SN: 51551-UP

1шт.

17

01010-30816

BOLT

SN: 45003-UP

4шт.

18

01602-00825

WASHER,SPRING

SN: 45003-UP

4шт.

19

01580-00806

NUT

SN: 45003-UP

4шт.

20

01643-30823

WASHER

SN: 45003-UP

4шт.

21

103-03-21132

NET,WIRE

SN: 51551-UP

1шт.

21

103-03-21351

NET,WIRE (LARGE CAPACITY TYPE)

SN: 51551-UP

1шт.

22

01010-51025

BOLT

SN: 51551-UP

3шт.

23

01602-21030

WASHER,SPRING

SN: 51551-UP

3шт.

24

103-03-21240

BAFFLE,UPPER

SN: 45003-UP

1шт.

25

103-03-21223

BAFFLE,LOWER

SN: 45003-UP

1шт.

26

01010-31020

BOLT

SN: 45003-UP

4шт.

26

01010-31020

BOLT,(LARGE CAPACITY TYPE)

SN: 45003-UP

2шт.

27

01602-01030

WASHER,SPRING

SN: 45003-UP

4шт.

27

01602-01030

WASHER,SPRING (LARGE CAPACITY TYPE)

SN: 45003-UP

2шт.

28

103-03-21140

HOSE,UPPER

SN: 45003-UP

1шт.

28

103-03-21360

HOSE,UPPER (LARGE CAPACITY TYPE)

SN: 45003-UP

1шт.

29

103-03-21151

HOSE,LOWER

SN: 45003-UP

1шт.

30

07281-00489

CLAMP

SN: 45003-UP

2шт.

31

07281-00549

CLAMP

SN: 45003-UP

2шт.

32

113-03-21140

TUBE

SN: 48190-UP

1шт.

33

08036-10814

CLIP

SN: 48190-UP

2шт.

34

103-03-21410

GRID,CORE (SANDY,DUSTY TERRAIN S.)

SN: 48190-UP

1шт.

35

01010-30820

BOLT,(SANDY,DUSTY TERRAIN SPEC.)

SN: 48190-UP

4шт.

36

01602-00825

WASHER,(SANDY,DUSTY TERRAIN SPEC.)

SN: 48190-UP

4шт.

Выбрано товаров: 45