Запчасти Komatsu D21S-6 ЗАЩИТА РАДИАТОРА AND КАПОТ ЧАСТИ КОРПУСА

Схема запчастей Komatsu D21S-6 - ЗАЩИТА РАДИАТОРА AND КАПОТ ЧАСТИ КОРПУСА
FIT
1:1
100%

Артикул

Название

Примечание

Количество

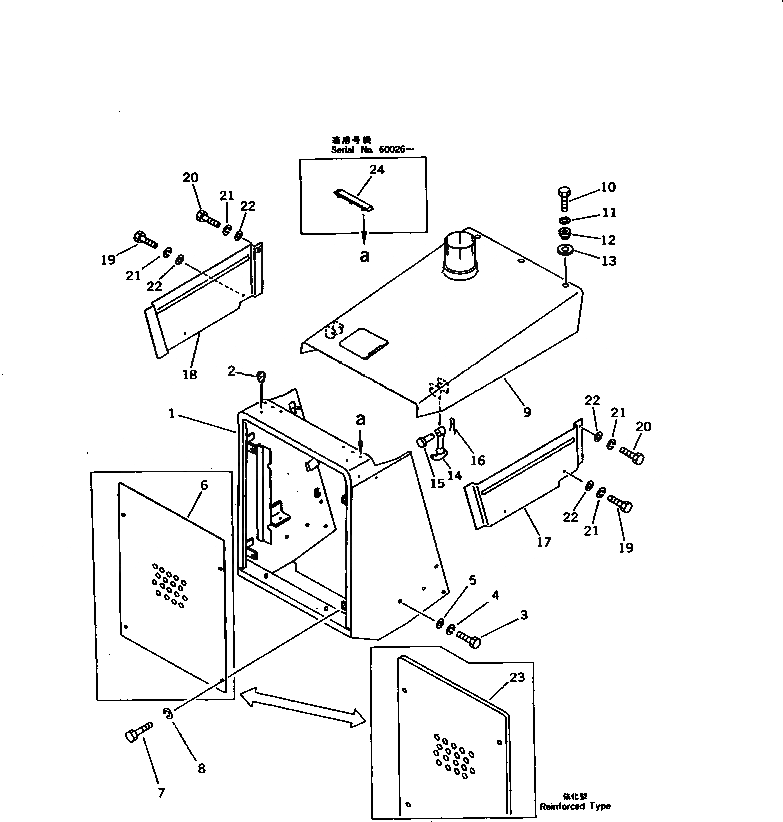
1

103-54-31110

GUARD,RADIATOR

SN: 60001-UP

1шт.

1

103-54-31120

GUARD,RADIATOR (FOR LARGE CAPACITY)

SN: 60001-UP

1шт.

1

103-54-39470

GUARD,RADIATOR(FOR RADIATOR SHUTTER)

SN: 60001-UP

1шт.

1

103-54-39570

GUARD,RADIATOR (FOR TACHOMETER)

SN: 60001-UP

1шт.

1

09450-00013

BRACKET,ENGINE HOOD CATCH (WELDED)

SN: 60001-UP

2шт.

2

07049-01012

PLUG

SN: 60001-UP

4шт.

3

01010-51230

BOLT

SN: 60001-UP

8шт.

4

01602-21236

WASHER,SPRING

SN: 60001-UP

8шт.

5

01643-31232

WASHER

SN: 60001-UP

8шт.

6

103-54-31221

GRILLE

SN: 60363-UP

1шт.

6

103-54-31220

GRILLE

SN: 60001-60362

1шт.

7

01010-51430

BOLT

SN: 60001-UP

4шт.

8

01643-31445

WASHER

SN: 60363-UP

4шт.

8

01602-21442

WASHER,SPRING

SN: 60001-60362

4шт.

9

103-54-31240

HOOD

SN: 60001-UP

1шт.

9

103-54-39560

HOOD,(FOR TACHOMETER)

SN: 60001-UP

1шт.

9

09450-00001

PLATE,ENGINE HOOD CATCH (WELDED)

SN: 60001-UP

2шт.

10

01010-51025

BOLT

SN: 60001-UP

3шт.

11

01602-21030

WASHER,SPRING

SN: 60001-UP

3шт.

12

113-54-31340

COLLAR

SN: 60001-UP

3шт.

13

113-54-31350

SEAT

SN: 60001-UP

3шт.

14

09450-00000

CATCH

SN: 60001-UP

2шт.

15

09450-00002

PIN

SN: 60001-UP

2шт.

16

04050-11610

PIN,COTTER

SN: 60001-UP

2шт.

17

103-54-31270

COVER,L.H.

SN: 60001-UP

1шт.

18

103-54-31280

COVER,R.H.

SN: 60001-UP

1шт.

19

01010-51025

BOLT

SN: 60001-UP

4шт.

20

01010-51035

BOLT

SN: 60001-UP

2шт.

21

01602-21030

WASHER,SPRING

SN: 60001-UP

6шт.

22

01643-31032

WASHER

SN: 60001-UP

6шт.

23

103-54-31231

GRILLE,(REINFORCED TYPE)

SN: 60363-UP

1шт.

23

103-54-31230

GRILLE,(REINFORCED TYPE)

SN: 60001-60362

1шт.

24

201-54-22971

SEAT

SN: 60026-UP

1шт.

Выбрано товаров: 33