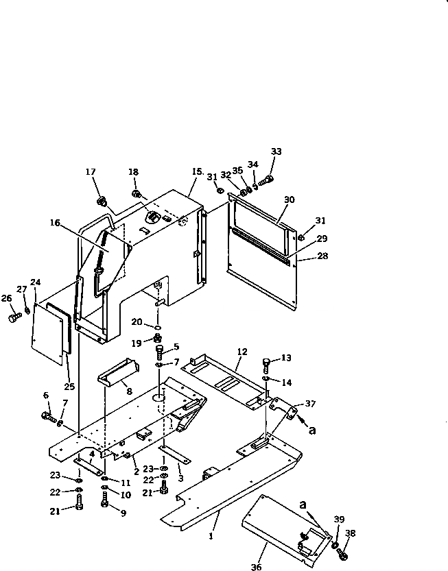
Запчасти Komatsu D21S-6 ЗАДН. КРЫШКА И ГИДР. БАК. (ШУМОПОДАВЛ. ДЛЯ EC)(№8-) ЧАСТИ КОРПУСА

Схема запчастей Komatsu D21S-6 - ЗАДН. КРЫШКА И ГИДР. БАК. (ШУМОПОДАВЛ. ДЛЯ EC)(№8-) ЧАСТИ КОРПУСА
FIT
1:1
100%

Артикул

Название

Примечание

Количество

1

103-54-34411

FENDER,L.H.

SN: 60280-UP

1шт.

2

103-54-34421

FENDER,R.H.

SN: 60280-UP

1шт.

3

103-54-34450

PLATE

SN: 60280-UP

1шт.

4

103-54-34460

PLATE

SN: 60280-UP

1шт.

5

01010-51435

BOLT

SN: 60280-UP

8шт.

6

01010-51440

BOLT

SN: 60280-UP

4шт.

7

01602-21442

WASHER,SPRING

SN: 60280-UP

12шт.

8

103-54-34440

BOX

SN: 60280-UP

1шт.

9

01010-50820

BOLT

SN: 60280-UP

3шт.

10

01602-20825

WASHER,SPRING

SN: 60280-UP

3шт.

11

01643-30823

WASHER

SN: 60280-UP

3шт.

12

103-54-34430

PLATE

SN: 60280-UP

1шт.

13

01010-51020

BOLT

SN: 60280-UP

4шт.

14

01602-21030

WASHER,SPRING

SN: 60280-UP

4шт.

15

103-54-39671

CASE

SN: 60363-UP

1шт.

15

103-54-39670

CASE

SN: 60280-60362

1шт.

16

103-B62-2340

SHEET

SN: 60280-UP

1шт.

17

10E-03-11130

CAP

SN: 60280-UP

1шт.

18

20N-60-11141

GAUGE,OIL

SN: 60280-UP

1шт.

19

07044-12412

PLUG

SN: 60280-UP

1шт.

20

07002-02434

O-RING

SN: 60280-UP

1шт.

21

01010-51240

BOLT

SN: 60280-UP

4шт.

22

01602-21236

WASHER,SPRING

SN: 60280-UP

4шт.

23

01643-31232

WASHER

SN: 60280-UP

4шт.

24

103-54-34320

PLATE

SN: 60280-UP

1шт.

25

103-B62-2410

ABSORBER

SN: 60280-UP

1шт.

26

113-B44-1230

BOLT

SN: 60280-UP

4шт.

27

01643-31032

WASHER

SN: 60280-UP

4шт.

28

103-B62-2351

COVER

SN: 60363-UP

1шт.

28

103-B62-2350

COVER

SN: 60280-60362

1шт.

29

103-B62-1790

SEAL

SN: 60280-UP

1шт.

30

103-B62-2360

ABSORBER

SN: 60280-UP

1шт.

31

113-X79-1720

CUSHION

SN: 60280-UP

2шт.

32

103-21-14320

BOSS

SN: 60280-UP

6шт.

33

01010-51445

BOLT

SN: 60280-UP

6шт.

34

01602-21030

WASHER,SPRING

SN: 60280-UP

6шт.

35

01643-31445

WASHER

SN: 60280-UP

6шт.

36

103-54-34151

COVER

SN: 60280-UP

1шт.

37

103-54-34160

BRACKET

SN: 60280-UP

1шт.

38

01010-51435

BOLT

SN: 60280-UP

4шт.

39

01643-31445

WASHER

SN: 60280-UP

4шт.

Выбрано товаров: 41