Запчасти Komatsu D21S-6 ГУСЕНИЦЫ (СМАЗЫВ. ТИПА) (ПОЛУ-ДВОЙН. ГРУНТОЗАЦЕП) ГУСЕНИЦЫ

Схема запчастей Komatsu D21S-6 - ГУСЕНИЦЫ (СМАЗЫВ. ТИПА) (ПОЛУ-ДВОЙН. ГРУНТОЗАЦЕП) ГУСЕНИЦЫ
FIT
1:1
100%

Артикул

Название

Примечание

Количество

|$$1

300MM WIDE

-1шт.

|$1

102-32-03001

TRACK SHOE ASS'Y

SN: 60611-UP

1шт.

|$2

0

TRACK SHOE ASS'Y

SN: 60001-60610

1шт.

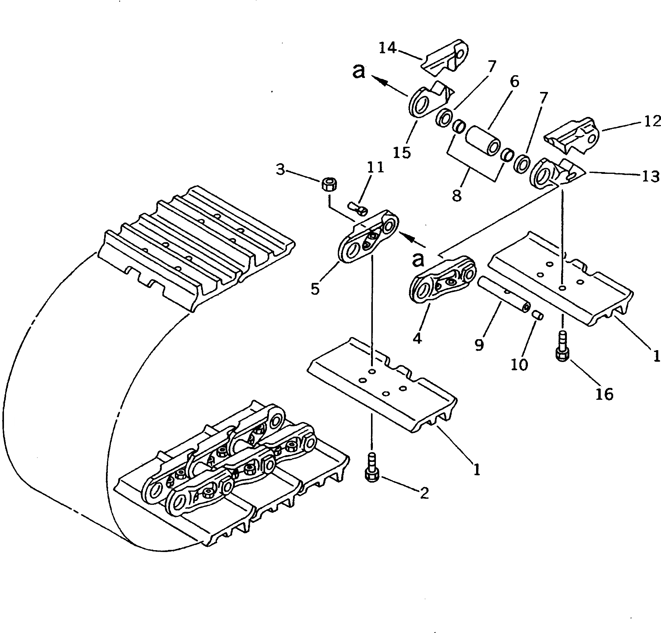
1

102-32-11351

SHOE,TRACK

SN: 60001-UP

74шт.

2

201-32-11211

BOLT, SHOE (KIT)

SN: 60611-UP

288шт.

2

201-32-11210

BOLT, SHOE (KIT)

SN: 60001-60610

288шт.

3

201-32-11220

NUT, SHOE (KIT)

SN: 60611-UP

288шт.

3

01803-01218

NUT, SHOE (KIT)

SN: 60001-60610

288шт.

|$8

102-32-00100

TRACK LINK ASS'Y

SN: 60001-UP

1шт.

4

101-32-11121

LINK,TRACK, L.H.

SN: 60001-UP

72шт.

5

101-32-11131

LINK,TRACK, R.H.

SN: 60001-UP

72шт.

6

101-32-14140

BUSHING

SN: 60001-UP

74шт.

7

101-32-14160

SEAL ASS'Y

SN: 60001-UP

148шт.

8

101-32-14190

SPACER

SN: 60001-UP

148шт.

9

101-32-14150

PIN

SN: 60001-UP

74шт.

10

07059-11222

PLUG,LARGE

SN: 60001-UP

74шт.

11

07059-20721

PLUG,SMALL

SN: 60001-UP

74шт.

12

101-32-21220

LINK,MASTER, L.H., PIN SIDE

SN: 60001-UP

2шт.

13

101-32-21230

LINK,MASTER, L.H., BUSHING SIDE

SN: 60001-UP

2шт.

14

101-32-21320

LINK,MASTER, R.H., PIN SIDE

SN: 60001-UP

2шт.

15

101-32-21330

LINK,MASTER, R.H., BUSHING SIDE

SN: 60001-UP

2шт.

16

101-32-21250

BOLT,MASTER

SN: 60001-UP

8шт.

|$$23

340MM WIDE

-1шт.

1

102-32-03011

TRACK SHOE ASS'Y

SN: 60611-UP

1шт.

1

0

TRACK SHOE ASS'Y

SN: 60001-60610

1шт.

1

102-32-11331

SHOE,TRACK

SN: 60001-UP

74шт.

2

201-32-11211

BOLT, SHOE (KIT)

SN: 60611-UP

288шт.

2

201-32-11210

BOLT, SHOE (KIT)

SN: 60001-60610

288шт.

3

201-32-11220

NUT, SHOE (KIT)

SN: 60611-UP

288шт.

3

01803-01218

NUT, SHOE (KIT)

SN: 60001-60610

288шт.

4

102-32-00100

TRACK LINK ASS'Y

SN: 60001-UP

1шт.

|$$32

SERVICE KIT

-1шт.

1

201-32-05001

SHOE BOLT AND NUT K.

SN: 60611-UP

1шт.

1

0

SHOE BOLT AND NUT K.

SN: 60001-60610

1шт.

1

201-32-11211

BOLT, SHOE

SN: 60611-UP

50шт.

1

201-32-11210

BOLT, SHOE

SN: 60001-60610

50шт.

2

201-32-11220

NUT, SHOE

SN: 60611-UP

50шт.

2

01803-01218

NUT, SHOE

SN: 60001-60610

50шт.

|$$39

OVERSIZE PARTS

-1шт.

|$$40

SELECT AS REQUIRED NOT NECESSARY TO USE ALL OF THE OVERSIZE PARTS.

-1шт.

|$$41

0.10MM OVERSIZE

-1шт.

6

101-98-09210

BUSHING

SN: 60001-UP

-2шт.

9

101-98-09070

PIN

SN: 60001-UP

-2шт.

|$$44

0.18MM OVERSIZE

-1шт.

6

101-98-09220

BUSHING

SN: 60001-UP

-2шт.

9

101-98-09080

PIN

SN: 60001-UP

-2шт.

Выбрано товаров: 0