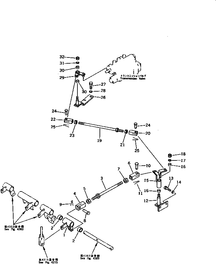
Запчасти Komatsu D21S-6 ПЕДАЛЬ ТОЛЧКОВОГО РЕГУЛИР-Я МЕХАНИЗМ (ДЛЯ F-R ТРАНСМИССИЯ) СИСТЕМА УПРАВЛЕНИЯ

Схема запчастей Komatsu D21S-6 - ПЕДАЛЬ ТОЛЧКОВОГО РЕГУЛИР-Я МЕХАНИЗМ (ДЛЯ F-R ТРАНСМИССИЯ) СИСТЕМА УПРАВЛЕНИЯ
FIT
1:1
100%

Артикул

Название

Примечание

Количество

|$0

103-43-00570

LEVER ASS'Y

SN: 60001-UP

1шт.

1

0

LEVER

SN: 60001-UP

1шт.

2

09350-03020

BUSHING

SN: 60001-UP

2шт.

3

04248-31019

ROD

SN: 60001-UP

1шт.

4

04220-21040

YOKE,L.H. THREAD

SN: 60001-UP

1шт.

5

01508-41006

NUT,L.H. THREAD

SN: 60248-UP

1шт.

5

0

NUT,L.H. THREAD

SN: 60001-60247

1шт.

6

20T-43-22210

YOKE

SN: 60001-UP

1шт.

7

01582-11008

NUT

SN: 60001-UP

1шт.

8

04205-11028

PIN

SN: 60001-UP

1шт.

9

04050-13020

PIN,COTTER

SN: 60001-UP

1шт.

10

04205-10822

PIN

SN: 60001-UP

1шт.

11

04050-12015

PIN,COTTER

SN: 60001-UP

1шт.

12

103-43-33430

BRACKET

SN: 60001-UP

1шт.

13

01010-51025

BOLT

SN: 60001-UP

2шт.

14

01602-21030

WASHER,SPRING

SN: 60001-UP

2шт.

|$16

103-43-00580

LEVER ASS'Y

SN: 60001-UP

1шт.

15

0

LEVER

SN: 60001-UP

1шт.

16

203-43-31420

BUSHING

SN: 60001-UP

2шт.

17

22W-43-17330

WASHER

SN: 60001-UP

1шт.

18

01598-00809

NUT

SN: 60001-UP

1шт.

19

04248-30821

ROD

SN: 60001-UP

1шт.

20

04211-20844

YOKE

SN: 60001-UP

1шт.

21

01580-10806

NUT

SN: 60001-UP

1шт.

22

04220-20832

YOKE,L.H. THREAD

SN: 60001-UP

1шт.

23

01508-40805

NUT,L.H. THREAD

SN: 60248-UP

1шт.

23

0

NUT,L.H. THREAD

SN: 60001-60247

1шт.

24

04205-10822

PIN

SN: 60001-UP

2шт.

25

04050-12015

PIN,COTTER

SN: 60001-UP

2шт.

26

103-43-33450

BRACKET

SN: 60001-UP

1шт.

27

01010-51025

BOLT

SN: 60001-UP

2шт.

28

01602-21030

WASHER,SPRING

SN: 60001-UP

2шт.

|$32

103-43-00590

LEVER ASS'Y

SN: 60001-UP

1шт.

29

0

LEVER

SN: 60001-UP

1шт.

30

203-43-31420

BUSHING

SN: 60001-UP

2шт.

31

22W-43-17330

WASHER

SN: 60001-UP

1шт.

32

01598-00809

NUT

SN: 60001-UP

1шт.

Выбрано товаров: 37