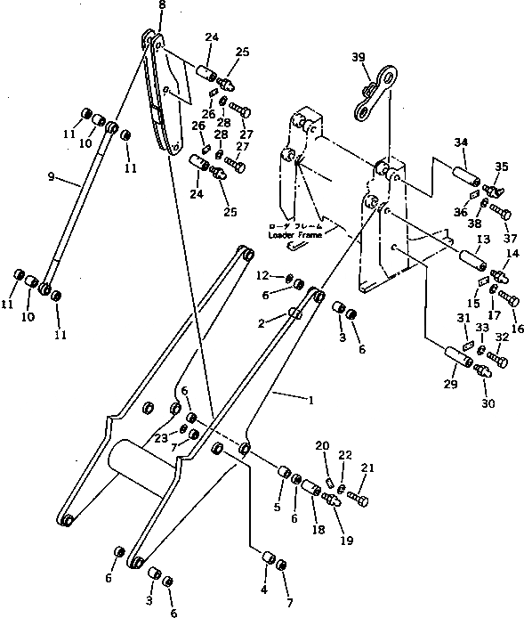
Запчасти Komatsu D21S-6 РУКОЯТЬ РАБОЧЕЕ ОБОРУДОВАНИЕ

Схема запчастей Komatsu D21S-6 - РУКОЯТЬ РАБОЧЕЕ ОБОРУДОВАНИЕ
FIT
1:1
100%

Артикул

Название

Примечание

Количество

|$0

103-70-00120

LIFT ARM ASS'Y

SN: 60001-UP

1шт.

|$1

103-70-00180

LIFT ARM ASS'Y,(FOR MULTI PURPOSE BUCKET)

SN: 60001-UP

1шт.

1

0

ARM,LIFT

SN: 60001-UP

1шт.

1

0

ARM,LIFT(FOR MULTI PURPOSE BUCKET)

SN: 60001-UP

1шт.

2

103-70-21190

PIN (WELDED)

SN: 60001-UP

1шт.

3

102-70-11170

BUSHING

SN: 60001-UP

4шт.

4

102-70-11671

BUSHING

SN: 60001-UP

2шт.

5

103-70-21150

BUSHING

SN: 60001-UP

2шт.

6

07145-00040

SEAL,DUST

SN: 60001-UP

12шт.

7

07145-00030

SEAL,DUST

SN: 60001-UP

4шт.

8

103-70-31460

LEVER,L.H.

SN: 60001-UP

1шт.

8

103-70-31440

LEVER,R.H.

SN: 60001-UP

1шт.

|$12

103-70-00160

TILT ROD ASS'Y

SN: 60001-UP

2шт.

9

0

ROD

SN: 60001-UP

1шт.

10

102-70-11671

BUSHING

SN: 60001-UP

2шт.

11

07145-00030

SEAL,DUST

SN: 60001-UP

8шт.

12

103-70-31590

SPACER, 1.6MM

SN: 60001-UP

2шт.

13

363-70-11270

PIN

SN: 60001-UP

2шт.

14

07020-00000

FITTING,GREASE

SN: 60001-UP

2шт.

15

113-70-21280

LOCK

SN: 60001-UP

2шт.

16

01010-51025

BOLT

SN: 60001-UP

4шт.

17

01602-21030

WASHER,SPRING

SN: 60001-UP

4шт.

18

09241-4A110

PIN

SN: 60112-UP

2шт.

18

0

PIN

SN: 60001-60111

2шт.

19

07020-00000

FITTING,GREASE

SN: 60001-UP

2шт.

20

113-70-21280

LOCK

SN: 60001-UP

2шт.

21

01010-51025

BOLT

SN: 60001-UP

4шт.

22

01602-21030

WASHER,SPRING

SN: 60001-UP

4шт.

23

103-70-31580

SPACER, 1.6MM

SN: 60001-UP

2шт.

24

103-70-21180

PIN

SN: 60001-UP

6шт.

25

07020-00000

FITTING,GREASE

SN: 60001-UP

6шт.

26

04082-00110

LOCK

SN: 60001-UP

6шт.

27

01010-51020

BOLT

SN: 60001-UP

12шт.

28

01602-21030

WASHER,SPRING

SN: 60001-UP

12шт.

29

363-70-11270

PIN

SN: 60001-UP

2шт.

30

07020-00000

FITTING,GREASE

SN: 60001-UP

2шт.

31

113-70-21280

LOCK

SN: 60001-UP

2шт.

32

01010-51025

BOLT

SN: 60001-UP

4шт.

33

01602-21030

WASHER,SPRING

SN: 60001-UP

4шт.

34

103-70-31330

PIN

SN: 60001-UP

2шт.

35

07020-00675

FITTING,GREASE

SN: 60001-UP

2шт.

36

113-70-21280

LOCK

SN: 60001-UP

2шт.

37

01010-51025

BOLT

SN: 60001-UP

4шт.

38

01602-21030

WASHER,SPRING

SN: 60001-UP

4шт.

39

103-70-24111

LOCK

SN: 60001-UP

1шт.

Выбрано товаров: 45