Запчасти Komatsu D21S-6 ТРАНСМИССИЯ (F-R) (SELECTOR И INCHING) ОСНОВН. МУФТА¤ТРАНСМИССИЯ¤ РУЛЕВ. УПРАВЛЕНИЕ И КОНЕЧНАЯ ПЕРЕДАЧА

Схема запчастей Komatsu D21S-6 - ТРАНСМИССИЯ (F-R) (SELECTOR И INCHING) ОСНОВН. МУФТА¤ТРАНСМИССИЯ¤ РУЛЕВ. УПРАВЛЕНИЕ И КОНЕЧНАЯ ПЕРЕДАЧА
FIT
1:1
100%

Артикул

Название

Примечание

Количество

|$0

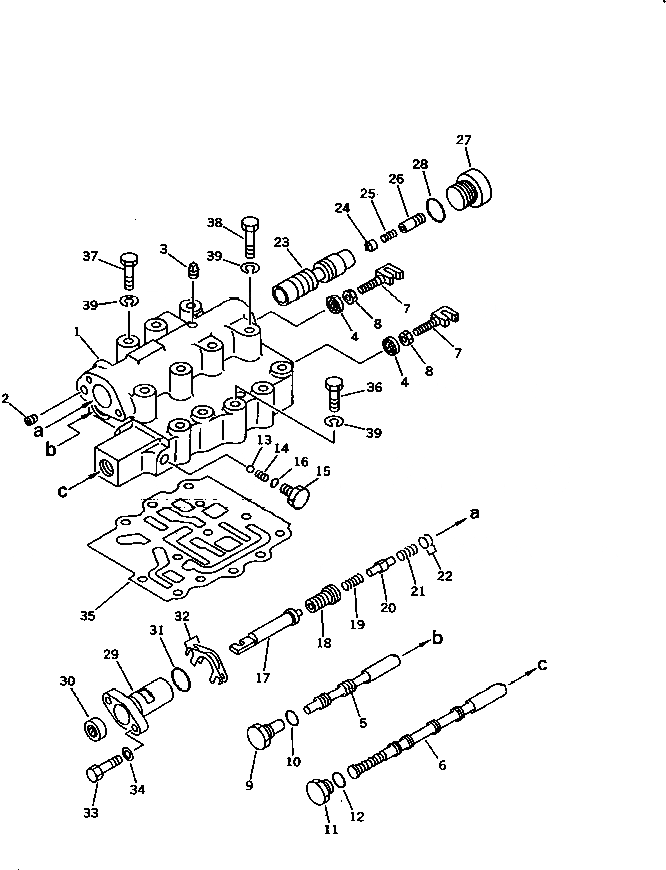
104-15-00080

TRANSMISSION ASS'Y

SN: 60334-UP

1шт.

|$1

0

TRANSMISSION ASS'Y

SN: 60001-60333

1шт.

|$$3

THESE ASSEMBLIES CONSIST OF ALL PARTS SHOWN IN FIGS.2511 TO 2517 AND 2553, 2563.

-1шт.

|$3

104-15-00320

VALVE ASS'Y,SELECTOR AND INCHING

SN: 60001-UP

1шт.

1

104-15-35410

BODY

SN: 60001-UP

1шт.

2

07043-00108

PLUG

SN: 60001-UP

3шт.

3

07042-20108

PLUG

SN: 60001-UP

2шт.

4

113-15-29110

SEAL,OIL

SN: 60001-UP

2шт.

5

362-15-15430

SPOOL

SN: 60001-UP

1шт.

6

362-15-15450

SPOOL

SN: 60001-UP

1шт.

7

09363-00850

YOKE

SN: 60001-UP

2шт.

8

01580-10806

NUT

SN: 60001-UP

2шт.

9

104-15-25460

PLUG

SN: 60001-UP

1шт.

10

07002-01623

O-RING

SN: 60001-UP

1шт.

11

113-15-25481

PLUG

SN: 60001-UP

1шт.

12

07002-01823

O-RING

SN: 60001-UP

1шт.

|$16

103-15-15340

DETENT ASS'Y

SN: 60001-UP

2шт.

13

04260-00635

BALL

SN: 60001-UP

1шт.

14

103-15-15350

SPRING

SN: 60001-UP

1шт.

15

103-15-15330

RETAINER

SN: 60001-UP

1шт.

16

07002-01223

O-RING

SN: 60001-UP

2шт.

17

363-15-15510

SPOOL

SN: 60001-UP

1шт.

18

104-15-35170

STOPPER

SN: 60001-UP

1шт.

19

103-15-36160

SPRING

SN: 60001-UP

1шт.

20

363-15-15530

STOPPER

SN: 60001-UP

1шт.

21

104-15-35150

SPRING

SN: 60001-UP

1шт.

22

104-15-36490

SHIM, 0.2MM

SN: 60001-UP

4шт.

22

104-15-36480

SHIM, 0.5MM

SN: 60001-UP

2шт.

23

363-15-15520

VALVE

SN: 60001-UP

1шт.

24

22W-75-18890

VALVE

SN: 60001-UP

1шт.

25

125-15-15290

SPRING

SN: 60001-UP

1шт.

26

22W-75-18880

VALVE

SN: 60001-UP

1шт.

27

124-15-45450

PLUG

SN: 60001-UP

1шт.

28

07002-03034

O-RING

SN: 60001-UP

1шт.

29

104-15-35210

COVER

SN: 60001-UP

1шт.

30

113-15-29110

SEAL,OIL

SN: 60001-UP

1шт.

31

07000-72021

O-RING

SN: 60001-UP

1шт.

32

104-15-36470

SHIM, 0.2MM

SN: 60001-UP

6шт.

32

104-15-36460

SHIM, 0.5MM

SN: 60001-UP

4шт.

33

01010-50825

BOLT

SN: 60001-UP

2шт.

34

01643-30823

WASHER

SN: 60001-UP

2шт.

35

362-15-15920

GASKET

SN: 60258-UP

1шт.

35

104-15-25910

GASKET

SN: 60001-60257

1шт.

36

01010-50850

BOLT

SN: 60001-UP

5шт.

37

01010-50865

BOLT

SN: 60001-UP

3шт.

38

01010-50875

BOLT

SN: 60001-UP

4шт.

39

01602-20825

WASHER,SPRING

SN: 60001-UP

12шт.

Выбрано товаров: 0