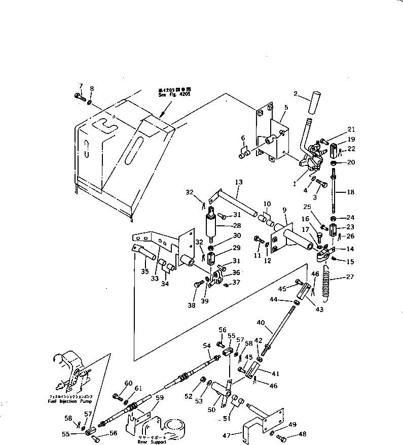
Запчасти Komatsu D21S-6 РЫЧАГ УПРАВЛ-Я ПОДАЧЕЙ ТОПЛИВА (С ПЕДАЛЬ ЗАМЕДЛИТЕЛЯ ОБОРОТОВ) СИСТЕМА УПРАВЛЕНИЯ

Схема запчастей Komatsu D21S-6 - РЫЧАГ УПРАВЛ-Я ПОДАЧЕЙ ТОПЛИВА (С ПЕДАЛЬ ЗАМЕДЛИТЕЛЯ ОБОРОТОВ) СИСТЕМА УПРАВЛЕНИЯ
FIT
1:1
100%

Артикул

Название

Примечание

Количество

1

103-43-35120

LEVER ASS'Y

SN: 60001-UP

1шт.

2

203-43-44360

KNOB

SN: 60001-UP

1шт.

3

07372-21030

BOLT

SN: 60001-UP

2шт.

4

01602-21030

WASHER,SPRING

SN: 60001-UP

2шт.

5

103-43-00480

BRACKET ASS'Y

SN: 60001-UP

1шт.

5

0

BRACKET

SN: 60001-UP

1шт.

6

203-43-31420

BUSHING

SN: 60001-UP

2шт.

7

01010-51020

BOLT

SN: 60001-UP

4шт.

8

01602-21030

WASHER,SPRING

SN: 60001-UP

4шт.

9

103-43-35310

BRACKET

SN: 60001-UP

1шт.

10

09350-01620

BUSHING

SN: 60001-UP

2шт.

11

01010-51025

BOLT

SN: 60001-UP

3шт.

12

01602-21030

WASHER,SPRING

SN: 60001-UP

3шт.

13

103-43-35320

LEVER

SN: 60001-UP

1шт.

14

103-43-35330

LEVER

SN: 60001-UP

1шт.

15

04010-00519

KEY

SN: 60001-UP

1шт.

16

01010-50830

BOLT

SN: 60001-UP

1шт.

17

01602-20825

WASHER,SPRING

SN: 60001-UP

1шт.

18

04248-10817

ROD

SN: 60001-UP

1шт.

19

21K-43-11350

YOKE

SN: 60001-UP

1шт.

20

01580-10806

NUT

SN: 60001-UP

2шт.

21

04205-10622

PIN

SN: 60001-UP

1шт.

22

04050-11612

PIN,COTTER

SN: 60001-UP

1шт.

23

04220-20832

YOKE,L.H. THREAD

SN: 60001-UP

1шт.

24

01508-30805

NUT,L.H. THREAD

SN: 60248-UP

1шт.

24

0

NUT, L.H. THREAD,L.H. THREAD

SN: 60001-60247

1шт.

25

04205-10822

PIN

SN: 60001-UP

1шт.

26

04050-12015

PIN,COTTER

SN: 60001-UP

1шт.

27

135-43-14520

SPRING

SN: 60001-UP

1шт.

28

103-43-35340

SPRING,LOOSE

SN: 60001-UP

1шт.

29

04210-20832

YOKE

SN: 60001-UP

1шт.

30

01580-10806

NUT

SN: 60001-UP

1шт.

31

04205-10822

PIN

SN: 60001-UP

2шт.

32

04050-12015

PIN,COTTER

SN: 60001-UP

2шт.

33

103-62-33180

BRACKET

SN: 60001-UP

1шт.

34

09350-01620

BUSHING

SN: 60001-UP

2шт.

35

103-43-35350

LEVER

SN: 60001-UP

1шт.

36

103-43-35360

LEVER

SN: 60001-UP

1шт.

37

04010-00519

KEY

SN: 60001-UP

1шт.

38

01010-50830

BOLT

SN: 60001-UP

1шт.

39

01602-20825

WASHER,SPRING

SN: 60001-UP

1шт.

40

04248-10820

ROD

SN: 60001-UP

1шт.

41

04211-20844

YOKE

SN: 60001-UP

1шт.

42

01580-10806

NUT

SN: 60001-UP

1шт.

43

04221-20844

YOKE,L.H. THREAD

SN: 60001-UP

1шт.

44

01508-30805

NUT,L.H. THREAD

SN: 60248-UP

1шт.

44

0

NUT, L.H. THREAD,L.H. THREAD

SN: 60001-60247

1шт.

45

04205-10822

PIN

SN: 60001-UP

2шт.

46

04050-12015

PIN,COTTER

SN: 60001-UP

2шт.

47

103-43-35370

BRACKET

SN: 60001-UP

1шт.

48

01010-51030

BOLT

SN: 60001-UP

4шт.

49

01602-21030

WASHER,SPRING

SN: 60001-UP

4шт.

50

103-43-35380

LEVER

SN: 60001-UP

1шт.

51

203-43-31420

BUSHING

SN: 60001-UP

2шт.

52

01598-00809

NUT

SN: 60001-UP

1шт.

53

22W-43-17330

WASHER

SN: 60001-UP

1шт.

54

103-43-35390

CABLE

SN: 60001-UP

1шт.

55

04211-20500

YOKE

SN: 60001-UP

2шт.

56

04205-10516

PIN

SN: 60001-UP

2шт.

57

01641-20508

WASHER

SN: 60001-UP

2шт.

58

04050-11210

PIN,COTTER

SN: 60001-UP

2шт.

59

103-43-35180

BRACKET

SN: 60001-UP

1шт.

60

01010-51020

BOLT

SN: 60001-UP

2шт.

61

01602-21030

WASHER,SPRING

SN: 60001-UP

2шт.

Выбрано товаров: 64