Запчасти Komatsu D21S-6 ПЕДАЛЬ ЗАМЕДЛИТЕЛЯ ОБОРОТОВ СИСТЕМА УПРАВЛЕНИЯ

Схема запчастей Komatsu D21S-6 - ПЕДАЛЬ ЗАМЕДЛИТЕЛЯ ОБОРОТОВ СИСТЕМА УПРАВЛЕНИЯ
FIT
1:1
100%

Артикул

Название

Примечание

Количество

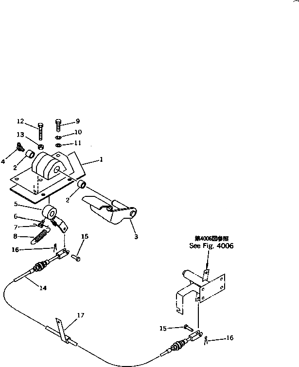
1

103-43-35420

PLATE

SN: 60001-UP

1шт.

2

195-61-34120

BEARING

SN: 60001-UP

2шт.

3

103-43-39110

PEDAL

SN: 60001-UP

1шт.

4

07020-00900

FITTING,GREASE

SN: 60001-UP

1шт.

5

103-43-35430

LEVER

SN: 60001-UP

1шт.

6

01300-20816

SCREW

SN: 60001-UP

1шт.

7

04059-01020

WIRE

SN: 60001-UP

1шт.

8

113-43-35360

SPRING

SN: 60001-UP

1шт.

9

01010-51025

BOLT

SN: 60001-UP

2шт.

10

01602-21030

WASHER,SPRING

SN: 60001-UP

2шт.

11

01643-31032

WASHER

SN: 60001-UP

2шт.

12

01016-51045

BOLT

SN: 60001-UP

1шт.

13

01580-11008

NUT

SN: 60001-UP

1шт.

14

103-43-35410

CABLE

SN: 60001-UP

1шт.

15

04205-10616

PIN

SN: 60001-UP

2шт.

16

04050-11210

PIN,COTTER

SN: 60001-UP

2шт.

17

20N-04-12150

CLIP

SN: 60001-UP

1шт.

Выбрано товаров: 0