Запчасти Komatsu D21S-6 ЗАДН. КРЫШКА И ГИДР. БАК.(№-) ЧАСТИ КОРПУСА

Схема запчастей Komatsu D21S-6 - ЗАДН. КРЫШКА И ГИДР. БАК.(№-) ЧАСТИ КОРПУСА
FIT
1:1
100%

Артикул

Название

Примечание

Количество

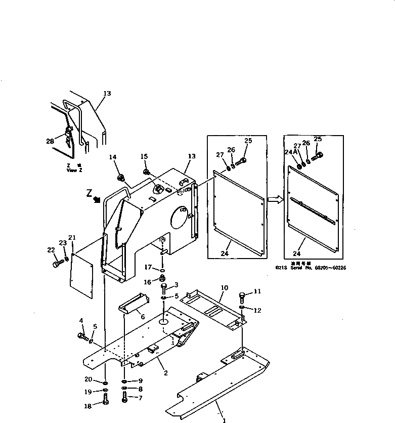
1

103-54-34410

FENDER,L.H.

SN: 60001-60226

1шт.

2

103-54-34420

FENDER,R.H.

SN: 60001-60226

1шт.

3

01010-51435

BOLT

SN: 60001-@

8шт.

4

01010-51440

BOLT

SN: 60001-@

4шт.

5

01602-21442

WASHER,SPRING

SN: 60001-@

12шт.

6

103-54-34440

BOX

SN: 60001-@

1шт.

7

01010-50820

BOLT

SN: 60001-@

3шт.

8

01602-20825

WASHER,SPRING

SN: 60001-@

3шт.

9

01643-30823

WASHER

SN: 60001-@

3шт.

10

103-54-34430

PLATE

SN: 60001-@

1шт.

11

01010-51020

BOLT

SN: 60001-@

4шт.

12

01602-21030

WASHER,SPRING

SN: 60001-@

4шт.

|$12

103-54-00020

HYDRAULIC TANK ASS'Y

SN: 60001-60226

1шт.

13

103-54-34510

CASE

SN: 60001-60226

1шт.

14

10E-03-11130

CAP

SN: 60001-@

1шт.

15

20N-60-11141

GAUGE,OIL

SN: 60001-@

1шт.

16

07044-12412

PLUG

SN: 60001-@

1шт.

17

07002-02434

O-RING

SN: 60001-@

1шт.

18

01010-51230

BOLT

SN: 60001-60226

4шт.

19

01602-21236

WASHER,SPRING

SN: 60001-@

4шт.

20

01643-31232

WASHER

SN: 60001-@

4шт.

21

103-54-34320

PLATE

SN: 60001-@

1шт.

22

01010-51020

BOLT

SN: 60001-@

4шт.

23

01643-31032

WASHER

SN: 60001-@

4шт.

24

103-54-34141

COVER

SN: 60205-60226

1шт.

24

103-54-34140

COVER

SN: 60001-60204

1шт.

24A

103-21-31260

BOSS

SN: 60205-60226

6шт.

25

01010-51025

BOLT

SN: 60001-60204

6шт.

25

01010-51045

BOLT

SN: 60205-60226

6шт.

26

01602-21030

WASHER,SPRING

SN: 60001-60226

6шт.

27

01643-31032

WASHER

SN: 60001-60226

6шт.

28

09460-00004

LOCK

SN: 60001-@

1шт.

Выбрано товаров: 32