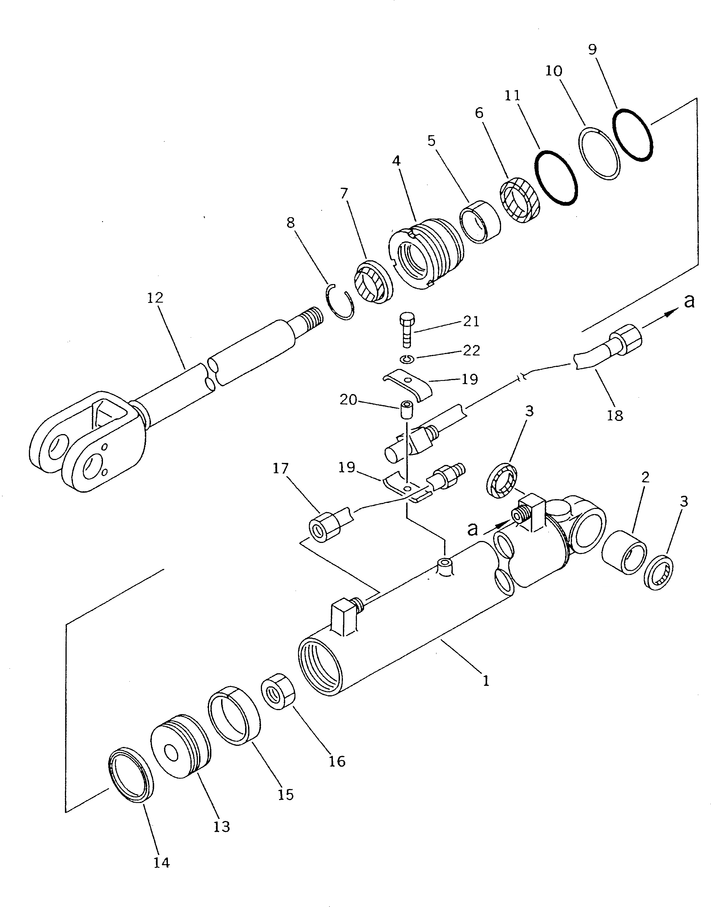
Запчасти Komatsu D21S-7 ГИДРОЦИЛИНДР ПОДЪЕМА УПРАВЛ-Е РАБОЧИМ ОБОРУДОВАНИЕМ

Схема запчастей Komatsu D21S-7 - ГИДРОЦИЛИНДР ПОДЪЕМА УПРАВЛ-Е РАБОЧИМ ОБОРУДОВАНИЕМ
FIT
1:1
100%

Артикул

Название

Примечание

Количество

G-1

0

CYLINDER GROUP,LIFT¤ L.H.

SN: 61001-UP

1шт.

G-1

0

CYLINDER GROUP,LIFT¤ R.H.

SN: 61001-UP

1шт.

|$$3

====================

-1шт.

|1

103-63-02010

CYLINDER ASS'Y,LIFT

SN: 61001-UP

1шт.

1

103-63-22342

CYLINDER

SN: 61001-UP

1шт.

2

07143-10404

BUSHING

SN: 61001-UP

1шт.

3

07145-00040

SEAL,DUST

SN: 61001-UP

2шт.

4

707-29-80930

HEAD,CYLINDER

SN: 61001-UP

1шт.

5

07177-04530

BUSHING

SN: 61001-UP

1шт.

6

707-51-45210

PACKING,ROD

SN: 61001-UP

1шт.

7

112-63-15370

SEAL,DUST

SN: 61001-UP

1шт.

8

07179-12057

RING,SNAP

SN: 61001-UP

1шт.

9

07000-12075

O-RING

SN: 61001-UP

1шт.

10

07001-02075

RING,BACK-UP

SN: 61001-UP

1шт.

11

07000-02080

O-RING

SN: 61001-UP

1шт.

12

103-63-22320

ROD,PISTON

SN: 61001-UP

1шт.

13

707-36-80910

PISTON

SN: 61001-UP

1шт.

14

707-44-80070

RING,PISTON

SN: 61001-UP

1шт.

15

07155-00820

RING,WEAR

SN: 61001-UP

1шт.

16

01580-02722

NUT

SN: 61001-UP

1шт.

17

103-63-22371

TUBE

SN: 61001-UP

1шт.

18

103-63-22382

TUBE,L.H.

SN: 61001-UP

1шт.

|18

103-63-22482

TUBE,R.H.

SN: 61001-UP

1шт.

19

103-63-22250

CLIP

SN: 61001-UP

2шт.

20

103-63-22260

SPACER

SN: 61001-UP

1шт.

21

01010-51045

BOLT

SN: 61001-UP

1шт.

22

01602-21030

WASHER,SPRING

SN: 61001-UP

1шт.

|$$28

====================

-1шт.

Выбрано товаров: 28