Запчасти Komatsu D21S-7 КОВШ РАБОЧЕЕ ОБОРУДОВАНИЕ

Схема запчастей Komatsu D21S-7 - КОВШ РАБОЧЕЕ ОБОРУДОВАНИЕ
FIT
1:1
100%

Артикул

Название

Примечание

Количество

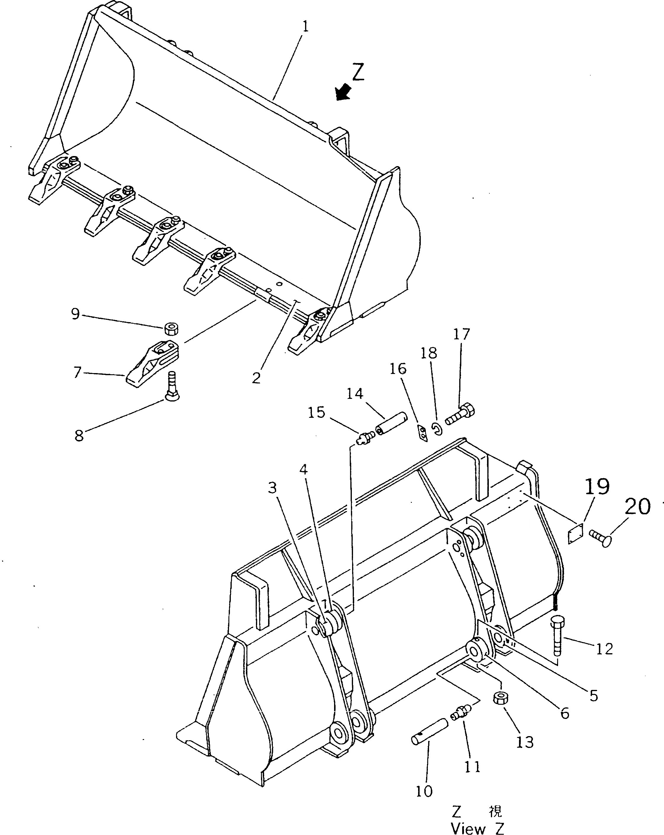
1

103-70-32110

BUCKET

SN: 61001-UP

1шт.

2

103-70-22121

EDGE (WELDED)

SN: 61001-UP

1шт.

3

103-70-32220

PLATE,OUTER (WELDED)

SN: 61001-UP

2шт.

4

103-70-32210

PLATE,INNER (WELDED)

SN: 61001-UP

2шт.

5

103-70-22150

BOSS,OUTER (WELDED)

SN: 61001-UP

2шт.

6

103-70-22160

BOSS,INNER (WELDED)

SN: 61001-UP

2шт.

7

103-70-22140

TOOTH

SN: 61001-UP

6шт.

8

113-70-22160

BOLT

SN: 61001-UP

12шт.

9

113-70-22280

NUT

SN: 61001-UP

12шт.

10

103-70-22170

PIN

SN: 61001-UP

2шт.

11

07020-00000

FITTING,GREASE

SN: 61001-UP

2шт.

12

01011-51000

BOLT

SN: 61001-UP

2шт.

13

01598-01011

NUT

SN: 61001-UP

2шт.

14

103-70-32180

PIN

SN: 61001-UP

2шт.

15

07020-00000

FITTING,GREASE

SN: 61001-UP

2шт.

16

04082-00110

LOCK

SN: 61001-UP

2шт.

17

01010-51030

BOLT

SN: 61001-UP

4шт.

18

01602-21030

WASHER,SPRING

SN: 61001-UP

4шт.

19

09601-00835

PLATE¤ NAME,(LIMITED SUPPLY)

SN: 61001-UP

1шт.

20

04418-13060

SCREW

SN: 61001-UP

4шт.

Выбрано товаров: 20