Запчасти Komatsu D21S-7 КОРПУС БЛОКА УПРАВЛЕНИЯ ПОВОРОТОМ И ОСНОВНАЯ РАМА ОСНОВН. МУФТА¤ ДЕМПФЕР¤ ТРАНСМИССИЯ¤ РУЛЕВ. УПРАВЛЕНИЕ И КОНЕЧНАЯ ПЕРЕДАЧА

Схема запчастей Komatsu D21S-7 - КОРПУС БЛОКА УПРАВЛЕНИЯ ПОВОРОТОМ И ОСНОВНАЯ РАМА ОСНОВН. МУФТА¤ ДЕМПФЕР¤ ТРАНСМИССИЯ¤ РУЛЕВ. УПРАВЛЕНИЕ И КОНЕЧНАЯ ПЕРЕДАЧА
FIT
1:1
100%

Артикул

Название

Примечание

Количество

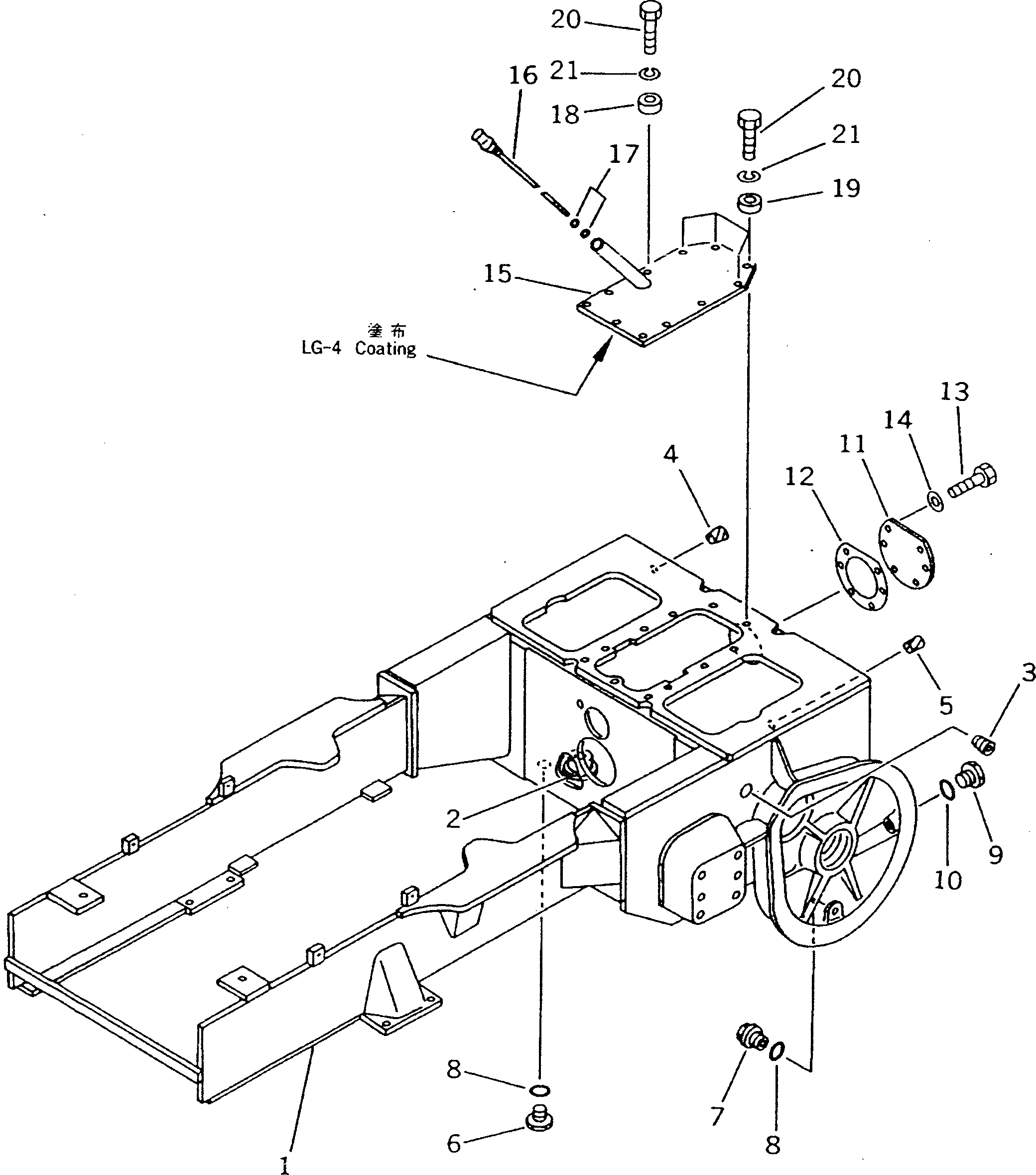
1

103-21-41100

FRAME

SN: 61132-UP

1шт.

|1

103-21-31103

FRAME

SN: 61100-61131

1шт.

|1

103-21-31102

FRAME

SN: 61087-61099

1шт.

|1

0

FRAME

SN: 61001-61086

1шт.

2

103-21-21181

BOSS (WELDED)

SN: 61001-UP

2шт.

3

07043-01019

PLUG

SN: 61001-UP

2шт.

4

104-21-31140

PLUG

SN: 61001-UP

16шт.

5

07049-01012

PLUG

SN: 61001-UP

4шт.

6

07040-12414

PLUG

SN: 61001-UP

2шт.

7

07044-12412

PLUG

SN: 61001-UP

3шт.

8

07002-02434

O-RING

SN: 61001-UP

5шт.

9

07040-13016

PLUG

SN: 61001-UP

2шт.

10

07002-03034

O-RING

SN: 61001-UP

2шт.

11

101-21-11170

PLATE

SN: 61001-UP

1шт.

12

101-21-11161

GASKET

SN: 61076-UP

1шт.

|12

0

GASKET

SN: 61001-61075

1шт.

13

01010-51020

BOLT

SN: 61001-UP

6шт.

14

01643-31032

WASHER

SN: 61001-UP

6шт.

15

103-21-31211

COVER

SN: 61001-UP

1шт.

16

103-21-21231

GAUGE

SN: 61001-UP

1шт.

17

07002-02434

O-RING

SN: 61001-UP

2шт.

18

103-21-31260

BOSS

SN: 61001-UP

7шт.

19

581-95-19870

BOSS

SN: 61001-UP

4шт.

20

01010-51045

BOLT

SN: 61001-UP

11шт.

21

01602-21030

WASHER,SPRING

SN: 61001-UP

11шт.

Выбрано товаров: 25