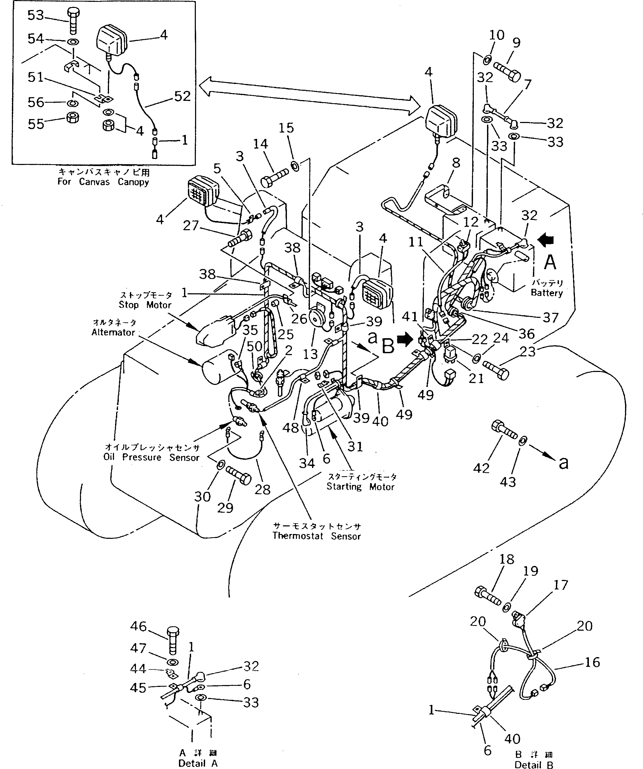
Запчасти Komatsu D21S-7 ЭЛЕКТРИКА (С KEY СТОП МОТОР) КОМПОНЕНТЫ ДВИГАТЕЛЯ И ЭЛЕКТРИКА

Схема запчастей Komatsu D21S-7 - ЭЛЕКТРИКА (С KEY СТОП МОТОР) КОМПОНЕНТЫ ДВИГАТЕЛЯ И ЭЛЕКТРИКА
FIT
1:1
100%

Артикул

Название

Примечание

Количество

1

103-06-33511

WIRE

SN: 61001-61131

1шт.

1

203-06-57241

FUSIBLE LINK

SN: 61001-@

1шт.

2

08036-10814

CLIP

SN: 61001-61131

1шт.

3

103-06-33160

CABLE

SN: 61001-@

2шт.

4

114-06-43251

LAMP ASS'Y

SN: 61001-61131

3шт.

4

421-06-23330

BULB, 70W

SN: 61001-61131

1шт.

5

130-802-5110

CLIP

SN: 61001-@

2шт.

6

103-06-33140

WIRE

SN: 61001-61131

1шт.

7

103-06-31170

WIRE

SN: 61001-61131

1шт.

8

100-06-13150

WIRE

SN: 61001-61131

1шт.

9

01010-51020

BOLT

SN: 61001-@

1шт.

10

01643-31032

WASHER

SN: 61001-@

1шт.

11

114-06-48551

WIRE ASS'Y

SN: 61001-@

1шт.

12

08064-10000

HORN SWITCH,HORN

SN: 61001-@

1шт.

13

08160-62430

HORN

SN: 61085-61131

1шт.

13

08160-62400

HORN

SN: 61001-61084

1шт.

14

01010-50816

BOLT

SN: 61001-@

2шт.

15

01643-30823

WASHER

SN: 61001-@

2шт.

16

104-06-33340

WIRE

SN: 61001-@

1шт.

17

08076-50350

SWITCH

SN: 61001-@

1шт.

18

01010-51030

BOLT

SN: 61001-@

2шт.

19

01643-31032

WASHER

SN: 61001-@

2шт.

20

08034-00414

BAND

SN: 61001-@

2шт.

21

569-06-61960

RELAY

SN: 61001-61131

1шт.

22

287-06-16420

BRACKET

SN: 61001-@

1шт.

23

01010-50610

BOLT

SN: 61001-@

1шт.

24

01643-30623

WASHER

SN: 61001-@

1шт.

25

103-21-31260

BOSS

SN: 61001-@

1шт.

26

04434-50810

CLIP

SN: 61001-61131

1шт.

27

01010-51050

BOLT

SN: 61001-@

1шт.

28

20R-06-11240

WIRE

SN: 61001-@

1шт.

29

01010-51016

BOLT

SN: 61001-@

2шт.

30

01643-31032

WASHER

SN: 61001-@

2шт.

31

201-06-62160

BRACKET

SN: 61001-61131

1шт.

32

08038-00035

CAP

SN: 61001-@

3шт.

33

01640-20816

WASHER

SN: 61001-@

4шт.

34

08038-04030

CAP

SN: 61076-@

1шт.

34

08038-06031

CAP

SN: 61001-61075

1шт.

35

08038-00519

CAP

SN: 61001-@

1шт.

36

08037-02512

GROMMET

SN: 61001-@

1шт.

37

08037-03614

GROMMET

SN: 61001-@

1шт.

38

08036-01414

CLIP

SN: 61001-@

3шт.

39

08036-01814

CLIP

SN: 61001-@

2шт.

40

08036-03014

CLIP

SN: 61001-@

2шт.

41

08036-02514

CLIP

SN: 61001-@

1шт.

42

01010-51016

BOLT

SN: 61001-@

7шт.

43

01643-31032

WASHER

SN: 61001-@

7шт.

44

08053-01512

CLIP

SN: 61001-@

1шт.

45

08036-01414

CLIP

SN: 61001-@

1шт.

46

01010-51016

BOLT

SN: 61001-@

1шт.

47

01643-31032

WASHER

SN: 61001-@

1шт.

48

08036-10614

CLIP

SN: 61001-@

2шт.

49

08034-00414

BAND

SN: 61001-@

6шт.

50

08034-30521

BAND

SN: 61001-@

1шт.

51

104-06-23140

PLATE,(FOR CANVAS CANOPY)

SN: 61001-@

1шт.

52

101-Y69-1140

WIRE,(FOR CANVAS CANOPY)

SN: 61001-@

1шт.

53

01010-51025

BOLT,(FOR CANVAS CANOPY)

SN: 61001-@

1шт.

54

01643-31032

WASHER,(FOR CANVAS CANOPY)

SN: 61001-@

1шт.

55

01580-11008

NUT,(FOR CANVAS CANOPY)

SN: 61001-@

1шт.

56

01602-21030

WASHER,(FOR CANVAS CANOPY)

SN: 61001-@

1шт.

Выбрано товаров: 60