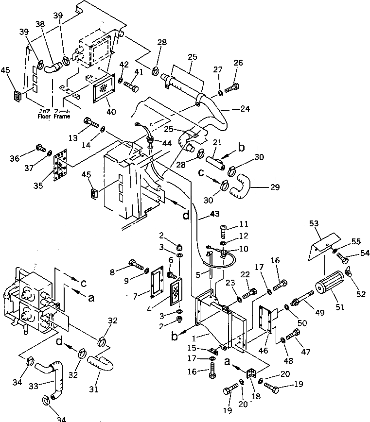
Запчасти Komatsu D275A-2 ОБОГРЕВАТЕЛЬ. ВОЗДУХОВОДЫ (МОРОЗОУСТОЙЧИВ. СПЕЦ-Я) КАБИНА ОПЕРАТОРА И СИСТЕМА УПРАВЛЕНИЯ

Схема запчастей Komatsu D275A-2 - ОБОГРЕВАТЕЛЬ. ВОЗДУХОВОДЫ (МОРОЗОУСТОЙЧИВ. СПЕЦ-Я) КАБИНА ОПЕРАТОРА И СИСТЕМА УПРАВЛЕНИЯ
FIT
1:1
100%

Артикул

Название

Примечание

Количество

1

17M-911-4120

DUST

SN: 10001-UP

1шт.

2

195-Z11-6570

INSERT

SN: 10001-UP

2шт.

3

17M-911-4250

WASHER

SN: 10001-UP

2шт.

4

195-Z11-7710

DAMPER

SN: 10001-UP

1шт.

5

195-Z11-7720

LEVER

SN: 10001-UP

1шт.

6

01220-10308

SCREW

SN: 10001-UP

3шт.

7

17M-911-4140

PLATE

SN: 10001-UP

1шт.

8

01010-50816

BOLT

SN: 10001-UP

6шт.

9

01643-30823

WASHER

SN: 10001-UP

6шт.

10

195-Z11-7750

CLAMP

SN: 10001-UP

1шт.

11

01220-40408

SCREW

SN: 10001-UP

1шт.

12

01641-20405

WASHER

SN: 10001-UP

1шт.

13

01010-51225

BOLT

SN: 10001-UP

7шт.

14

01643-31232

WASHER

SN: 10001-UP

7шт.

15

17M-911-4220

PLATE

SN: 10001-UP

1шт.

16

01010-51225

BOLT

SN: 10001-UP

4шт.

17

01643-31232

WASHER

SN: 10001-UP

4шт.

18

17M-911-4230

PLATE

SN: 10001-UP

1шт.

19

01010-51225

BOLT

SN: 10001-UP

4шт.

20

01643-31232

WASHER

SN: 10001-UP

4шт.

21

17M-911-4180

DUCT

SN: 10001-UP

1шт.

22

01010-51225

BOLT

SN: 10001-UP

2шт.

23

01643-31232

WASHER

SN: 10001-UP

2шт.

24

17M-911-4210

HOSE

SN: 10001-UP

1шт.

25

207-03-51530

CLIP

SN: 10409-UP

3шт.

25

0

CLIP

SN: 10001-10408

3шт.

26

01010-51225

BOLT

SN: 10001-UP

3шт.

27

01643-31232

WASHER

SN: 10001-UP

3шт.

28

07289-00070

CLAMP

SN: 10187-UP

2шт.

28

0

CLAMP

SN: 10001-10186

2шт.

29

195-Z11-7460

HOSE

SN: 10001-UP

1шт.

30

07289-00070

CLAMP

SN: 10187-UP

2шт.

30

0

CLAMP

SN: 10001-10186

2шт.

31

195-Z11-7460

HOSE

SN: 10001-UP

2шт.

32

07289-00070

CLAMP

SN: 10187-UP

4шт.

32

0

CLAMP

SN: 10001-10186

4шт.

33

17M-911-4190

HOSE

SN: 10001-UP

1шт.

34

07289-00070

CLAMP

SN: 10187-UP

2шт.

34

0

CLAMP

SN: 10001-10186

2шт.

35

195-Z11-7670

PLATE

SN: 10001-UP

1шт.

36

01220-40516

SCREW

SN: 10001-UP

6шт.

37

01641-20508

WASHER

SN: 10001-UP

6шт.

38

195-Z11-7510

HOSE

SN: 10001-UP

2шт.

39

07289-00070

CLAMP

SN: 10187-UP

4шт.

39

0

CLAMP

SN: 10001-10186

4шт.

40

195-Z11-3460

COVER

SN: 10001-UP

1шт.

41

01010-50616

BOLT

SN: 10001-UP

4шт.

42

01643-30623

WASHER

SN: 10001-UP

4шт.

43

17M-911-4240

CABLE

SN: 10001-UP

1шт.

44

08037-10610

GROMMET

SN: 10001-UP

1шт.

45

142-979-3221

GRILLE ASS'Y

SN: 10001-UP

6шт.

46

17M-911-4130

DUCT

SN: 10001-UP

1шт.

47

01010-51025

BOLT

SN: 10001-UP

6шт.

48

01643-31032

WASHER

SN: 10001-UP

6шт.

49

195-Z11-4760

ROD

SN: 10001-UP

2шт.

50

01643-31232

WASHER

SN: 10001-UP

2шт.

51

198-911-5720

AIR CLEANER

SN: 10001-UP

2шт.

52

01541-21260

NUT

SN: 10001-UP

2шт.

53

17M-911-4290

COVER

SN: 10001-UP

1шт.

54

01010-51220

BOLT

SN: 10001-UP

2шт.

55

01643-31232

WASHER

SN: 10001-UP

2шт.

Выбрано товаров: 61