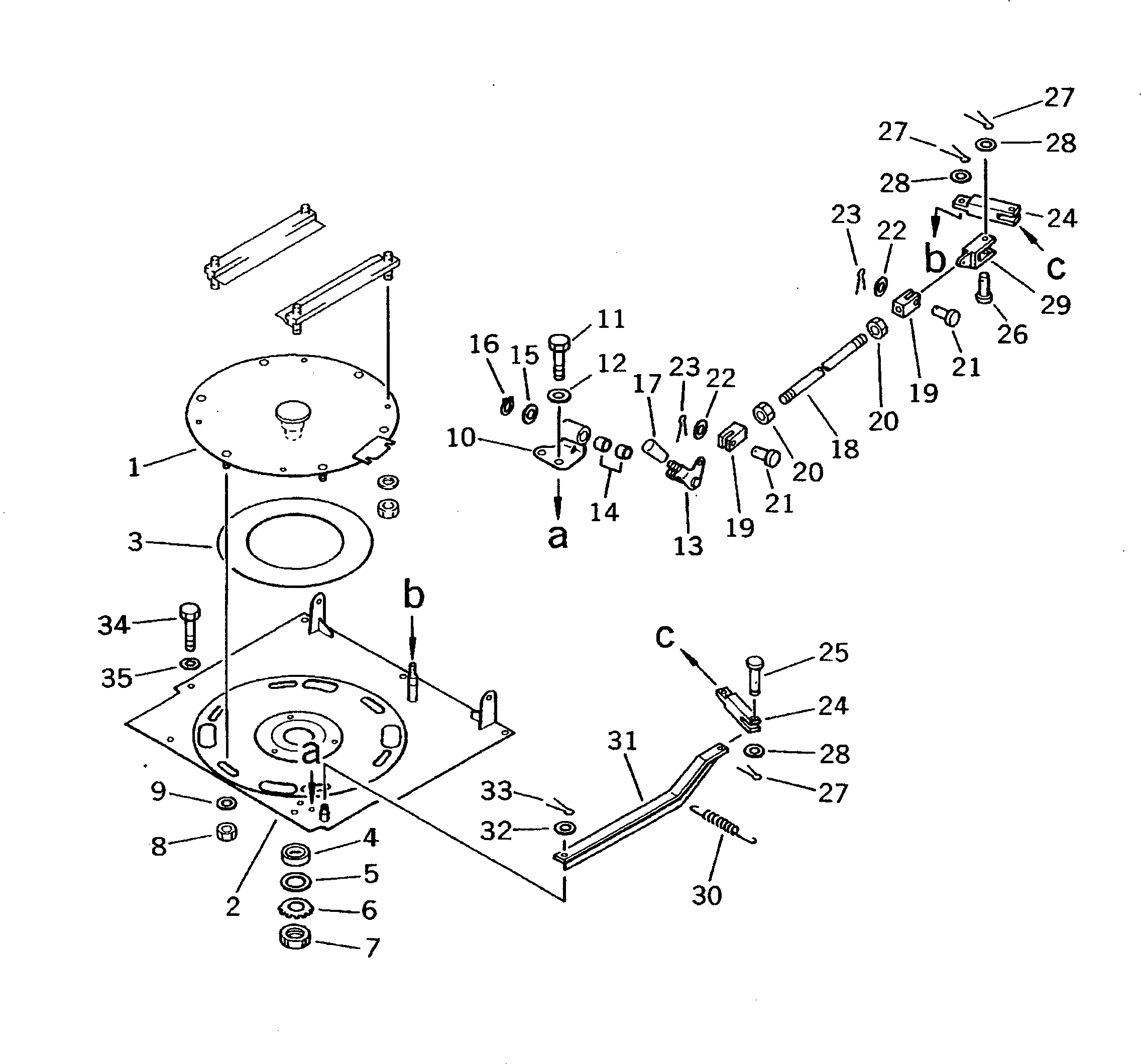
Запчасти Komatsu D275A-2 TURN TABLE(№-7) КАБИНА ОПЕРАТОРА И СИСТЕМА УПРАВЛЕНИЯ

Схема запчастей Komatsu D275A-2 - TURN TABLE(№-7) КАБИНА ОПЕРАТОРА И СИСТЕМА УПРАВЛЕНИЯ
FIT
1:1
100%

Артикул

Название

Примечание

Количество

1

195-57-21120

BASE

SN: 10001-10127

1шт.

2

195-57-21110

COVER

SN: 10001-10127

1шт.

3

198-57-11270

PLATE

SN: 10001-10127

1шт.

4

07177-05512

BUSHING

SN: 10001-10127

1шт.

5

01640-24860

WASHER

SN: 10001-10127

1шт.

6

01658-24823

WASHER

SN: 10001-10127

1шт.

7

01530-04812

NUT

SN: 10001-10127

1шт.

8

01580-11210

NUT

SN: 10001-10127

6шт.

9

01643-31232

WASHER

SN: 10001-10127

6шт.

10

195-57-21130

BRACKET

SN: 10001-10127

1шт.

11

01010-81225

BOLT

SN: 10001-10127

2шт.

12

01643-31232

WASHER

SN: 10001-10127

2шт.

13

195-57-21140

LEVER

SN: 10001-10127

1шт.

14

09350-01615

BUSHING

SN: 10001-10127

2шт.

15

01641-21626

WASHER

SN: 10001-10127

1шт.

16

04064-01610

RING,SNAP

SN: 10001-10127

1шт.

17

09304-01240

KNOB

SN: 10001-10127

1шт.

18

04245-40834

ROD

SN: 10001-10127

1шт.

19

04211-20844

YOKE

SN: 10001-10127

2шт.

20

01580-10806

NUT

SN: 10001-10127

2шт.

21

04205-10825

PIN

SN: 10001-10127

2шт.

22

01641-20812

WASHER

SN: 10001-10127

2шт.

23

04050-12012

PIN,COTTER

SN: 10001-10127

2шт.

24

198-57-11310

YOKE

SN: 10001-10127

2шт.

25

198-57-11290

PIN

SN: 10001-10127

1шт.

26

04205-11245

PIN

SN: 10001-10127

1шт.

27

04050-13020

PIN,COTTER

SN: 10001-10127

3шт.

28

01640-21223

WASHER

SN: 10001-10127

3шт.

29

198-57-11410

YOKE

SN: 10001-10127

1шт.

30

144-43-14361

SPRING

SN: 10001-10127

1шт.

31

195-57-21170

LEVER

SN: 10001-10127

1шт.

32

01640-21223

WASHER

SN: 10001-10127

1шт.

33

04050-13020

PIN,COTTER

SN: 10001-10127

1шт.

34

01010-81235

BOLT

SN: 10001-10127

7шт.

35

01643-31232

WASHER

SN: 10001-10127

7шт.

Выбрано товаров: 0