Запчасти Komatsu D275A-2 КАБИНА (/)¤ STRIKER И ФИКСАТОР ДВЕРИ (МОРОЗОУСТОЙЧИВ. СПЕЦ-Я)(№7-) КАБИНА ОПЕРАТОРА И СИСТЕМА УПРАВЛЕНИЯ

Схема запчастей Komatsu D275A-2 - КАБИНА (/)¤ STRIKER И ФИКСАТОР ДВЕРИ (МОРОЗОУСТОЙЧИВ. СПЕЦ-Я)(№7-) КАБИНА ОПЕРАТОРА И СИСТЕМА УПРАВЛЕНИЯ
FIT
1:1
100%

Артикул

Название

Примечание

Количество

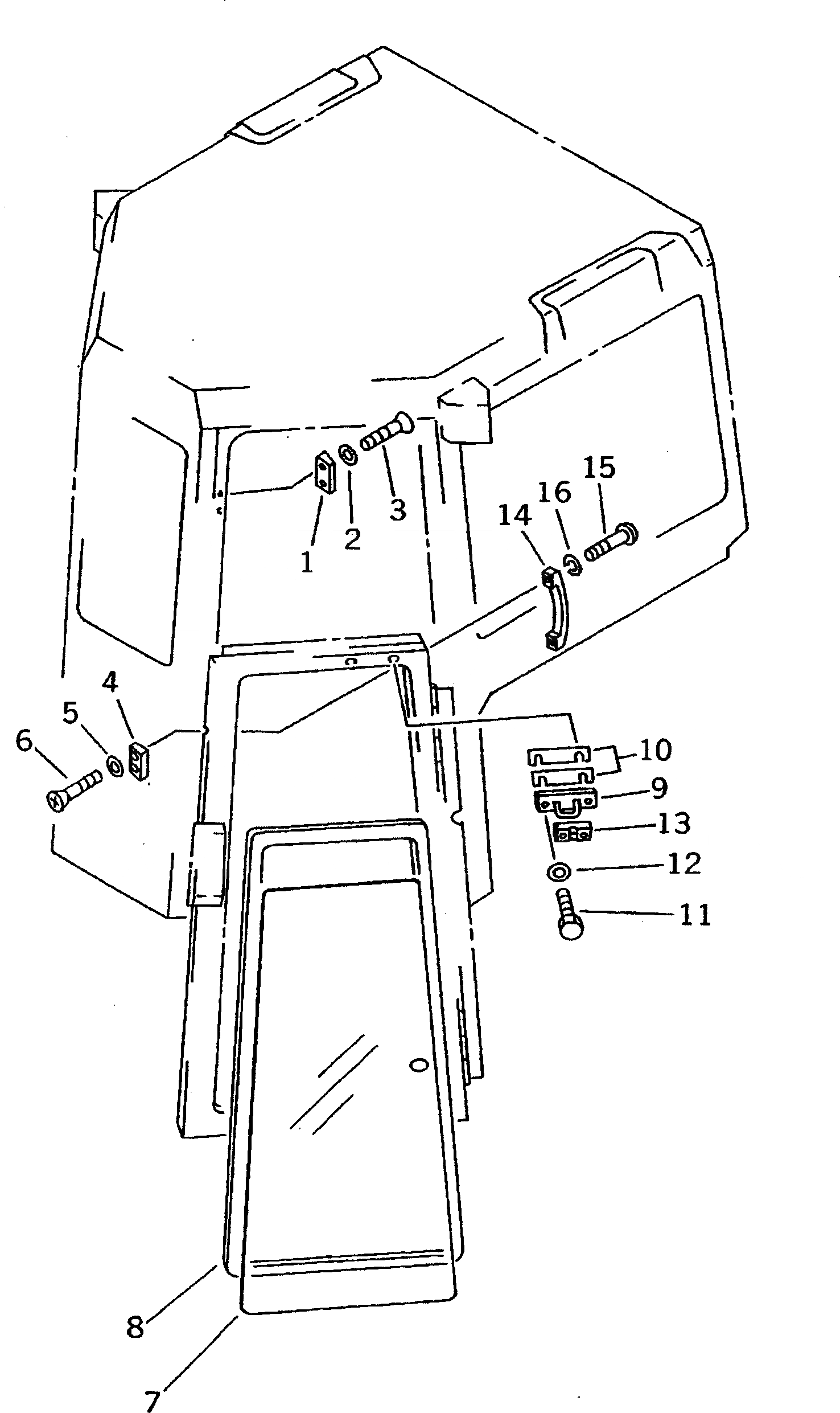
1

566-54-13410

STRIKER

SN: 10471-UP

2шт.

2

566-54-13570

WASHER

SN: 10471-UP

4шт.

3

195-Z11-1740

SCREW

SN: 10471-UP

4шт.

4

566-54-14420

STOPPER

SN: 10471-UP

2шт.

5

566-54-13570

WASHER

SN: 10471-UP

4шт.

6

195-Z11-1740

SCREW

SN: 10471-UP

4шт.

7

195-Z11-3250

GLASS

SN: 10471-UP

1шт.

8

195-Z11-3230

STRIP

SN: 10471-UP

1шт.

9

195-Z11-2750

BRACKET

SN: 10471-UP

1шт.

10

195-Z11-1480

SHIM, 1.6MM

SN: 10471-UP

4шт.

11

01010-81040

BOLT

SN: 10471-UP

2шт.

12

01643-31032

WASHER

SN: 10471-UP

2шт.

13

195-Z11-1470

RUBBER,L.H.

SN: 10471-UP

1шт.

14

195-Z11-3531

GRIP

SN: 10471-UP

1шт.

15

01010-81025

BOLT

SN: 10471-UP

2шт.

16

01643-31032

WASHER

SN: 10471-UP

2шт.

Выбрано товаров: 16