Запчасти Komatsu D275A-2 КАБИНА (8/)¤ ВНУТР. КРЫШКАКРЫШКАAND УПЛОТНЕНИЕ(№7-) КАБИНА ОПЕРАТОРА И СИСТЕМА УПРАВЛЕНИЯ

Схема запчастей Komatsu D275A-2 - КАБИНА (8/)¤ ВНУТР. КРЫШКАКРЫШКАAND УПЛОТНЕНИЕ(№7-) КАБИНА ОПЕРАТОРА И СИСТЕМА УПРАВЛЕНИЯ
FIT
1:1
100%

Артикул

Название

Примечание

Количество

|$2

198-Z11-0022

STEEL CAB ASS'Y

SN: 10128-UP

1шт.

|$$2

THESE ASSEMBLIES CONSIST OF ALL PARTS SHOWN IN FIGS.K0200-01A0 TO K0200-13A0.

-1шт.

|$4

198-Z11-0030

STEEL CAB ASS'Y

SN: 10001-UP

1шт.

|$$4

THIS ASSEMBLY CONSISTS OF ALL PARTS SHOWN IN FIGS.K0200-01A0 TO K0200-14A0.

-1шт.

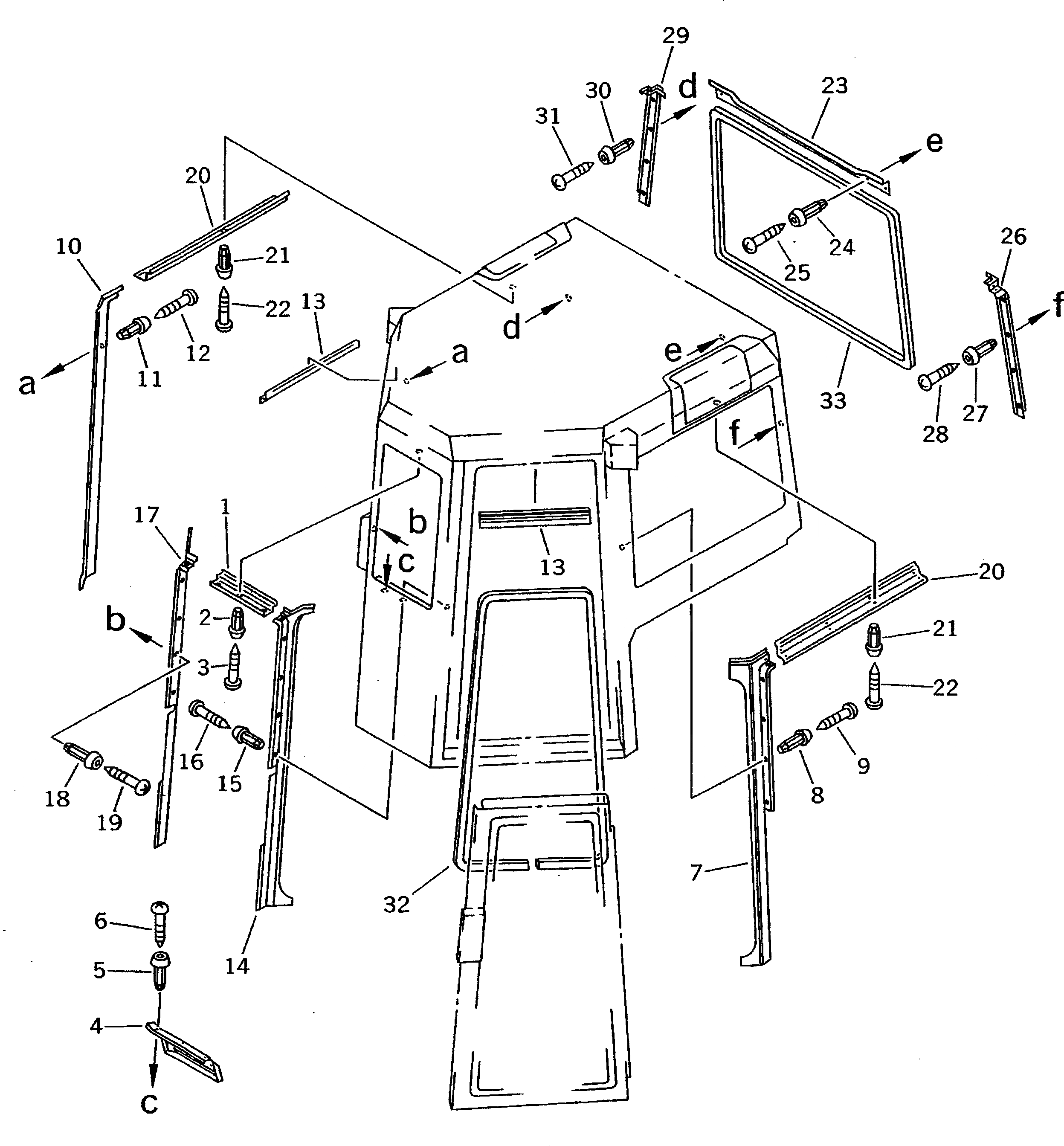
1

195-Z11-1830

COVER

SN: 10471-UP

1шт.

2

195-Z11-1950

CLIP

SN: 10471-UP

1шт.

3

195-Z11-1960

SCREW

SN: 10471-UP

1шт.

4

195-Z11-1840

COVER

SN: 10471-UP

1шт.

5

195-Z11-1950

CLIP

SN: 10471-UP

3шт.

6

195-Z11-1960

SCREW

SN: 10471-UP

3шт.

7

195-Z11-1850

COVER

SN: 10471-UP

1шт.

8

195-Z11-1950

CLIP

SN: 10471-UP

6шт.

9

195-Z11-1960

SCREW

SN: 10471-UP

6шт.

10

195-Z11-1860

COVER

SN: 10471-UP

1шт.

11

195-Z11-1950

CLIP

SN: 10471-UP

6шт.

12

195-Z11-1960

SCREW

SN: 10471-UP

6шт.

13

195-Z11-1870

COVER

SN: 10471-UP

2шт.

14

195-Z11-1880

COVER,L.H.

SN: 10471-UP

1шт.

15

195-Z11-1950

CLIP

SN: 10471-UP

5шт.

16

195-Z11-1960

SCREW

SN: 10471-UP

5шт.

17

195-Z11-1890

COVER,R.H.

SN: 10471-UP

1шт.

18

195-Z11-1950

CLIP

SN: 10471-UP

5шт.

19

195-Z11-1960

SCREW

SN: 10471-UP

5шт.

20

195-Z11-1910

COVER

SN: 10471-UP

2шт.

21

195-Z11-1950

CLIP

SN: 10471-UP

8шт.

22

195-Z11-1960

SCREW

SN: 10471-UP

8шт.

23

195-Z11-1920

COVER

SN: 10471-UP

1шт.

24

195-Z11-1950

CLIP

SN: 10471-UP

3шт.

25

195-Z11-1960

SCREW

SN: 10471-UP

3шт.

26

195-Z11-1931

COVER,L.H.

SN: 10471-UP

1шт.

27

195-Z11-1950

CLIP

SN: 10471-UP

7шт.

28

195-Z11-1960

SCREW

SN: 10471-UP

7шт.

29

195-Z11-1941

COVER,R.H.

SN: 10471-UP

1шт.

30

195-Z11-1950

CLIP

SN: 10471-UP

7шт.

31

195-Z11-1960

SCREW

SN: 10471-UP

7шт.

32

195-Z11-2110

SEAL

SN: 10471-UP

2шт.

33

195-Z11-1990

SEAL

SN: 10471-UP

1шт.

Выбрано товаров: 37