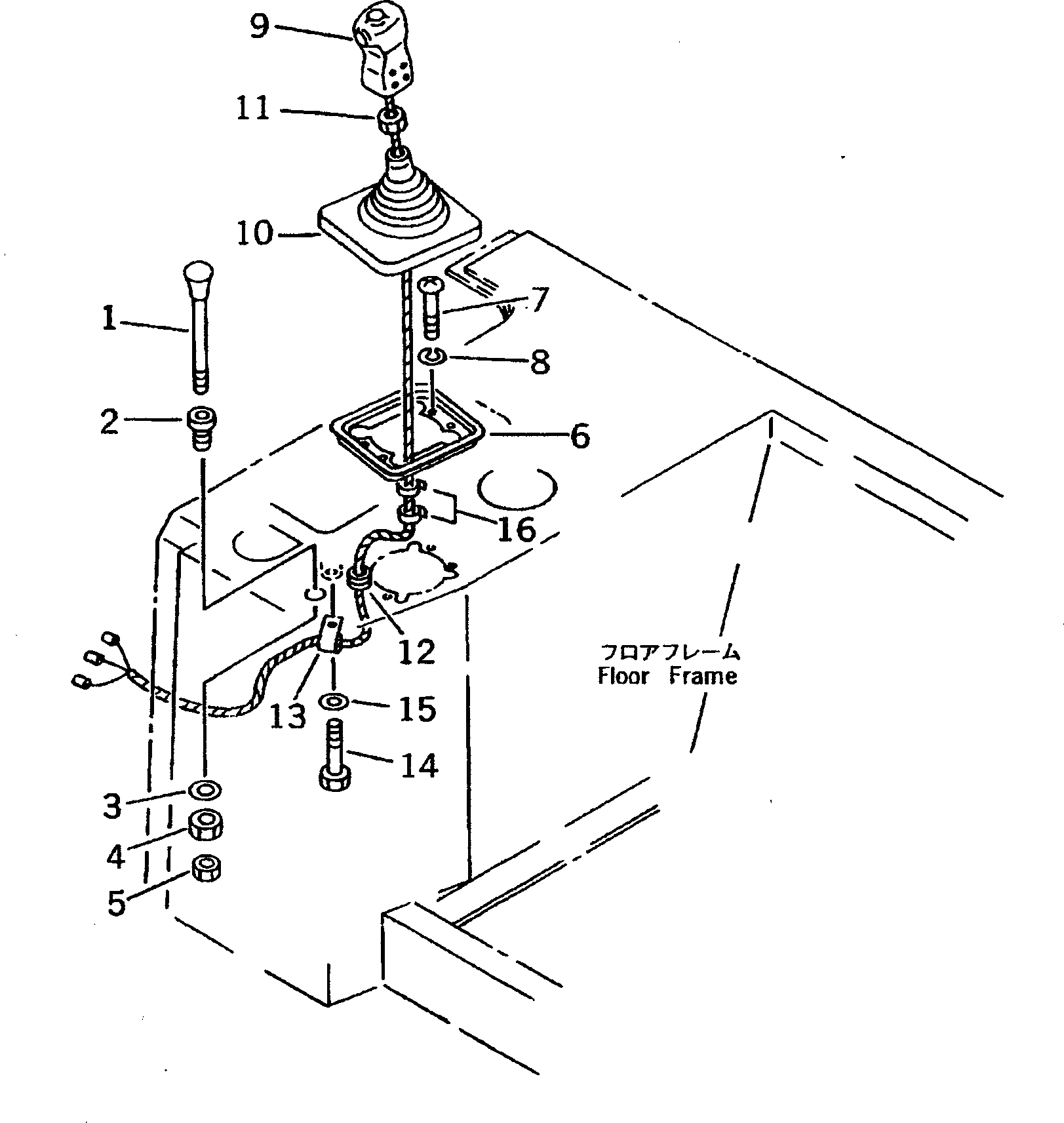
Запчасти Komatsu D275A-2 РЫЧАГ УПРАВЛЕНИЯ ОТВАЛОМ БЛОКИР. И KNOB (НАКЛОНЯЕМ. ОТВАЛ) (С РЫХЛИТЕЛЕМ) КАБИНА ОПЕРАТОРА И СИСТЕМА УПРАВЛЕНИЯ

Схема запчастей Komatsu D275A-2 - РЫЧАГ УПРАВЛЕНИЯ ОТВАЛОМ БЛОКИР. И KNOB (НАКЛОНЯЕМ. ОТВАЛ) (С РЫХЛИТЕЛЕМ) КАБИНА ОПЕРАТОРА И СИСТЕМА УПРАВЛЕНИЯ
FIT
1:1
100%

Артикул

Название

Примечание

Количество

1

195-61-45211

KNOB

SN: 10001-UP

1шт.

2

175-61-31750

BOSS

SN: 10001-UP

1шт.

3

01640-22232

WASHER

SN: 10001-UP

1шт.

4

195-61-45230

NUT

SN: 10001-UP

1шт.

5

01580-10806

NUT

SN: 10001-UP

1шт.

6

195-61-45730

BASE

SN: 10001-UP

1шт.

7

01220-40508

SCREW

SN: 10001-UP

3шт.

8

01601-20513

WASHER,SPRING

SN: 10001-UP

3шт.

9

195-61-45741

KNOB

SN: 10001-UP

1шт.

10

195-61-45140

BOOT

SN: 10001-UP

1шт.

11

01580-11411

NUT

SN: 10001-UP

1шт.

12

205-54-76230

GROMMET

SN: 10001-UP

1шт.

13

419-09-11160

CLIP

SN: 10001-UP

1шт.

14

01010-80816

BOLT

SN: 10001-UP

1шт.

15

01643-30823

WASHER

SN: 10001-UP

1шт.

16

08034-00414

BAND

SN: 10001-UP

4шт.

Выбрано товаров: 16