Запчасти Komatsu D275A-2 РЫЧАГ УПРАВЛЕНИЯ ОТВАЛОМ БЛОКИР. И ЗАГЛУШКА КРЫШКА(БЕЗ РЫХЛИТЕЛЯ) КАБИНА ОПЕРАТОРА И СИСТЕМА УПРАВЛЕНИЯ

Схема запчастей Komatsu D275A-2 - РЫЧАГ УПРАВЛЕНИЯ ОТВАЛОМ БЛОКИР. И ЗАГЛУШКА КРЫШКА(БЕЗ РЫХЛИТЕЛЯ) КАБИНА ОПЕРАТОРА И СИСТЕМА УПРАВЛЕНИЯ
FIT
1:1
100%

Артикул

Название

Примечание

Количество

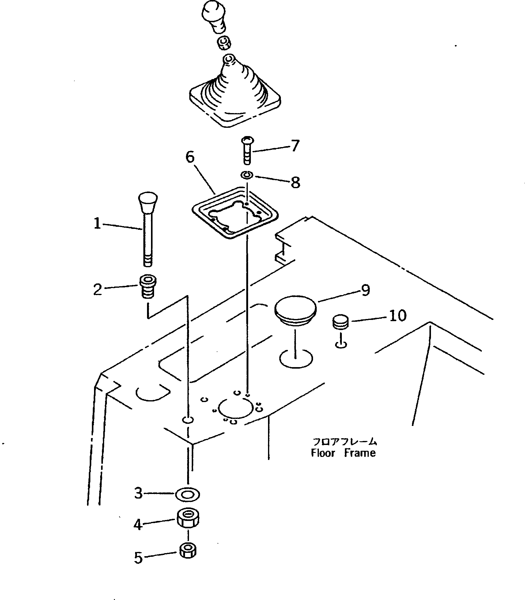
1

195-61-45211

KNOB

SN: 10001-UP

1шт.

2

175-61-31750

BOSS

SN: 10001-UP

1шт.

3

01640-22232

WASHER

SN: 10001-UP

1шт.

4

195-61-45230

NUT

SN: 10001-UP

1шт.

5

01580-10806

NUT

SN: 10001-UP

1шт.

6

195-61-45130

BASE

SN: 10001-UP

1шт.

7

01220-40508

SCREW

SN: 10001-UP

4шт.

8

01601-20513

WASHER,SPRING

SN: 10001-UP

4шт.

9

195-54-45460

CAP

SN: 10001-UP

1шт.

10

09415-01610

CAP

SN: 10001-UP

1шт.

Выбрано товаров: 10