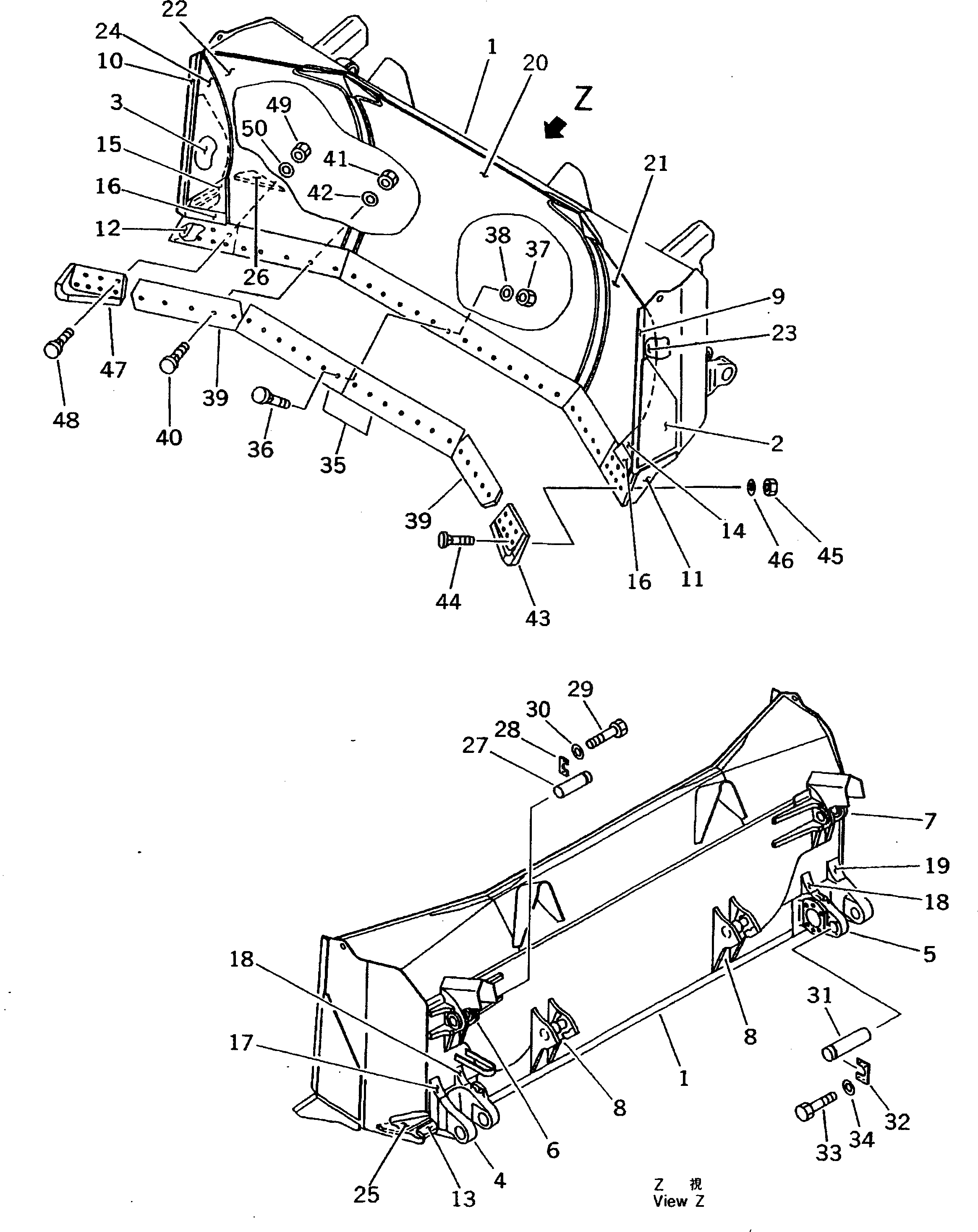
Запчасти Komatsu D275A-2 СФЕРИЧ. ОТВАЛ (УСИЛЕНН.) РАБОЧЕЕ ОБОРУДОВАНИЕ

Схема запчастей Komatsu D275A-2 - СФЕРИЧ. ОТВАЛ (УСИЛЕНН.) РАБОЧЕЕ ОБОРУДОВАНИЕ
FIT
1:1
100%

Артикул

Название

Примечание

Количество

|$1

17M-72-21240

BLADE

SN: 10001-UP

1шт.

1

0

BLADE

SN: 10127-UP

1шт.

1

0

BLADE (WELDED)

SN: 10001-10126

1шт.

2

17M-72-21170

PLATE,L.H. (WELDED)

SN: 10001-UP

1шт.

3

17M-72-21180

PLATE,R.H. (WELDED)

SN: 10001-UP

1шт.

4

17M-71-21121

BRACKET,L.H. (WELDED)

SN: 10001-UP

1шт.

5

17M-71-21131

BRACKET,R.H. (WELDED)

SN: 10001-UP

1шт.

6

17M-71-21140

BRACKET,L.H. (WELDED)

SN: 10001-UP

1шт.

7

17M-71-21150

BRACKET,R.H. (WELDED)

SN: 10001-UP

1шт.

8

17M-71-22290

BRACKET (WELDED)

SN: 10001-UP

2шт.

9

17M-72-21140

PLATE,L.H. (WELDED)

SN: 10001-UP

1шт.

10

17M-72-21150

PLATE,R.H. (WELDED)

SN: 10001-UP

1шт.

11

17M-72-21120

PLATE,L.H. (WELDED)

SN: 10001-UP

1шт.

12

17M-72-21130

PLATE,R.H. (WELDED)

SN: 10001-UP

1шт.

13

17M-71-21631

PLATE (WELDED)

SN: 10001-UP

2шт.

14

17M-72-21190

STOPPER (WELDED)

SN: 10001-UP

1шт.

15

17M-72-21210

STOPPER (WELDED)

SN: 10001-UP

1шт.

16

17M-71-21830

STOPPER (WELDED)

SN: 10001-UP

2шт.

17

17M-71-21861

PLATE,L.H. (WELDED)

SN: 10001-UP

1шт.

18

17M-71-21870

PLATE (WELDED)

SN: 10001-UP

2шт.

19

17M-71-21880

PLATE,R.H. (WELDED)

SN: 10001-UP

1шт.

20

17M-72-21250

PLATE (WELDED)

SN: 10001-UP

1шт.

21

17M-72-21270

PLATE,L.H. (WELDED)

SN: 10001-UP

1шт.

22

17M-72-21280

PLATE,R.H. (WELDED)

SN: 10001-UP

1шт.

23

17M-72-21290

PLATE,L.H. (WELDED)

SN: 10001-UP

1шт.

24

17M-72-21310

PLATE,R.H. (WELDED)

SN: 10001-UP

1шт.

25

17M-72-21320

PLATE,L.H. (WELDED)

SN: 10001-UP

1шт.

26

17M-72-21330

PLATE,R.H. (WELDED)

SN: 10001-UP

1шт.

27

17M-71-21710

PIN

SN: 10001-UP

2шт.

28

17M-71-21730

LOCK

SN: 10001-UP

2шт.

29

01010-61640

BOLT

SN: 10001-UP

4шт.

30

01643-31645

WASHER

SN: 10001-UP

4шт.

31

17M-71-21390

PIN

SN: 10001-UP

2шт.

32

17M-71-21610

LOCK

SN: 10001-UP

2шт.

33

01010-61640

BOLT

SN: 10001-UP

8шт.

34

01643-31645

WASHER

SN: 10001-UP

8шт.

35

195-71-11654

EDGE,CUTTING

SN: 10001-UP

2шт.

36

195-71-52280

BOLT

SN: 10001-UP

14шт.

37

17M-71-21530

NUT

SN: 10001-UP

14шт.

38

01643-22460

WASHER

SN: 10001-UP

14шт.

39

17M-72-21160

EDGE,CUTTING

SN: 10001-UP

2шт.

40

195-71-52280

BOLT

SN: 10001-UP

10шт.

41

17M-71-21530

NUT

SN: 10001-UP

10шт.

42

01643-22460

WASHER

SN: 10001-UP

10шт.

43

17M-71-21930

BIT,END, L.H.

SN: 10001-UP

1шт.

43

195-71-51630

BIT,END, L.H. (FOR LIMESTONE)

SN: 10001-UP

1шт.

44

195-71-52280

BOLT

SN: 10001-UP

7шт.

45

17M-71-21530

NUT

SN: 10001-UP

7шт.

46

01643-22460

WASHER

SN: 10001-UP

7шт.

47

17M-71-21940

BIT,END, R.H.

SN: 10001-UP

1шт.

47

195-71-51640

BIT,END, R.H. (FOR LIMESTONE)

SN: 10001-UP

1шт.

48

195-71-52280

BOLT

SN: 10001-UP

7шт.

49

17M-71-21530

NUT

SN: 10001-UP

7шт.

50

01643-22460

WASHER

SN: 10001-UP

7шт.

Выбрано товаров: 0