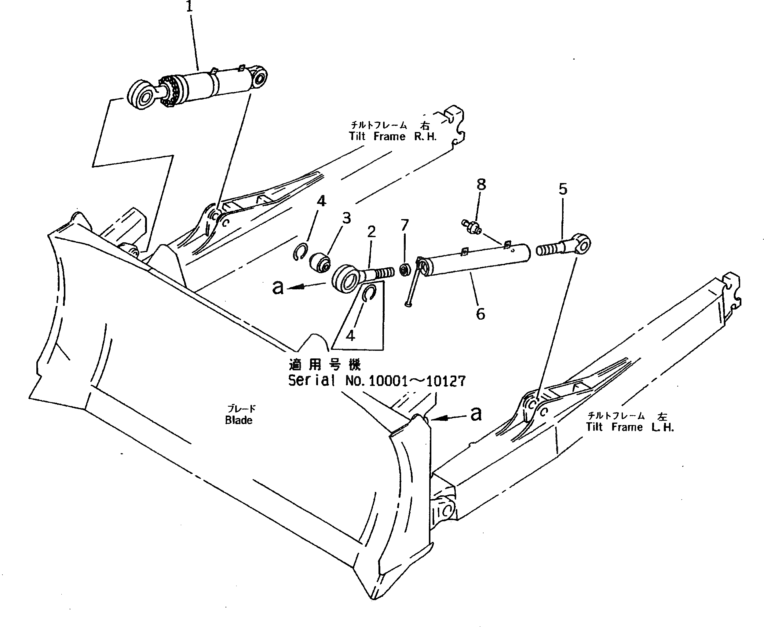
Запчасти Komatsu D275A-2 ЦИЛИНДР ПЕРЕКОСА ОТВАЛА И БАЛКА (ДЛЯ ОТВАЛА С ПЕРЕКОСОМ) РАБОЧЕЕ ОБОРУДОВАНИЕ

Схема запчастей Komatsu D275A-2 - ЦИЛИНДР ПЕРЕКОСА ОТВАЛА И БАЛКА (ДЛЯ ОТВАЛА С ПЕРЕКОСОМ) РАБОЧЕЕ ОБОРУДОВАНИЕ
FIT
1:1
100%

Артикул

Название

Примечание

Количество

1

0

CYLINDER ASS'Y

SN: 10385-UP

1шт.

1

0

CYLINDER ASS'Y

SN: 10001-10384

1шт.

2

17M-71-21681

SCREW

SN: 10128-UP

1шт.

2

17M-71-21680

SCREW

SN: 10001-10127

1шт.

3

17M-71-21590

BUSHING

SN: 10001-UP

1шт.

4

04071-00150

RING,SNAP

SN: 10128-UP

1шт.

4

04071-00150

RING,SNAP

SN: 10001-10127

2шт.

5

17M-71-21540

SCREW

SN: 10001-UP

1шт.

6

17M-71-21561

BRACE

SN: 10001-UP

1шт.

7

154-50-11250

SEAL,DUST

SN: 10001-UP

1шт.

8

07020-00000

FITTING,GREASE

SN: 10001-UP

2шт.

Выбрано товаров: 11