Запчасти Komatsu D275A-2 РЫХЛИТЕЛЬ (ДЛЯ МНОГОСТОЕЧН. РЫХЛИТ.) РАБОЧЕЕ ОБОРУДОВАНИЕ

Схема запчастей Komatsu D275A-2 - РЫХЛИТЕЛЬ (ДЛЯ МНОГОСТОЕЧН. РЫХЛИТ.) РАБОЧЕЕ ОБОРУДОВАНИЕ
FIT
1:1
100%

Артикул

Название

Примечание

Количество

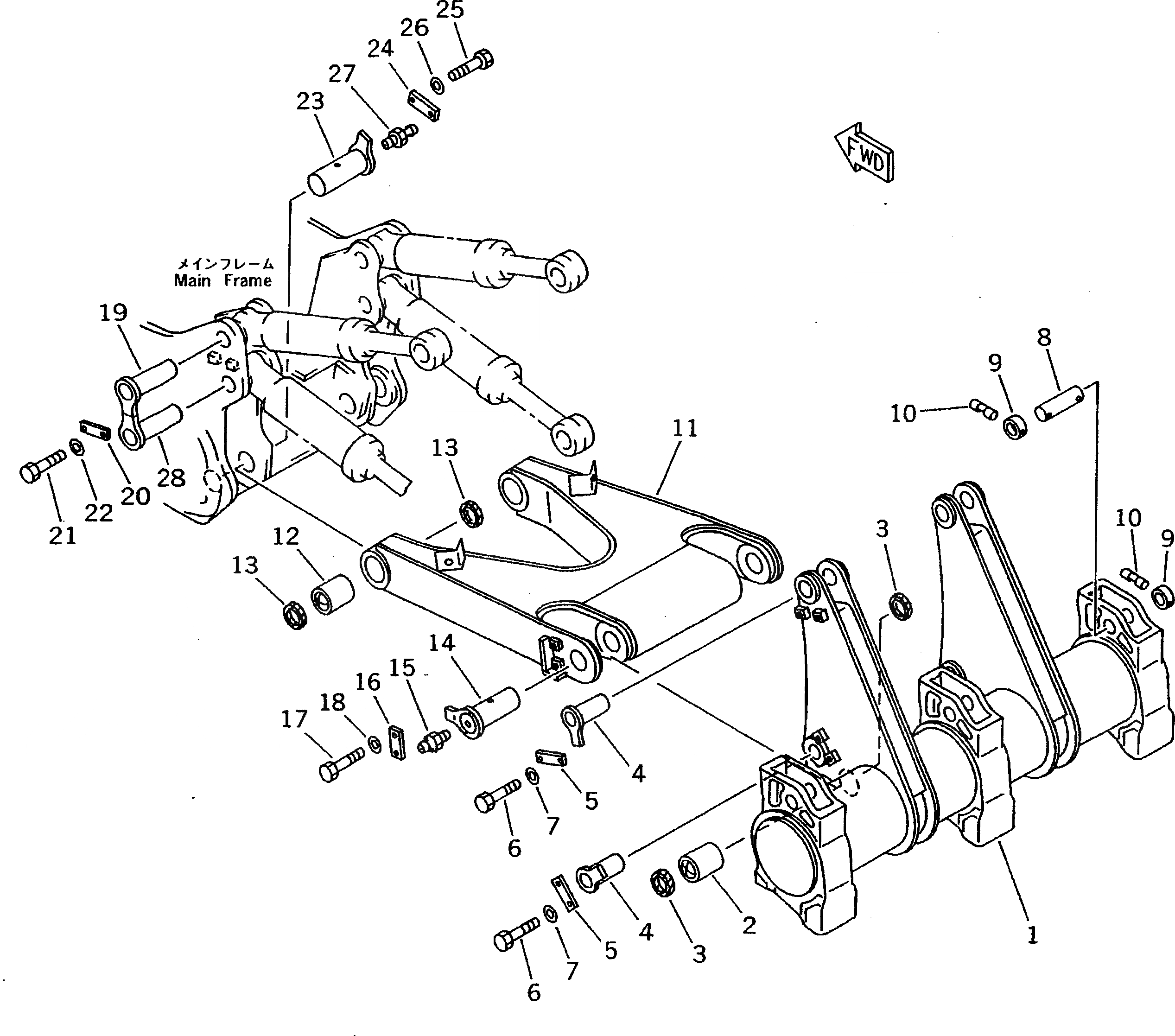
1

17M-78-21121

BEAM

SN: 10001-UP

1шт.

2

175-78-61271

BUSHING

SN: 10001-UP

2шт.

3

175-78-61281

SEAL,DUST

SN: 10001-UP

4шт.

4

17M-78-11171

PIN

SN: 10001-UP

4шт.

5

205-70-61560

PLATE

SN: 10001-UP

4шт.

6

01010-62040

BOLT

SN: 10001-UP

8шт.

7

01643-32060

WASHER

SN: 10001-UP

8шт.

8

195-78-41370

PIN

SN: 10001-UP

3шт.

9

195-78-41360

COLLAR

SN: 10001-UP

6шт.

10

09244-02508

PIN

SN: 10001-UP

6шт.

11

17M-78-21111

ARM

SN: 10001-UP

1шт.

12

175-78-61271

BUSHING

SN: 10001-UP

2шт.

13

175-78-61281

SEAL,DUST

SN: 10001-UP

4шт.

14

17M-78-11150

PIN

SN: 10001-UP

2шт.

15

07020-00000

FITTING,GREASE

SN: 10001-UP

2шт.

16

205-70-61560

PLATE

SN: 10001-UP

2шт.

17

01010-62040

BOLT

SN: 10001-UP

4шт.

18

01643-32060

WASHER

SN: 10001-UP

4шт.

19

17M-78-11160

PIN

SN: 10001-UP

2шт.

20

205-70-61560

PLATE

SN: 10001-UP

2шт.

21

01010-62040

BOLT

SN: 10001-UP

4шт.

22

01010-62040

BOLT

SN: 10001-UP

4шт.

23

17M-78-11141

PIN

SN: 10001-UP

2шт.

24

205-70-61560

PLATE

SN: 10001-UP

2шт.

25

01010-62040

BOLT

SN: 10001-UP

4шт.

26

01643-32060

WASHER

SN: 10001-UP

4шт.

27

07020-00000

FITTING,GREASE

SN: 10001-UP

2шт.

28

17M-78-11160

PIN

SN: 10001-UP

2шт.

Выбрано товаров: 28