Запчасти Komatsu D275A-2 ЦЕНТР ТЯЖЕСТИ ЧАСТИ РАЗНОЕ

Схема запчастей Komatsu D275A-2 - ЦЕНТР ТЯЖЕСТИ ЧАСТИ РАЗНОЕ
FIT
1:1
100%

Артикул

Название

Примечание

Количество

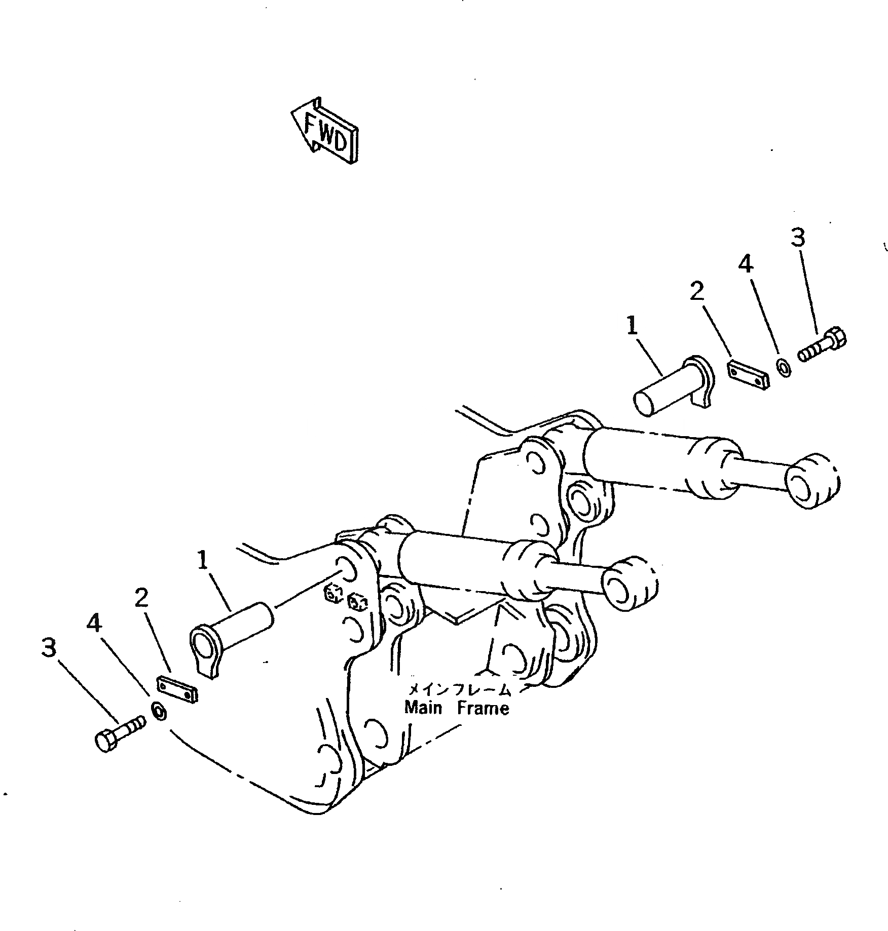
1

17M-78-11160

PIN

SN: 10001-UP

2шт.

2

205-70-61560

PLATE

SN: 10001-UP

2шт.

3

01010-62040

BOLT

SN: 10001-UP

4шт.

4

01643-32060

WASHER

SN: 10001-UP

4шт.

Выбрано товаров: 4