Запчасти Komatsu D275A-2 УПРАВЛЯЮЩ. КЛАПАН (ПОДЪЕМ. ОТВАЛА) (/) ОСНОВН. КОМПОНЕНТЫ И РЕМКОМПЛЕКТЫ

Схема запчастей Komatsu D275A-2 - УПРАВЛЯЮЩ. КЛАПАН (ПОДЪЕМ. ОТВАЛА) (/) ОСНОВН. КОМПОНЕНТЫ И РЕМКОМПЛЕКТЫ
FIT
1:1
100%

Артикул

Название

Примечание

Количество

|$2

709-61-11206

VALVE ASS'Y

SN: 10001-UP

1шт.

|$3

0

VALVE ASS'Y

SN: (10001-10140)

1шт.

|$$3

THESE ASSEMBLIES CONSIST OF ALL PARTS SHOWN IN FIGS.Y1660-01A0 TO Y1660-03A0.

-1шт.

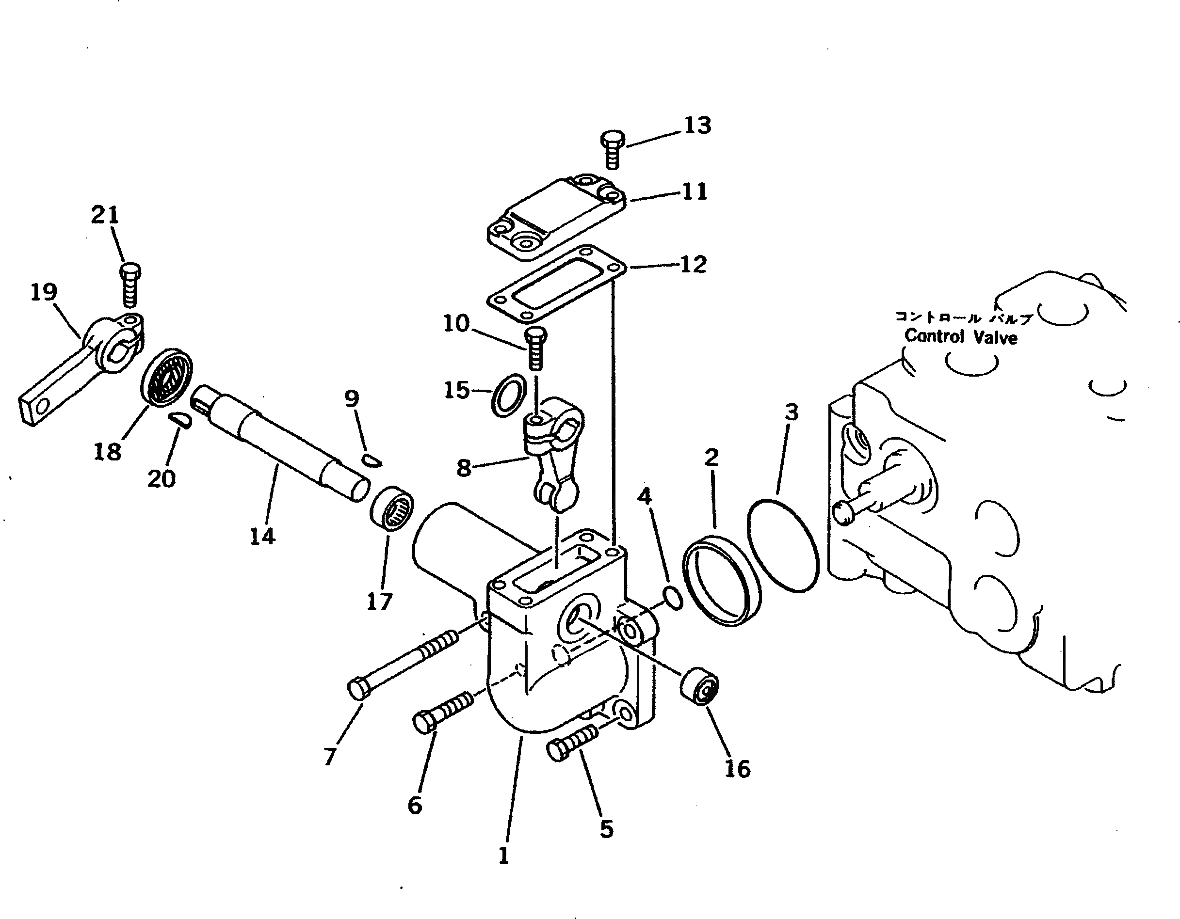
1

709-61-11450

CASE

SN: 10001-UP

1шт.

2

709-61-11440

COLLAR

SN: 10001-UP

1шт.

3

07000-02070

O-RING

SN: 10001-UP

1шт.

4

07000-02015

O-RING

SN: 10001-UP

1шт.

5

01010-51030

BOLT

SN: 10001-UP

2шт.

6

01010-51040

BOLT

SN: 10001-UP

1шт.

7

01010-51090

BOLT

SN: 10001-UP

1шт.

8

700-93-11780

LEVER

SN: 10001-UP

1шт.

9

04010-00416

KEY

SN: 10001-UP

1шт.

10

01010-30825

BOLT

SN: 10001-UP

1шт.

11

700-93-11790

PLATE

SN: 10001-UP

1шт.

12

700-93-11811

GASKET

SN: 10141-UP

1шт.

12

700-93-11810

GASKET

SN: 10001-10140

1шт.

13

01010-30820

BOLT

SN: 10001-UP

4шт.

14

709-61-11460

SHAFT

SN: 10001-UP

1шт.

15

709-61-11480

SPACER

SN: 10001-UP

1шт.

16

700-93-11740

BEARING,NEEDLE

SN: 10001-UP

1шт.

17

700-93-11750

BEARING,NEEDLE

SN: 10001-UP

1шт.

18

700-93-11762

SEAL,OIL

SN: 10001-UP

1шт.

19

709-61-11470

LEVER

SN: 10001-UP

1шт.

20

04010-00519

KEY

SN: 10001-UP

1шт.

21

01010-30825

BOLT

SN: 10001-UP

1шт.

Выбрано товаров: 25