Запчасти Komatsu D275A-2 КАБИНА (/)¤ БОКОВ. ОКНА¤ ЛЕВ.(№7-) КАБИНА ОПЕРАТОРА И СИСТЕМА УПРАВЛЕНИЯ

Схема запчастей Komatsu D275A-2 - КАБИНА (/)¤ БОКОВ. ОКНА¤ ЛЕВ.(№7-) КАБИНА ОПЕРАТОРА И СИСТЕМА УПРАВЛЕНИЯ
FIT
1:1
100%

Артикул

Название

Примечание

Количество

|1

198-Z11-0022

STEEL CAB ASS'Y

SN: 10128-UP

1шт.

|$$2

THESE ASSEMBLIES CONSIST OF ALL PARTS SHOWN IN FIGS.K0200-01A0 TO K0200-14A0.

-1шт.

|1

198-Z11-0030

STEEL CAB ASS'Y

SN: 10001-UP

1шт.

|$$4

THIS ASSEMBLY CONSISTS OF ALL PARTS SHOWN IN FIGS.K0200-01A0 TO K0200-14A0.

-1шт.

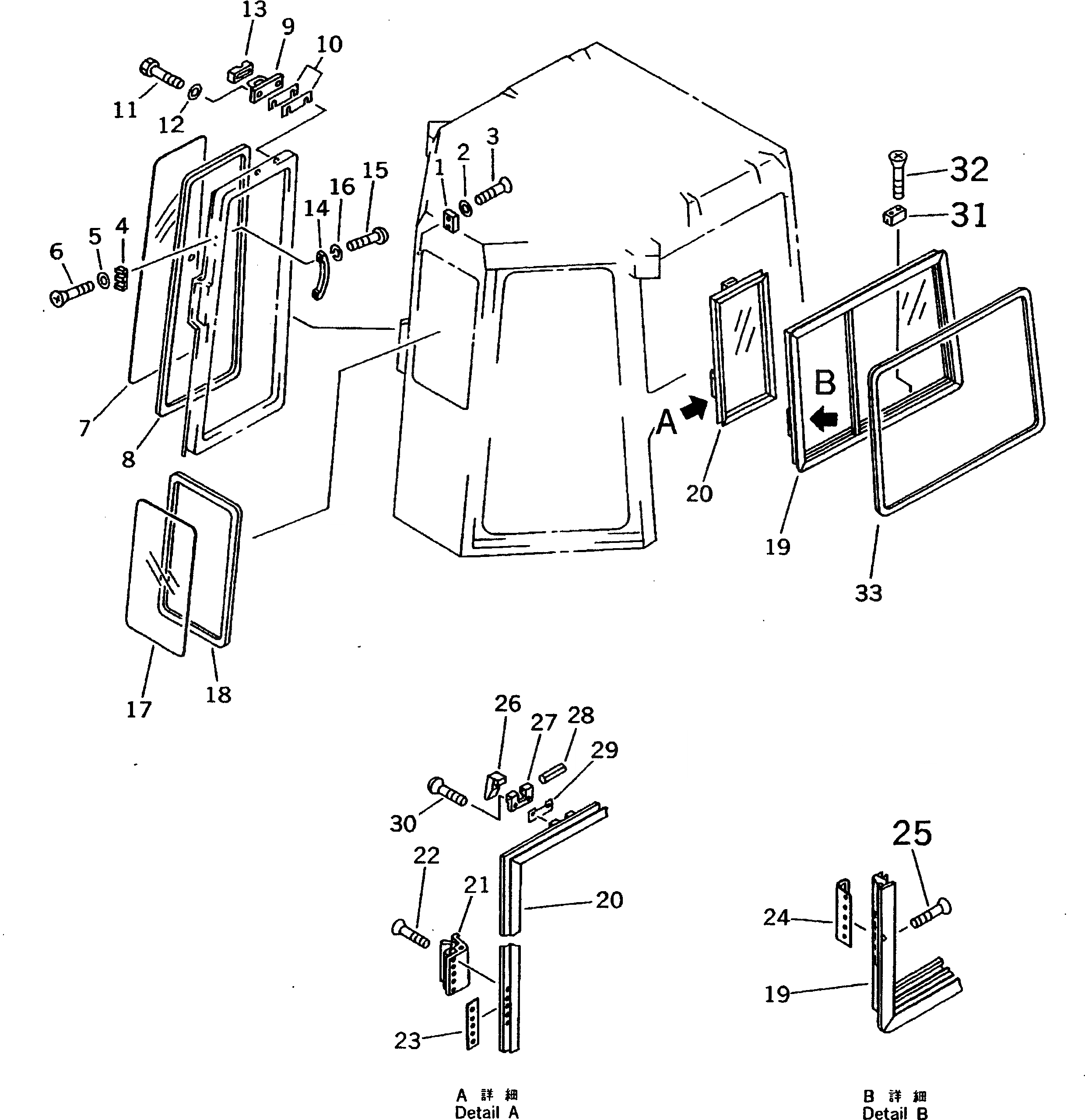
1

566-54-13410

STRIKER

SN: 10471-UP

2шт.

2

566-54-13570

WASHER

SN: 10471-UP

4шт.

3

195-Z11-1740

SCREW

SN: 10471-UP

4шт.

4

566-54-14420

STOPPER

SN: 10471-UP

2шт.

5

566-54-13570

WASHER

SN: 10471-UP

4шт.

6

195-Z11-1740

SCREW

SN: 10471-UP

4шт.

7

195-Z11-1220

GLASS

SN: 10471-UP

1шт.

8

195-Z11-1150

STRIP,WEATHER

SN: 10471-UP

1шт.

9

195-Z11-4860

BRACKET

SN: 10471-UP

1шт.

10

195-Z11-1480

SHIM¤ 1.6MM

SN: 10471-UP

2шт.

11

01010-81040

BOLT

SN: 10471-UP

2шт.

12

01643-31032

WASHER

SN: 10471-UP

2шт.

13

154-Z11-1350

RUBBER,R.H.

SN: 10471-UP

1шт.

14

195-Z11-1980

GRIP

SN: 10471-UP

1шт.

15

195-979-7710

SCREW

SN: 10471-UP

2шт.

16

01601-20513

WASHER

SN: 10471-UP

2шт.

17

195-Z11-1211

GLASS

SN: 10471-UP

1шт.

18

195-Z11-1161

STRIP,WEATHER

SN: 10471-UP

1шт.

|19

195-Z11-0040

WINDOW ASS'Y,L.H.

SN: 10471-UP

1шт.

19

195-Z11-4110

SASH ASS'Y,L.H.

SN: 10471-UP

1шт.

20

195-Z11-4120

SASH ASS'Y

SN: 10471-UP

1шт.

21

195-Z11-3650

LOCK ASS'Y

SN: 10471-UP

1шт.

22

01224-40408

SCREW

SN: 10471-UP

5шт.

23

195-Z11-3680

PLATE

SN: 10471-UP

1шт.

24

195-Z11-3660

PLATE

SN: 10471-UP

1шт.

25

01224-40510

SCREW

SN: 10471-UP

5шт.

|26

195-Z11-1371

LOCK ASS'Y

SN: 10471-UP

1шт.

26

195-Z11-3630

LEVER

SN: 10471-UP

1шт.

27

195-Z11-3640

PLATE

SN: 10471-UP

1шт.

28

195-Z11-3860

PIN

SN: 10471-UP

1шт.

29

195-Z11-3670

SHIM¤ 0.5MM

SN: 10471-UP

3шт.

30

01225-40512

SCREW

SN: 10471-UP

2шт.

31

195-Z11-1381

STOPPER

SN: 10471-UP

1шт.

32

01224-40316

SCREW

SN: 10471-UP

2шт.

33

195-Z11-1181

STRIP,WEATHER

SN: 10471-UP

1шт.

Выбрано товаров: 39