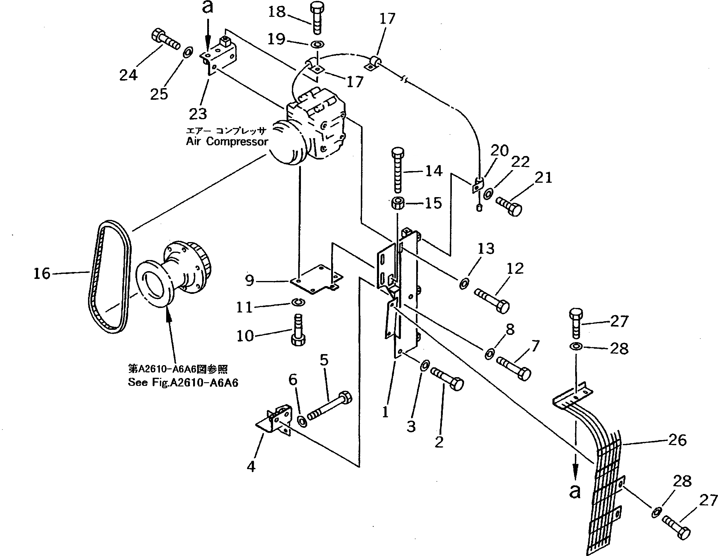
Запчасти Komatsu D275A-2 КОМПРЕССОР (/)(№-9) КОМПОНЕНТЫ ДВИГАТЕЛЯ

Схема запчастей Komatsu D275A-2 - КОМПРЕССОР (/)(№-9) КОМПОНЕНТЫ ДВИГАТЕЛЯ
FIT
1:1
100%

Артикул

Название

Примечание

Количество

1

17M-911-2891

BRACKET

SN: 10001-@

1шт.

2

01010-81030

BOLT

SN: 10001-@

2шт.

3

01643-31032

WASHER

SN: 10001-@

2шт.

4

195-Z11-7651

BRACKET

SN: 10001-@

1шт.

5

01010-81285

BOLT

SN: 10001-@

2шт.

6

01643-31232

WASHER

SN: 10001-@

2шт.

7

01010-81235

BOLT

SN: 10001-@

2шт.

8

01643-31232

WASHER

SN: 10001-@

2шт.

9

195-Z11-5150

PLATE

SN: 10001-10096

1шт.

10

01010-80835

BOLT

SN: 10001-10096

4шт.

11

01602-20825

WASHER

SN: 10001-10096

4шт.

12

01010-80825

BOLT

SN: 10001-@

4шт.

13

154-61-16570

WASHER

SN: 10001-@

4шт.

14

01016-31290

BOLT

SN: 10001-10096

1шт.

15

01580-11210

NUT

SN: 10001-10096

1шт.

16

04120-21748

V-BELT

SN: 10001-@

1шт.

17

08036-10810

CLIP

SN: 10001-10096

2шт.

18

01010-81020

BOLT

SN: 10001-10096

2шт.

19

01643-31032

WASHER

SN: 10001-10096

2шт.

20

21T-38-12270

CLIP

SN: 10001-@

1шт.

21

01010-81020

BOLT

SN: 10001-@

1шт.

22

01643-31032

WASHER

SN: 10001-@

1шт.

23

195-Z11-7780

BRACKET

SN: 10001-10096

1шт.

24

01010-80820

BOLT

SN: 10001-10096

2шт.

25

01643-30823

WASHER

SN: 10001-10096

2шт.

26

17M-911-2881

NET

SN: 10001-10096

1шт.

27

01010-81025

BOLT

SN: 10001-10096

4шт.

28

01643-31032

WASHER

SN: 10001-10096

4шт.

Выбрано товаров: 28