Запчасти Komatsu D275A-2 SPEED И F-R УПРАВЛ-Е СИЛОВАЯ ПЕРЕДАЧА И КОНЕЧНАЯ ПЕРЕДАЧА

Схема запчастей Komatsu D275A-2 - SPEED И F-R УПРАВЛ-Е СИЛОВАЯ ПЕРЕДАЧА И КОНЕЧНАЯ ПЕРЕДАЧА
FIT
1:1
100%

Артикул

Название

Примечание

Количество

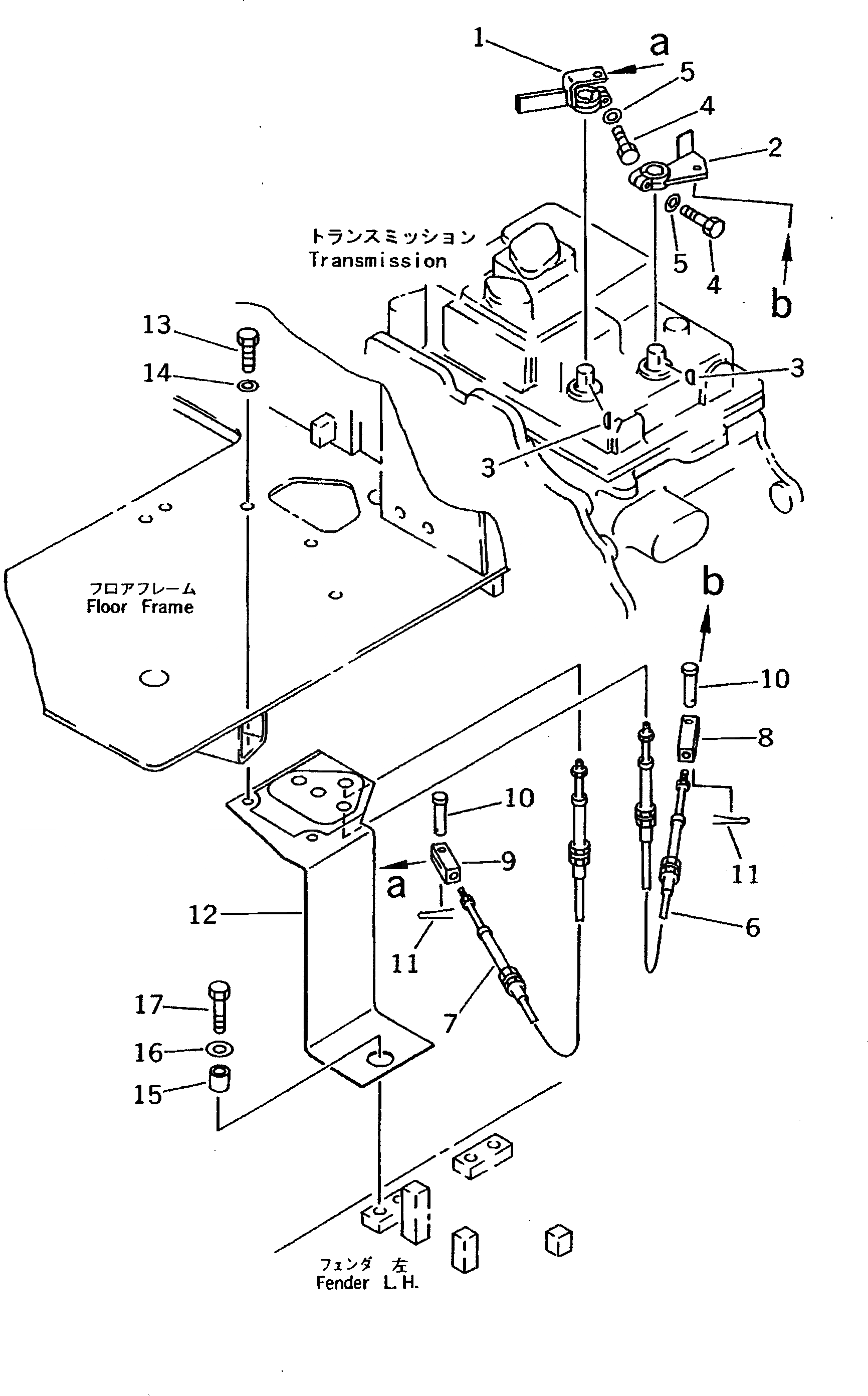
1

17M-43-23111

LEVER

SN: 10001-UP

1шт.

2

17M-43-23121

LEVER

SN: 10001-UP

1шт.

3

04010-00516

KEY

SN: 10001-UP

2шт.

4

01010-80830

BOLT

SN: 10001-UP

2шт.

5

01643-30823

WASHER

SN: 10001-UP

2шт.

6

195-43-43230

CABLE

SN: 10001-UP

1шт.

7

17M-43-13110

CABLE

SN: 10001-UP

1шт.

8

04210-20832

YOKE

SN: 10001-UP

1шт.

9

04211-20844

YOKE

SN: 10001-UP

1шт.

10

04205-10822

PIN

SN: 10001-UP

2шт.

11

04050-12015

PIN,COTTER

SN: 10001-UP

2шт.

12

17M-43-23161

BRACKET

SN: 10001-UP

1шт.

13

01010-81230

BOLT

SN: 10001-UP

2шт.

14

01643-31232

WASHER

SN: 10001-UP

2шт.

15

175-61-14490

SPACER

SN: 10001-UP

1шт.

16

175-54-34170

WASHER

SN: 10001-UP

1шт.

17

01010-81240

BOLT

SN: 10001-UP

1шт.

Выбрано товаров: 0