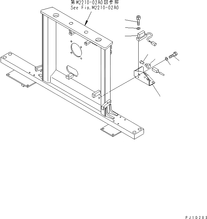
Запчасти Komatsu D275A-5 ДАТЧИК И КОРПУС (БЕЗ КОНТРОЛЯ ПРОСКАЛЬЗ-Я ГУСЕНИЦ)(№-7) ЭЛЕКТРИКА

Схема запчастей Komatsu D275A-5 - ДАТЧИК И КОРПУС (БЕЗ КОНТРОЛЯ ПРОСКАЛЬЗ-Я ГУСЕНИЦ)(№-7) ЭЛЕКТРИКА
1
2
3
4
5
6
7
8
FIT
1:1
100%

Артикул

Название

Примечание

Количество

1

195-06-71190

BRACKET

SN: 25001-@

1шт.

2

01010-81230

BOLT

SN: 25001-@

2шт.

3

01643-31232

WASHER

SN: 25001-@

2шт.

4

7861-93-5380

SENSOR,ANGLE

SN: 25001-@

1шт.

5

01252-60635

BOLT

SN: 25001-@

2шт.

6

01643-30623

WASHER

SN: 25001-@

2шт.

7

08192-14100

CONNECTOR

SN: 25001-@

1шт.

8

08191-00770

PLUG

SN: 25001-@

4шт.

Выбрано товаров: 8