Запчасти Komatsu D275A-5R ТОПЛИВН. БАК. (С БЫСТР. ЗАПРАВ.)(№-) ТОПЛИВН. БАК. AND КОМПОНЕНТЫ

Схема запчастей Komatsu D275A-5R - ТОПЛИВН. БАК. (С БЫСТР. ЗАПРАВ.)(№-) ТОПЛИВН. БАК. AND КОМПОНЕНТЫ
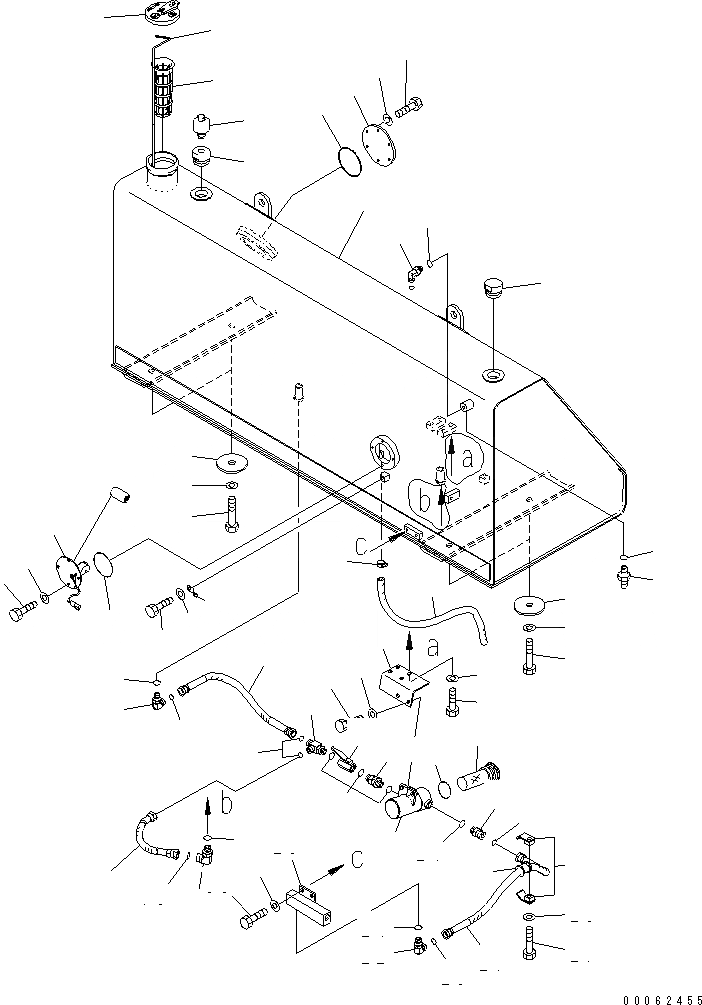
1
2
3
4
5
6
7
8
9
9
10
11
12
13
14
15
16
17
17
18
18
19
20
21
22
22
23
23
23
23
24
24
24
24
24
25
26
27
28
29
30
31
32
33
34
35
36
37
38
39
40
41
42
43
44
45
46
47
48
49
49
50
50
51
51
FIT
1:1
100%

Артикул

Название

Примечание

Количество

1

17M-04-42122

TANK

SN: 35001-UP

1шт.

2

195-04-31160

COVER

SN: 35001-UP

1шт.

3

07000-12115

O-RING

SN: 35001-UP

1шт.

4

01010-80820

BOLT

SN: 35001-UP

6шт.

5

01602-20825

WASHER

SN: 35001-UP

6шт.

6

195-04-14130

PLUG

SN: 35001-UP

1шт.

7

02781-00313

UNION

SN: 35001-UP

1шт.

8

02782-10313

ELBOW

SN: 35001-UP

1шт.

9

07002-11823

O-RING

SN: 35001-UP

2шт.

10

07260-21463

HOSE

SN: 35001-UP

1шт.

11

07281-00259

CLAMP

SN: 35001-UP

1шт.

12

17M-04-42430

PLATE

SN: 35001-UP

1шт.

13

01010-81225

BOLT

SN: 35001-UP

4шт.

14

01643-31232

WASHER

SN: 35001-UP

4шт.

15

02781-00516

UNION

SN: 35001-UP

1шт.

16

17A-04-41331

CONNECTOR

SN: 35001-UP

1шт.

17

419-62-33291

TEE

SN: 35001-UP

1шт.

18

14X-04-21620

VALVE

SN: 35001-UP

1шт.

19

02762-005A5

HOSE

SN: 35001-UP

1шт.

20

02764-005A4

HOSE

SN: 35001-UP

1шт.

21

02762-00508

HOSE

SN: 35001-UP

1шт.

22

02782-10516

ELBOW

SN: 35001-UP

3шт.

23

02896-11015

O-RING

SN: 35001-UP

6шт.

24

07002-12034

O-RING

SN: 35001-UP

6шт.

25

07094-10417

CLAMP

SN: 35001-UP

2шт.

26

07095-00423

CUSHION

SN: 35001-UP

1шт.

27

01010-81265

BOLT

SN: 35001-UP

1шт.

28

01643-31232

WASHER

SN: 35001-UP

1шт.

29

17M-04-41180

JOINT

SN: 35001-UP

1шт.

30

01010-81225

BOLT

SN: 35001-UP

2шт.

31

01643-31232

WASHER

SN: 35001-UP

2шт.

32

17M-04-42422

CASE

SN: 35001-UP

1шт.

33

195-04-11150

STRAINER

SN: 35001-UP

1шт.

34

07000-03065

O-RING

SN: 35001-UP

1шт.

35

01010-81230

BOLT

SN: 35001-UP

2шт.

36

01643-31232

WASHER

SN: 35001-UP

2шт.

37

7861-93-4930

SENSOR

SN: 35001-UP

1шт.

38

07000-12085

O-RING

SN: 35001-UP

1шт.

39

01010-81020

BOLT

SN: 35001-UP

4шт.

40

01643-31032

WASHER

SN: 35001-UP

4шт.

41

08193-21012

CLIP

SN: 35001-UP

1шт.

42

01010-81220

BOLT

SN: 35001-UP

1шт.

43

01643-31232

WASHER

SN: 35001-UP

1шт.

44

07056-18422

STRAINER

SN: 35001-UP

1шт.

45

17M-04-42541

GAUGE

SN: 35001-UP

1шт.

46

22U-60-21520

BREATHER

SN: 35001-UP

1шт.

47

17A-04-42150

ADAPTER

SN: 35001-UP

1шт.

48

17A-04-41411

CAP

SN: 35001-UP

1шт.

49

01011-82410

BOLT

SN: 35001-UP

4шт.

50

01643-32460

WASHER

SN: 35001-UP

4шт.

51

195-04-31150

PLATE

SN: 35001-UP

4шт.

Выбрано товаров: 51