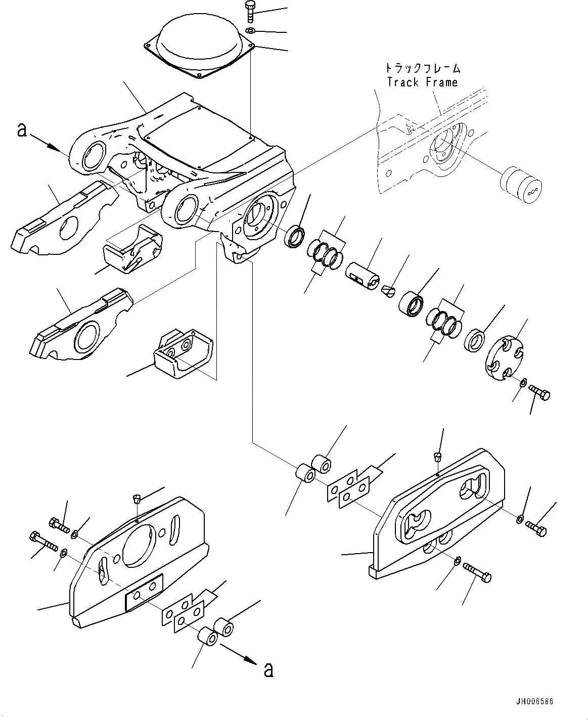
Запчасти Komatsu D275A-5R ГУСЕНИЧНАЯ РАМА, ЗАДН. ТЕЛЕЖКА, ПРАВ. (№-) ГУСЕНИЧНАЯ РАМА, С ПОЛН. LENGTH ЗАЩИТА ОПОРНЫХ КАТКОВ, ДЛЯ ОТВАЛ С ДВОЙН. ПЕРЕКОСОМ

Схема запчастей Komatsu D275A-5R - ГУСЕНИЧНАЯ РАМА, ЗАДН. ТЕЛЕЖКА, ПРАВ. (№-) ГУСЕНИЧНАЯ РАМА, С ПОЛН. LENGTH ЗАЩИТА ОПОРНЫХ КАТКОВ, ДЛЯ ОТВАЛ С ДВОЙН. ПЕРЕКОСОМ
11
12
7
8
9
10
12
11
13
18
22
21
21
2
3
14
6
4
15
16
24
25
17
19
20
1
5
23
23
24
21
21
25
22
19
20
17
18
FIT
1:1
100%

Артикул

Название

Примечание

Количество

|$0

17M-30-00920

Bogie Assembly

SN: 45001-UP

1шт.

1

17M-30-67380

Bogie

SN: 45001-UP

1шт.

2

17M-30-56130

Pad

SN: 45001-UP

1шт.

3

01010-81020

Bolt

SN: 45001-UP

4шт.

4

01643-31032

Washer

SN: 45001-UP

4шт.

5

17M-30-66271

Bogie

SN: 45001-UP

1шт.

6

17M-30-66281

Bogie

SN: 45001-UP

1шт.

6

17M-30-66201

Pin Assembly

SN: 45001-UP

2шт.

7

17M-30-66221

Ring

SN: 45001-UP

1шт.

8

17M-30-66230

Ring

SN: 45001-UP

1шт.

9

17M-30-66240

Ring

SN: 45001-UP

1шт.

10

17M-30-66250

Shaft

SN: 45001-UP

1шт.

10

17M-30-00500

Floating Seal Assembly

SN: 45001-UP

2шт.

11

Seal

SN: 45001-UP

2шт.

12

O-ring

SN: 45001-UP

2шт.

13

209-30-63150

Plug

SN: 45001-UP

1шт.

14

17M-30-66341

Cover

SN: 45001-UP

2шт.

15

01010-61640

Bolt

SN: 45001-UP

8шт.

16

01643-31645

Washer

SN: 45001-UP

8шт.

17

17M-30-67370

Guard

SN: 45001-UP

2шт.

18

07049-01012

Plug

SN: 45001-UP

2шт.

19

01010-63070

Bolt

SN: 45001-UP

4шт.

20

01643-33080

Washer

SN: 45001-UP

4шт.

21

17M-30-67390

Collar

SN: 45001-UP

4шт.

22

17M-30-57420

Plate

SN: 45001-UP

12шт.

23

17M-30-67132

Guide

SN: 45001-UP

2шт.

24

01011-62440

Bolt

SN: 45001-UP

4шт.

25

01643-32460

Washer

SN: 45001-UP

4шт.

Выбрано товаров: 28