Запчасти Komatsu D275AX-5 LIFT КАБИНА ОПЕРАТОРА И СИСТЕМА УПРАВЛЕНИЯ

Схема запчастей Komatsu D275AX-5 - LIFT КАБИНА ОПЕРАТОРА И СИСТЕМА УПРАВЛЕНИЯ
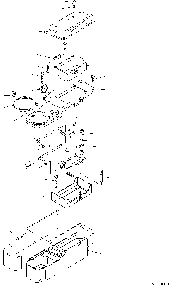
1
2
3
4
5
6
7
7
8
9
10
11
12
13
13
14
15
16
17
18
19
20
21
22
23
24
25
26
27
28
29
FIT
1:1
100%

Артикул

Название

Примечание

Количество

1

19M-43-33210

FRAME

SN: 20001-UP

1шт.

2

19M-43-33220

FINISHER

SN: 20001-UP

1шт.

3

19M-43-33230

PAD

SN: 20001-UP

1шт.

4

14X-43-34341

COVER

SN: 20001-UP

1шт.

|$75

19M-43-33610

LIFT ASS'Y

SN: 20001-UP

1шт.

5

19M-43-33710

BRACKET

SN: 20001-UP

1шт.

6

19M-43-33720

BRACKET

SN: 20001-UP

1шт.

7

19M-43-33730

ARM

SN: 20001-UP

2шт.

8

19M-43-33740

BLOCK

SN: 20001-UP

2шт.

9

19M-43-33750

PIN

SN: 20001-UP

4шт.

10

19M-43-33760

BUSHING

SN: 20001-UP

4шт.

11

19M-43-33770

KNOB

SN: 20001-UP

1шт.

12

19M-43-33780

PLATE

SN: 20001-UP

1шт.

13

19M-43-34330

BUSHING

SN: 20001-UP

4шт.

14

01023-60516

SCREW

SN: 20001-UP

4шт.

15

01252-80410

BOLT

SN: 20001-UP

2шт.

16

01252-80510

BOLT

SN: 20001-UP

4шт.

17

01601-20410

WASHER

SN: 20001-UP

2шт.

18

01601-20512

WASHER

SN: 20001-UP

4шт.

|$90

19M-43-33620

ARM REST

SN: 20001-UP

1шт.

19

19M-43-33630

PAD

SN: 20001-UP

1шт.

20

19M-43-33650

BOX

SN: 20001-UP

1шт.

21

19M-43-33660

HINGE

SN: 20001-UP

2шт.

22

01224-70408

SCREW

SN: 20001-UP

14шт.

23

01580-60403

NUT

SN: 20001-UP

2шт.

24

01601-20410

WASHER

SN: 20001-UP

2шт.

25

01023-70414

SCREW

SN: 20001-UP

4шт.

26

01023-10516

SCREW

SN: 20001-UP

6шт.

27

7825-30-1301

DIAL

SN: 20001-UP

1шт.

28

01220-40408

SCREW

SN: 20001-UP

2шт.

29

01641-20405

WASHER

SN: 20001-UP

2шт.

Выбрано товаров: 0