Запчасти Komatsu D275AX-5 РАДИАТОР ЧАСТИ КОРПУСА

Схема запчастей Komatsu D275AX-5 - РАДИАТОР ЧАСТИ КОРПУСА
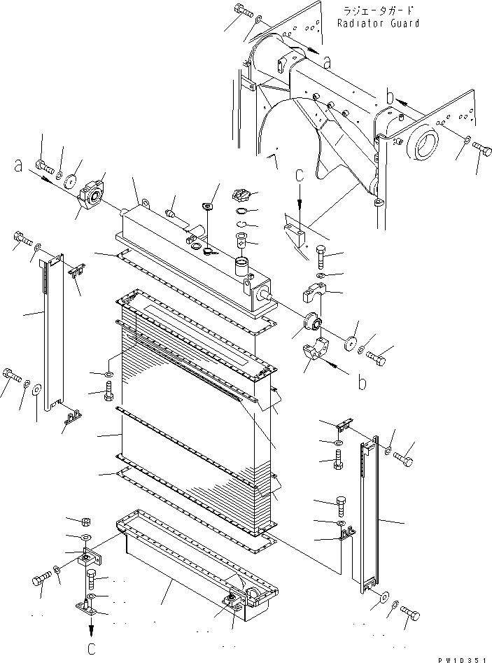
1
2
3
4
4
5
5
6
6
6
6
7
8
8
8
9
9
9
10
11
12
12
13
13
14
14
15
15
16
16
17
18
19
20
21
22
23
23
24
24
25
25
26
27
27
28
28
29
30
31
31
32
32
33
33
34
34
35
36
37
37
38
38
FIT
1:1
100%

Артикул

Название

Примечание

Количество

|$33

17M-03-41101

RADIATOR

SN: 20001-UP

1шт.

1

17M-03-41111

CORE

SN: 20001-UP

1шт.

2

17M-03-41121

TANK,UPPER

SN: 20001-UP

1шт.

3

17M-03-41131

TANK,LOWER

SN: 20001-UP

1шт.

4

17M-03-41140

GASKET

SN: 20001-UP

2шт.

5

17M-03-41150

PLATE

SN: 20001-UP

4шт.

6

17M-03-41170

BRACKET

SN: 20001-UP

4шт.

7

17M-03-44130

WIND BREAK

SN: 20001-UP

1шт.

8

01010-81035

BOLT

SN: 20001-UP

108шт.

9

01643-31032

WASHER

SN: 20001-UP

108шт.

10

17M-03-44161

WIND BREAK,L.H.

SN: 20001-UP

1шт.

11

17M-03-44171

WIND BREAK,R.H.

SN: 20001-UP

1шт.

12

01010-81020

BOLT

SN: 20001-UP

4шт.

13

01643-31032

WASHER

SN: 20001-UP

4шт.

14

01010-81020

BOLT

SN: 20001-UP

4шт.

15

21T-62-29640

WASHER

SN: 20001-UP

4шт.

16

144-854-1890

WASHER

SN: 20001-UP

4шт.

17

201-03-51310

CAP

SN: 20001-UP

1шт.

18

07053-10000

CAP

SN: 20001-UP

1шт.

19

07053-00002

GASKET

SN: 20001-UP

1шт.

20

07057-03271

RING,SNAP

SN: 20001-UP

1шт.

21

07056-00048

STRAINER

SN: 20001-UP

1шт.

22

17A-03-11281

RUBBER

SN: 20001-UP

2шт.

23

01010-81225

BOLT

SN: 20001-UP

2шт.

24

01643-31232

WASHER

SN: 20001-UP

2шт.

25

565-43-14630

SPACER

SN: 20001-UP

2шт.

26

07042-30108

PLUG

SN: 20001-UP

1шт.

27

17M-03-41280

CAP

SN: 20001-UP

2шт.

28

17M-03-41290

BRACKET

SN: 20001-UP

2шт.

29

01010-62090

BOLT

SN: 20001-UP

4шт.

30

01643-32060

WASHER

SN: 20001-UP

4шт.

31

01010-62050

BOLT

SN: 20001-UP

6шт.

32

01643-32060

WASHER

SN: 20001-UP

6шт.

33

195-03-41200

ISOLATOR ASS'Y

SN: 20001-UP

2шт.

34

17A-03-11271

BRACKET

SN: 20001-UP

2шт.

35

01580-11210

NUT

SN: 20001-UP

2шт.

36

175-54-34170

WASHER

SN: 20001-UP

2шт.

37

01010-81235

BOLT

SN: 20001-UP

8шт.

38

01643-31232

WASHER

SN: 20001-UP

8шт.

Выбрано товаров: 39