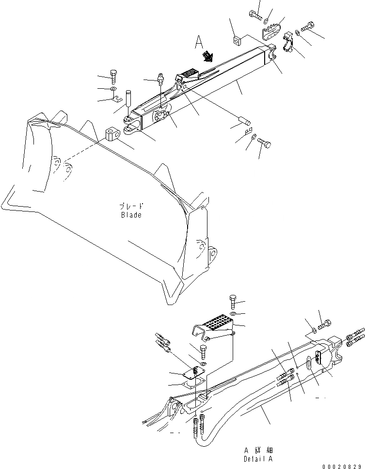
Запчасти Komatsu D275AX-5 ПРЯМ. ОТВАЛ И D.T.P.D РАМА И ТРУБЫ (ПРАВ.) РАБОЧЕЕ ОБОРУДОВАНИЕ

Схема запчастей Komatsu D275AX-5 - ПРЯМ. ОТВАЛ И D.T.P.D РАМА И ТРУБЫ (ПРАВ.) РАБОЧЕЕ ОБОРУДОВАНИЕ
1
1
2
3
4
5
6
7
8
9
10
11
12
13
14
15
16
17
18
19
20
21
22
23
24
24
25
25
25
25
26
27
28
29
30
31
32
33
34
35
FIT
1:1
100%

Артикул

Название

Примечание

Количество

1

17M-71-41341

FRAME,R.H.

SN: 20001-UP

1шт.

2

17M-71-41190

BRACKET,R.H. (WELDED)

SN: 20001-UP

1шт.

3

17M-71-41221

BRACKET,R.H. (WELDED)

SN: 20001-UP

1шт.

4

17M-71-41361

BRACKET,R.H. (WELDED)

SN: 20001-UP

1шт.

5

17M-71-41951

BRACKET (WELDED)

SN: 20001-UP

1шт.

6

17M-71-41971

CAP

SN: 20001-UP

1шт.

7

561-88-48950

BOLT

SN: 20001-UP

4шт.

8

175-71-11520

NUT

SN: 20001-UP

4шт.

9

01643-32260

WASHER

SN: 20001-UP

4шт.

10

17M-71-21380

JOINT

SN: 20001-UP

1шт.

11

17M-71-21390

PIN

SN: 20001-UP

1шт.

12

17M-71-41610

LOCK

SN: 20001-UP

1шт.

13

01010-61640

BOLT

SN: 20001-UP

4шт.

14

01643-31645

WASHER

SN: 20001-UP

4шт.

15

17M-71-21720

PIN

SN: 20001-UP

1шт.

16

17M-71-21730

LOCK

SN: 20001-UP

1шт.

17

01010-61640

BOLT

SN: 20001-UP

2шт.

18

01643-31645

WASHER

SN: 20001-UP

2шт.

19

07020-00000

FITTING,GREASE

SN: 20001-UP

1шт.

20

17M-71-42341

FLANGE

SN: 20001-UP

1шт.

21

17M-71-22251

GASKET

SN: 20001-UP

1шт.

22

01010-81230

BOLT

SN: 20001-UP

2шт.

23

01643-31232

WASHER

SN: 20001-UP

2шт.

24

17M-71-42351

HOSE

SN: 20001-UP

2шт.

25

02896-11015

O-RING

SN: 20001-UP

4шт.

26

17M-71-42481

FLANGE

SN: 20001-UP

1шт.

27

195-71-62121

GASKET

SN: 20001-UP

1шт.

28

01010-81225

BOLT

SN: 20001-UP

4шт.

29

01643-31232

WASHER

SN: 20001-UP

4шт.

30

17M-71-41920

COVER

SN: 20001-UP

1шт.

31

01010-62050

BOLT

SN: 20001-UP

6шт.

32

01643-32060

WASHER

SN: 20001-UP

6шт.

33

17M-71-42461

COVER

SN: 20001-UP

1шт.

34

01010-61635

BOLT

SN: 20001-UP

4шт.

35

01643-31645

WASHER

SN: 20001-UP

4шт.

Выбрано товаров: 35