Запчасти Komatsu D275AX-5E0 ЗАЩИТА РАДИАТОРА(№-) ЧАСТИ КОРПУСА

Схема запчастей Komatsu D275AX-5E0 - ЗАЩИТА РАДИАТОРА(№-) ЧАСТИ КОРПУСА
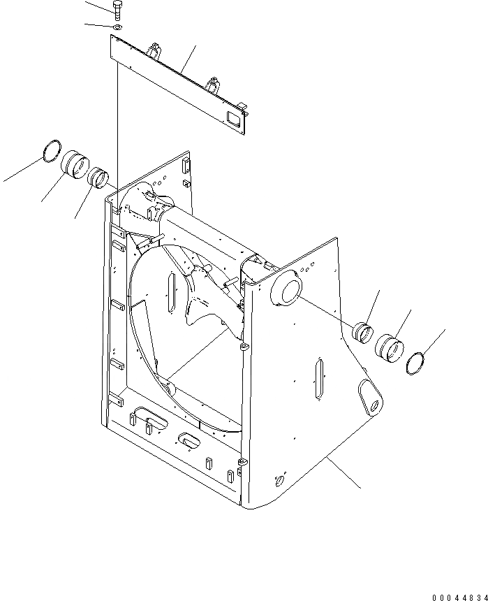
1
2
3
4
5
5
6
6
7
7
FIT
1:1
100%

Артикул

Название

Примечание

Количество

1

17M-54-51111

GUARD

SN: 30001-UP

1шт.

2

17M-54-51321

BRACKET

SN: 30001-UP

1шт.

3

01010-81230

BOLT

SN: 30001-UP

2шт.

4

01643-31232

WASHER

SN: 30001-UP

2шт.

5

17M-61-21120

BUSHING

SN: 30001-UP

2шт.

6

17M-61-21130

BUSHING

SN: 30001-UP

2шт.

7

07145-00140

SEAL

SN: 30001-UP

2шт.

Выбрано товаров: 7