Запчасти Komatsu D275AX-5E0 ЗАЩИТА РАДИАТОРА (COVER) (ДЛЯ LANDFILL) (УСИЛ. ЭЛЕКТРОПРОВОДКА)(№-) ЧАСТИ КОРПУСА

Схема запчастей Komatsu D275AX-5E0 - ЗАЩИТА РАДИАТОРА (COVER) (ДЛЯ LANDFILL) (УСИЛ. ЭЛЕКТРОПРОВОДКА)(№-) ЧАСТИ КОРПУСА
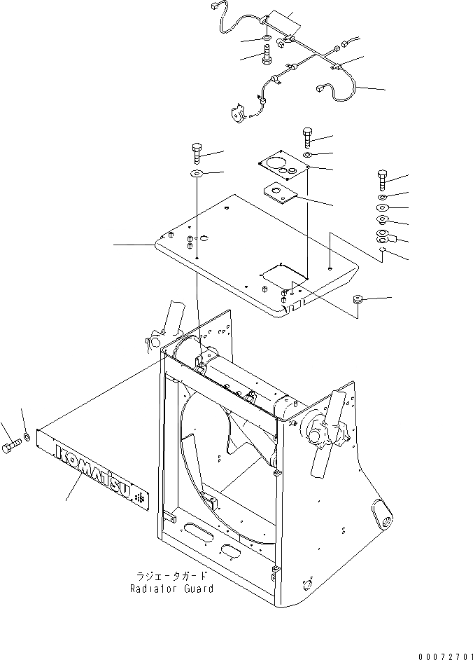
1
2
3
4
4
5
6
7
8
8
9
10
11
12
13
14
15
16
17
18
19
20
FIT
1:1
100%

Артикул

Название

Примечание

Количество

1

17M-54-52620

COVER

SN: 30001-UP

1шт.

2

09415-01610

CAP

SN: 30001-UP

2шт.

3

17M-06-44310

WIRING HARNESS

SN: 30001-UP

1шт.

4

04434-51012

CLIP

SN: 30001-UP

3шт.

5

01010-81220

BOLT

SN: 30001-UP

3шт.

6

01643-31232

WASHER

SN: 30001-UP

3шт.

7

01010-81235

BOLT

SN: 30001-UP

4шт.

8

175-54-34170

WASHER

SN: 30001-UP

4шт.

9

01010-81235

BOLT

SN: 30001-UP

2шт.

10

01643-31232

WASHER

SN: 30001-UP

2шт.

11

175-54-27350

SPRING

SN: 30001-UP

4шт.

12

15B-54-14220

COLLAR

SN: 30001-UP

2шт.

13

175-54-28770

RING

SN: 30001-UP

2шт.

14

17M-54-52630

COVER

SN: 30001-UP

1шт.

15

17M-54-57110

SEAL

SN: 30001-UP

1шт.

16

01010-81220

BOLT

SN: 30001-UP

4шт.

17

01643-31232

WASHER

SN: 30001-UP

4шт.

18

17M-54-41252

MARK PLATE

SN: 30001-UP

1шт.

19

195-54-43260

BOLT

SN: 30001-UP

8шт.

20

198-911-3160

WASHER

SN: 30001-UP

8шт.

Выбрано товаров: 20