Запчасти Komatsu D30AM-17 МАСЛООХЛАДИТЕЛЬ И ТРУБЫ КОМПОНЕНТЫ ДВИГАТЕЛЯ И ЭЛЕКТРИКА

Схема запчастей Komatsu D30AM-17 - МАСЛООХЛАДИТЕЛЬ И ТРУБЫ КОМПОНЕНТЫ ДВИГАТЕЛЯ И ЭЛЕКТРИКА
FIT
1:1
100%

Артикул

Название

Примечание

Количество

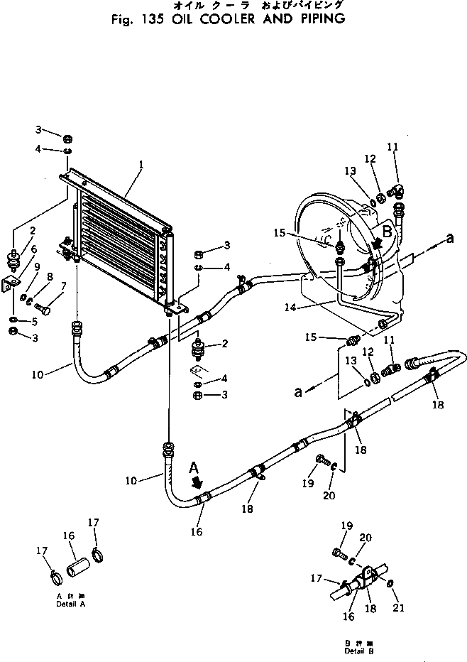
1

113-49-31111

COOLER

SN: 32001-UP

1шт.

2

154-06-13910

ISOLATOR

SN: 32001-UP

3шт.

3

01582-21008

NUT

SN: 32001-UP

6шт.

4

01602-21030

WASHER

SN: 32001-UP

5шт.

5

01643-31032

WASHER

SN: 32001-UP

1шт.

6

113-49-31160

PLATE

SN: 32001-UP

1шт.

7

01010-51025

BOLT

SN: 32001-UP

1шт.

8

01602-21030

WASHER

SN: 32001-UP

1шт.

9

01643-31032

WASHER

SN: 32001-UP

1шт.

10

07102-20418

HOSE

SN: 32001-UP

2шт.

11

07232-10422

ELBOW

SN: 32001-UP

2шт.

12

07239-12009

NUT

SN: 32001-UP

2шт.

13

07002-02034

O-RING

SN: 32001-UP

2шт.

14

112-49-41110

TUBE

SN: 32001-UP

1шт.

15

07213-51013

CONNECTOR

SN: 32001-UP

2шт.

16

113-06-23220

COVER

SN: 32001-UP

10шт.

17

08034-00519

BAND

SN: 32001-UP

20шт.

18

08036-03014

CLIP

SN: 32001-UP

6шт.

19

01010-51020

BOLT

SN: 32001-UP

6шт.

20

01602-21030

WASHER

SN: 32001-UP

6шт.

21

01643-31032

WASHER

SN: 32001-UP

1шт.

Выбрано товаров: 21