Запчасти Komatsu D30AM-17 ОТВАЛ РАБОЧЕЕ ОБОРУДОВАНИЕ

Схема запчастей Komatsu D30AM-17 - ОТВАЛ РАБОЧЕЕ ОБОРУДОВАНИЕ
FIT
1:1
100%

Артикул

Название

Примечание

Количество

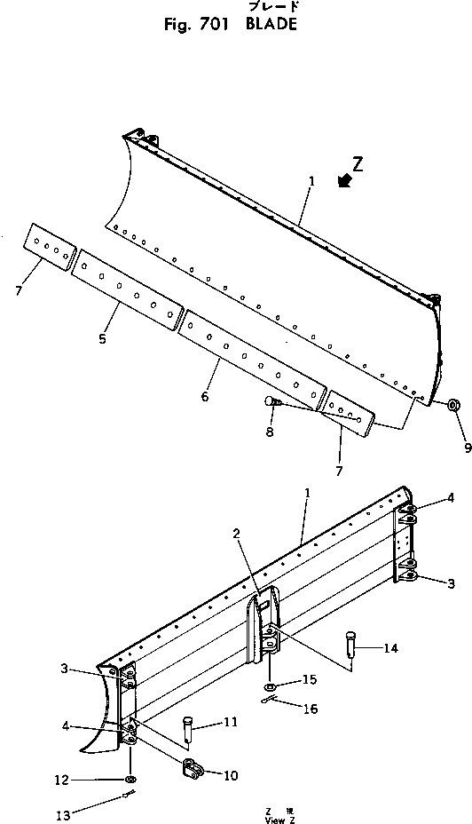
1

114-Y40-1100

BLADE ASS'Y

SN: 32001-UP

1шт.

2

11G-Z26-1121

BRACKET (WELDED)

SN: 32001-UP

1шт.

3

113-Z40-2120

BRACKET (WELDED)

SN: 32001-UP

2шт.

4

113-Z40-2130

BRACKET (WELDED)

SN: 32001-UP

2шт.

5

12F-70-31261

EDGE,CUTTING

SN: 32001-UP

1шт.

6

12F-70-31281

EDGE,CUTTING

SN: 32001-UP

1шт.

7

112-946-1510

BIT,END

SN: 32001-UP

2шт.

8

02090-11050

BOLT

SN: 32001-UP

22шт.

9

02290-11016

NUT

SN: 32001-UP

22шт.

10

112-70-11221

JOINT

SN: 32001-UP

4шт.

11

112-70-11190

PIN

SN: 32001-UP

4шт.

12

01640-23550

WASHER

SN: 32001-UP

4шт.

13

04050-06050

PIN

SN: 32001-UP

4шт.

14

112-70-11570

PIN

SN: 32001-UP

1шт.

15

01640-23950

WASHER

SN: 32001-UP

1шт.

16

04050-10060

PIN

SN: 32001-UP

1шт.

Выбрано товаров: 0