Запчасти Komatsu D30AM-17 ПРЯМ. ОТВАЛ ОТВАЛ МЕХАНИЗМ РАБОЧЕЕ ОБОРУДОВАНИЕ

Схема запчастей Komatsu D30AM-17 - ПРЯМ. ОТВАЛ ОТВАЛ МЕХАНИЗМ РАБОЧЕЕ ОБОРУДОВАНИЕ
FIT
1:1
100%

Артикул

Название

Примечание

Количество

|$0

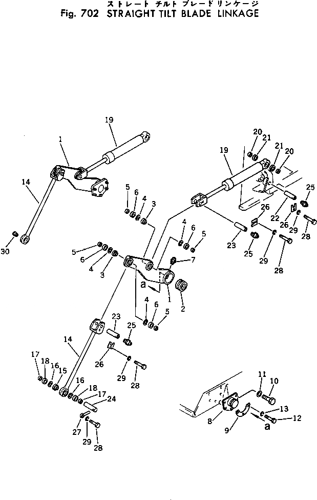
11G-71-00100

LEVER ASS'Y,L.H.

SN: 32001-UP

1шт.

|$1

11G-71-00110

LEVER ASS'Y,R.H.

SN: 32001-UP

1шт.

1

0

LEVER,L.H.

SN: 32001-UP

1шт.

1

0

LEVER,R.H.

SN: 32001-UP

1шт.

2

11G-71-31550

BUSHING

SN: 32001-UP

1шт.

3

114-72-21930

BEARING

SN: 32001-UP

4шт.

4

04065-06220

RING

SN: 32001-UP

8шт.

5

114-72-21940

COLLAR

SN: 32001-UP

8шт.

6

114-72-21960

BUSHING

SN: 32001-UP

8шт.

7

07020-00000

FITTING

SN: 32001-UP

2шт.

8

11G-71-31540

TRUNNION

SN: 32001-UP

2шт.

9

11G-71-31570

PLATE

SN: 32001-UP

4шт.

10

01010-31640

BOLT

SN: 32001-UP

10шт.

11

01643-31645

WASHER

SN: 32001-UP

10шт.

12

01010-31020

BOLT

SN: 32001-UP

12шт.

13

01602-01030

WASHER

SN: 32001-UP

12шт.

14

11G-Z26-1441

ROD

SN: 32001-UP

2шт.

15

114-72-21930

BEARING

SN: 32001-UP

2шт.

16

04065-06220

RING

SN: 32001-UP

4шт.

17

114-72-21940

COLLAR

SN: 32001-UP

4шт.

18

114-72-21960

BUSHING

SN: 32001-UP

4шт.

19

11G-63-13500

CYLINDER ASS'Y,L.H.

SN: 32001-UP

1шт.

19

11G-63-13600

CYLINDER ASS'Y,R.H.

SN: 32001-UP

1шт.

20

114-72-21940

COLLAR

SN: 32001-UP

4шт.

21

114-72-21960

BUSHING

SN: 32001-UP

4шт.

22

114-72-21851

PIN

SN: 32001-UP

2шт.

23

11G-71-31610

PIN

SN: 32001-UP

4шт.

24

114-72-21830

PIN

SN: 32001-UP

2шт.

25

07020-00000

FITTING

SN: 32001-UP

8шт.

26

114-72-21860

LOCK

SN: 32001-UP

6шт.

27

114-72-21970

PIN

SN: 32001-UP

2шт.

28

01010-31030

BOLT

SN: 32001-UP

8шт.

29

01602-01030

WASHER

SN: 32001-UP

8шт.

30

07043-00108

PLUG

SN: 32001-UP

2шт.

Выбрано товаров: 34