Запчасти Komatsu D30AM-17 ГУСЕНИЧНАЯ РАМА ГУСЕНИЦЫ

Схема запчастей Komatsu D30AM-17 - ГУСЕНИЧНАЯ РАМА ГУСЕНИЦЫ
FIT
1:1
100%

Артикул

Название

Примечание

Количество

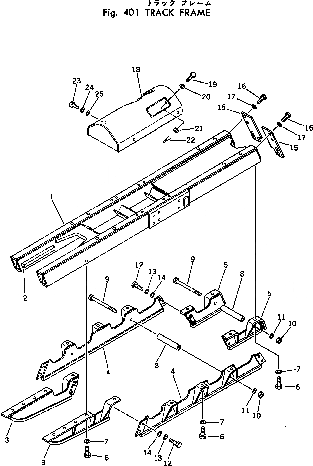
1

11G-30-31130

FRAME,L.H.

SN: 32001-UP

1шт.

|1

11G-30-31140

FRAME,R.H.

SN: 32001-UP

1шт.

2

112-30-21150

PLATE (WELDED)

SN: 32001-UP

2шт.

3

11G-30-22111

GUARD,OUTER¤ L.H. AND INNER¤ R.H.

SN: 32001-UP

2шт.

|3

11G-30-22121

GUARD,INNER¤ L.H. AND OUTER¤ R.H.

SN: 32001-UP

2шт.

4

11G-30-22211

GUARD

SN: 32001-UP

4шт.

5

11G-30-22132

GUARD,OUTER¤ L.H. AND INNER¤ R.H.

SN: 32001-UP

2шт.

|5

11G-30-22142

GUARD,INNER¤ L.H. AND OUTER¤ R.H.

SN: 32001-UP

2шт.

6

01010-31640

BOLT

SN: 32001-UP

40шт.

7

01643-31645

WASHER

SN: 32001-UP

40шт.

8

111-30-32160

TUBE

SN: 32001-UP

6шт.

9

09205-16230

BOLT

SN: 32001-UP

6шт.

10

01580-11613

NUT

SN: 32001-UP

6шт.

11

01643-31645

WASHER

SN: 32001-UP

6шт.

12

01010-31430

BOLT

SN: 32001-UP

16шт.

13

01602-01442

WASHER

SN: 32001-UP

16шт.

14

01643-31445

WASHER

SN: 32001-UP

16шт.

15

113-30-22151

PLATE

SN: 32001-UP

4шт.

16

01010-31640

BOLT

SN: 32001-UP

16шт.

17

01643-31645

WASHER

SN: 32001-UP

16шт.

18

113-30-37110

COVER,L.H.

SN: 32001-UP

1шт.

|18

113-30-37120

COVER,R.H.

SN: 32001-UP

1шт.

19

141-30-17160

BOLT

SN: 32001-UP

2шт.

20

01640-21016

WASHER

SN: 32001-UP

2шт.

21

01641-21016

WASHER

SN: 32001-UP

2шт.

22

04050-03015

PIN

SN: 32001-UP

2шт.

23

01010-31025

BOLT

SN: 32001-UP

8шт.

24

01602-01030

WASHER

SN: 32001-UP

8шт.

25

01643-31032

WASHER

SN: 32001-UP

8шт.

Выбрано товаров: 0