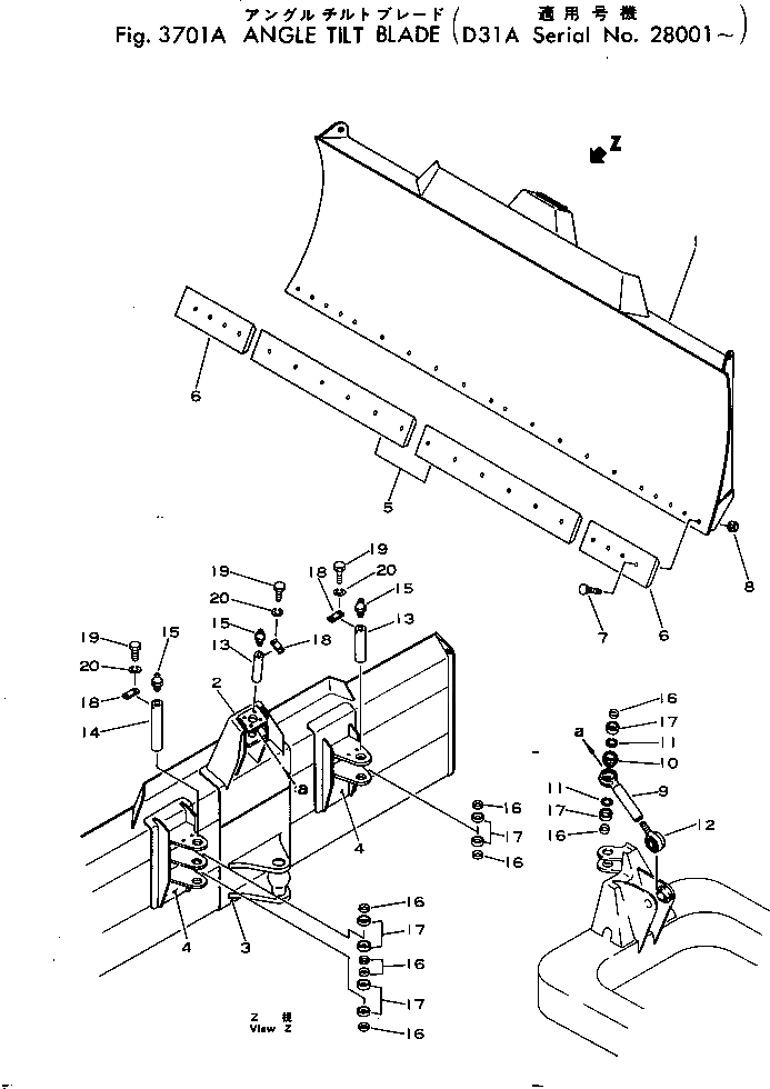
Запчасти Komatsu D31A-16 ANGLE НАКЛОН. ОТВАЛ(№8-) РАБОЧЕЕ ОБОРУДОВАНИЕ

Схема запчастей Komatsu D31A-16 - ANGLE НАКЛОН. ОТВАЛ(№8-) РАБОЧЕЕ ОБОРУДОВАНИЕ
FIT
1:1
100%

Артикул

Название

Примечание

Количество

1

114-72-23100

BLADE

SN: 28001-UP

1шт.

2

114-72-23150

BRACKET

SN: 28001-UP

1шт.

3

114-72-23120

BRACKET

SN: 28001-UP

1шт.

4

114-72-23130

BRACKET,L.H.

SN: 28001-UP

1шт.

4

114-72-23140

BRACKET,R.H.

SN: 28001-UP

1шт.

5

114-72-21140

EDGE

SN: 25001-UP

2шт.

6

112-946-1510

BIT

SN: 25001-UP

2шт.

7

02090-11050

BOLT

SN: 25001-UP

20шт.

8

02290-11016

NUT

SN: 25001-UP

20шт.

9

114-72-23310

BRACE

SN: 28001-UP

1шт.

10

114-72-21930

BEARING

SN: 28001-UP

1шт.

11

04065-06220

RING

SN: 28001-UP

2шт.

12

114-72-23340

SCREW

SN: 28001-UP

1шт.

13

114-72-23420

PIN

SN: 28001-UP

2шт.

14

114-72-23410

PIN

SN: 28001-UP

1шт.

15

07020-00000

FITTING

SN: 28001-UP

3шт.

16

114-72-21950

COLLAR

SN: 28001-UP

8шт.

17

114-72-23450

BUSHING

SN: 28001-UP

8шт.

18

04082-00212

LOCK

SN: 28001-UP

3шт.

19

01010-31225

BOLT

SN: 28001-UP

6шт.

20

01602-01236

WASHER

SN: 28001-UP

6шт.

Выбрано товаров: 21