Запчасти Komatsu D31A-16 СТАЛЬНАЯ КАБИНА И КРЕПЛЕНИЕ ОПЦИОННЫЕ КОМПОНЕНТЫ

Схема запчастей Komatsu D31A-16 - СТАЛЬНАЯ КАБИНА И КРЕПЛЕНИЕ ОПЦИОННЫЕ КОМПОНЕНТЫ
FIT
1:1
100%

Артикул

Название

Примечание

Количество

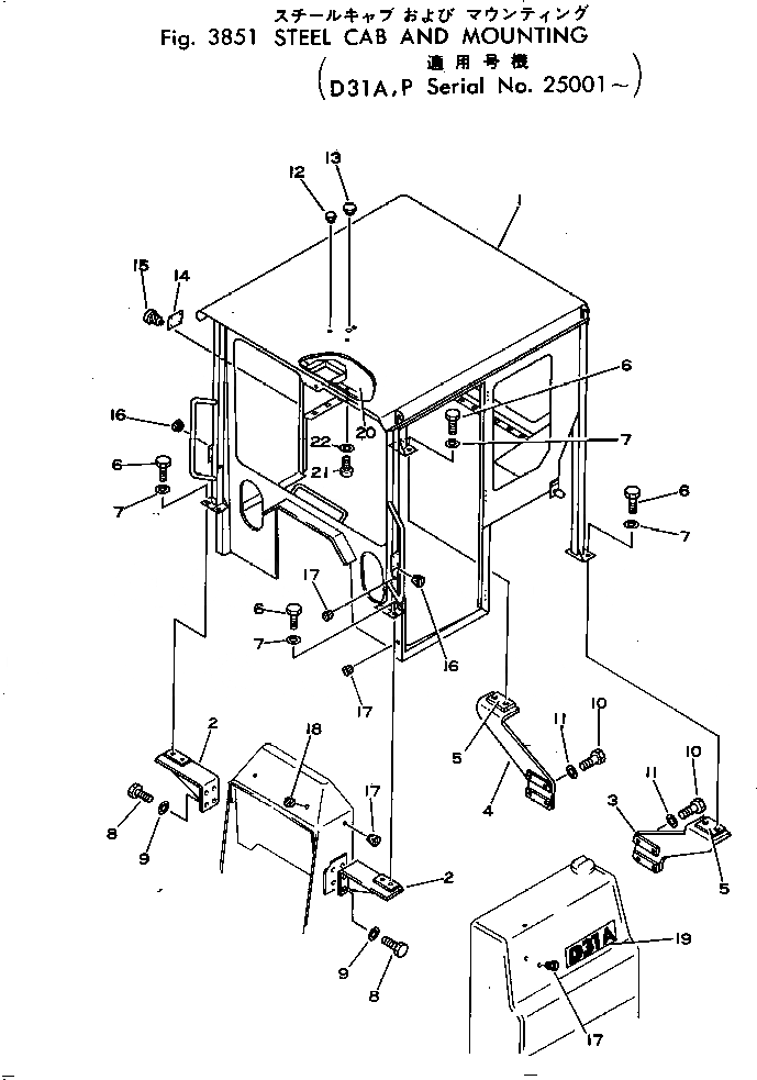
1

114-Z11-1110

CAB

SN: 25001-UP

1шт.

2

114-Z11-2110

BRACKET

SN: 25001-UP

2шт.

3

113-Z11-2210

BRACKET

SN: 25001-UP

1шт.

4

113-Z11-2220

BRACKET

SN: 25001-UP

1шт.

5

113-Z11-2130

SEAT

SN: 25001-UP

4шт.

6

01010-51635

BOLT

SN: 25001-UP

8шт.

7

01643-31645

WASHER

SN: 25001-UP

8шт.

8

01010-51640

BOLT

SN: 25001-UP

8шт.

9

01643-31645

WASHER

SN: 25001-UP

8шт.

10

01010-51660

BOLT

SN: 25001-UP

8шт.

11

01643-31645

WASHER

SN: 25001-UP

8шт.

12

130-911-1640

PLUG

SN: 25001-UP

3шт.

13

130-911-1660

PLUG

SN: 25001-UP

1шт.

14

09601-00835

PLATE, NAME,(LIMITED SUPPLY)

SN: 25001-UP

1шт.

15

04418-13060

SCREW

SN: 25001-UP

4шт.

16

07049-01012

PLUG

SN: 25001-UP

8шт.

17

07049-01012

PLUG

SN: 25001-UP

10шт.

18

07049-01418

PLUG

SN: 25001-UP

2шт.

19

114-98-21120

PLATE, MARK

SN: 25001-UP

2шт.

20

113-Z11-1250

COVER

SN: 25001-UP

1шт.

21

01370-00616

SCREW

SN: 25001-UP

20шт.

22

01642-20608

WASHER

SN: 25001-UP

20шт.

Выбрано товаров: 22